申請日2017.09.28
公開(公告)日2017.12.22
IPC分類號C02F9/04
摘要
本發明涉及一種污水處理裝置,尤其涉及一種小型生活污水處理裝置。本發明要解決的技術問題是提供一種耗電量小,占地面積小,使用方便的小型生活污水處理裝置。為了解決上述技術問題,本發明提供了這樣一種小型生活污水處理裝置,包括有第一箱體、水箱、水泵等;第一箱體右側設有水箱,水箱頂部中心開有第一開口,第一箱體內底部右側設有水泵,水泵出水端連接有硬質管,硬質管穿過第一箱體右壁和水箱左壁,第一箱體內左右兩壁之間設有濾網,濾網位于水泵上方。本發明達到了耗電量小,占地面積小,使用方便的效果,過濾槽能對污水進行初步過濾,將較大的物體進行過濾,攪拌裝置能加快絮凝劑對污水的作用速度,提高裝置對污水的處理速度。
權利要求書
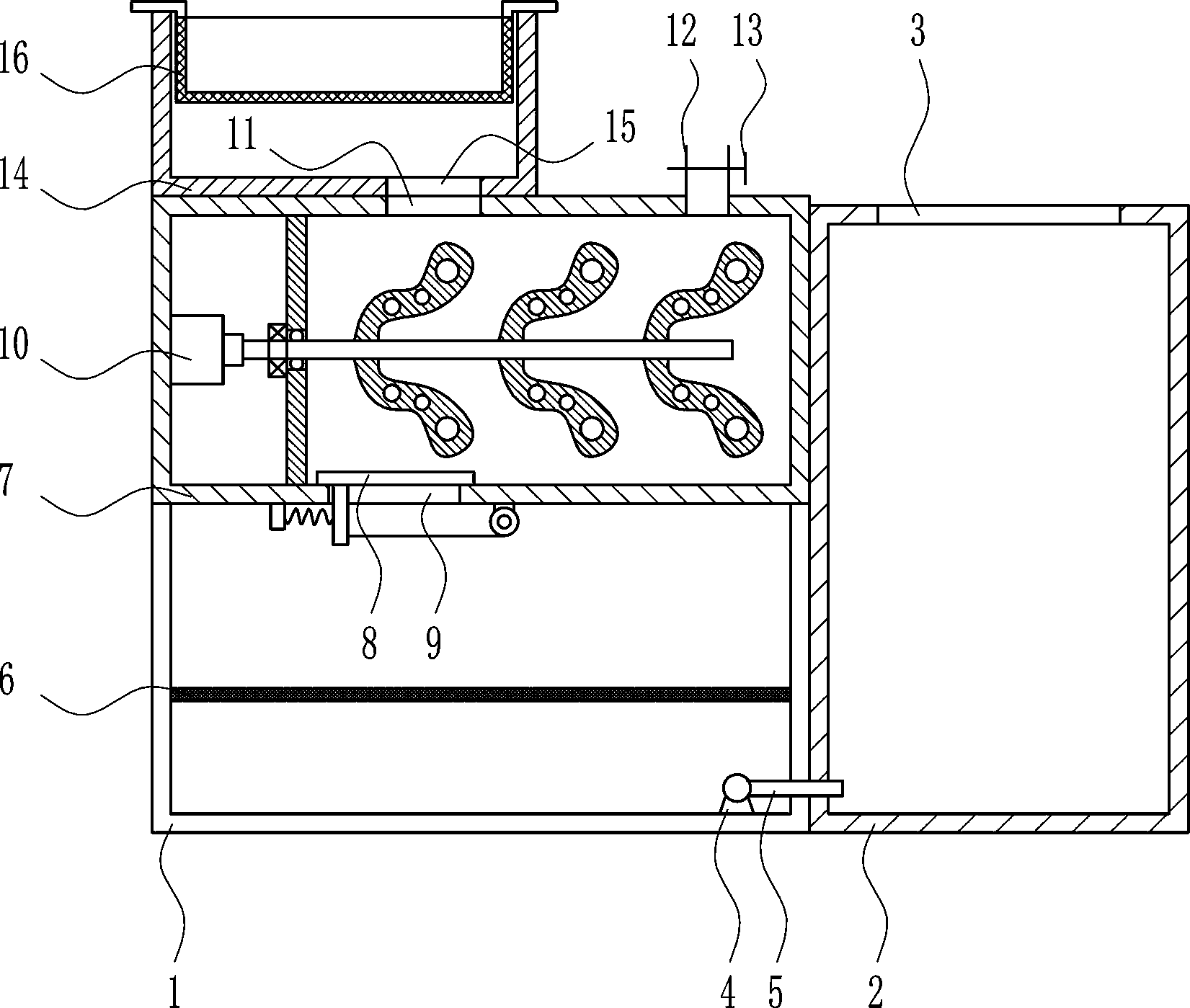
1.一種小型生活污水處理裝置,其特征在于,包括有第一箱體(1)、水箱(2)、水泵(4)、硬質管(5)、濾網(6)、第二箱體(7)、放料裝置(8)、攪拌裝置(10)、第一進料管(12)、閥門(13)、過濾箱(14)和過濾槽(16),第一箱體(1)右側設有水箱(2),水箱(2)頂部中心開有第一開口(3),第一箱體(1)內底部右側設有水泵(4),水泵(4)出水端連接有硬質管(5),硬質管(5)穿過第一箱體(1)右壁和水箱(2)左壁,第一箱體(1)內左右兩壁之間設有濾網(6),濾網(6)位于水泵(4)上方,第一箱體(1)頂部設有第二箱體(7),第二箱體(7)底部設有放料裝置(8),第二箱體(7)底部開有第二開口(9),第二開口(9)位于放料裝置(8)的正上方,第二箱體(7)內左壁設有攪拌裝置(10),第二箱體(7)頂部開有第三開口(11),第二箱體(7)頂部右側連接有第一進料管(12),第一進料管(12)上設有閥門(13),第二箱體(7)頂部設有過濾箱(14),過濾箱(14)位于第一進料管(12)的左方,過濾箱(14)底部開有第四開口(15),第四開口(15)位于第三開口(11)正上方,過濾箱(14)內設有過濾槽(16)。
2.根據權利要求1所述的一種小型生活污水處理裝置,其特征在于,放料裝置(8)包括有第一固定塊(80)、第一彈性件(81)、第一連桿(82)、擋板(83)、支桿(84)、電動繞線輪(85)和拉繩(86),第二箱體(7)底部設有第一固定塊(80)和支桿(84),第一固定塊(80)位于第二開口(9)的左方,支桿(84)位于第二開口(9)的右方,第一固定塊(80)右側連接有第一彈性件(81),第一彈性件(81)右端連接有第一連桿(82),第一連桿(82)穿過第二開口(9),第一連桿(82)上端設有擋板(83),支桿(84)下端設有電動繞線輪(85),電動繞線輪(85)上繞有拉繩(86),拉繩(86)左端與第一連桿(82)右側連接。
3.根據權利要求2所述的一種小型生活污水處理裝置,其特征在于,攪拌裝置(10)包括有電機(100)、隔板(101)、密封圈(103)、軸承座(104)、轉軸(105)和攪拌片(106),第二箱體(7)內左壁中心設有電機(100),第二箱體(7)內左部設有隔板(101),隔板(101)位于電機(100)右方,隔板(101)中心開有第四通孔(102),第四通孔(102)內設有密封圈(103),隔板(101)左側中心設有軸承座(104),軸承座(104)上安裝有轉軸(105),轉軸(105)左端與電機(100)輸出軸連接,轉軸(105)穿過密封圈(103),轉軸(105)右部均勻設有攪拌片(106),攪拌片(106)上開有第三通孔(107)。
4.根據權利要求3所述的一種小型生活污水處理裝置,其特征在于,還包括有裝料箱(17)、出料箱(18)、第一箱蓋(19)、第一拉手(20)、第二進料管(21)、第一單向閥(22)、活塞(24)、推桿(25)、出料管(26)和第二單向閥(27),第二箱體(7)頂部設有裝料箱(17)和出料箱(18),裝料箱(17)位于過濾箱(14)的右方,裝料箱(17)位于出料箱(18)的左方,裝料箱(17)頂部左端轉動式連接有第一箱蓋(19),第一箱蓋(19)頂部設有第一拉手(20),裝料箱(17)右壁下側連接有第二進料管(21),第二進料管(21)穿過出料箱(18)左壁下側,第二進料管(21)內設有第一單向閥(22),出料箱(18)頂部中心開有第一通孔(23),出料箱(18)內設有活塞(24),活塞(24)頂部連接有推桿(25),推桿(25)穿過第一通孔(23),出料箱(18)底部連接有出料管(26),出料管(26)穿過第二箱體(7)頂部,出料管(26)內設有第二單向閥(27)。
5.根據權利要求4所述的一種小型生活污水處理裝置,其特征在于,還包括有第二固定塊(29)、第二彈性件(31)和卡塊(32),過濾槽(16)頂部左右兩側均開有第二通孔(28),過濾箱(14)頂部左右兩側均設有第二固定塊(29),第二固定塊(29)穿過第二通孔(28),第二固定塊(29)內側開有凹槽(30),凹槽(30)內設有第二彈性件(31),左方的第二彈性件(31)右端和右方的第二彈性件(31)左端均設有卡塊(32),卡塊(32)與第二通孔(28)配合。
6.根據權利要求5所述的一種小型生活污水處理裝置,其特征在于,還包括有第二箱蓋(33)、第二拉手(34)和橡膠塊(35),水箱(2)頂部左側轉動式連接有第二箱蓋(33),第二箱蓋(33)頂部設有第二拉手(34),第二箱蓋(33)底部設有橡膠塊(35),橡膠塊(35)位于第一開口(3)內。
7.根據權利要求6所述的一種小型生活污水處理裝置,其特征在于,還包括有導桿(36)、浮塊(37)、第二連桿(38)和透明刻度板(39),水箱(2)底部左右兩側設有導桿(36),導桿(36)上滑動式連接有浮塊(37),左方的浮塊(37)與右方的浮塊(37)之間連接有第二連桿(38),水箱(2)前部嵌有透明刻度板(39),第二連桿(38)位于透明刻度板(39)的正后方。
8.根據權利要求7所述的一種小型生活污水處理裝置,其特征在于,水箱(2)的材質為不銹鋼。
說明書
一種小型生活污水處理裝置
技術領域
本發明涉及一種污水處理裝置,尤其涉及一種小型生活污水處理裝置。
背景技術
生活污水中含有大量有機物,如纖維素、淀粉、糖類和脂肪蛋白質等;也常含有病原菌、病毒和寄生蟲卵;無機鹽類的氯化物、硫酸鹽、磷酸鹽、碳酸氫鹽和鈉、鉀、鈣、鎂等?偟奶攸c是含氮、含硫和含磷高,在厭氧細菌作用下,易生惡臭物質。
生活污水會帶來病原物污染,需要對生活污水進行處理,人們在對生活污水的處理時,通常使用處理污水的機器,這樣能同時對大量的對生活污水進行處理,而現有污水處理裝置的存在耗電量大,占地面積大,使用不便的缺點,因此亟需研發一種耗電量小,占地面積小,使用方便的小型生活污水處理裝置。
發明內容
(1)要解決的技術問題
本發明為了克服現有污水處理裝置的存在耗電量大,占地面積大,使用不便的缺點,本發明要解決的技術問題是提供一種耗電量小,占地面積小,使用方便的小型生活污水處理裝置。
(2)技術方案
為了解決上述技術問題,本發明提供了這樣一種小型生活污水處理裝置,包括有第一箱體、水箱、水泵、硬質管、濾網、第二箱體、放料裝置、攪拌裝置、第一進料管、閥門、過濾箱和過濾槽,第一箱體右側設有水箱,水箱頂部中心開有第一開口,第一箱體內底部右側設有水泵,水泵出水端連接有硬質管,硬質管穿過第一箱體右壁和水箱左壁,第一箱體內左右兩壁之間設有濾網,濾網位于水泵上方,第一箱體頂部設有第二箱體,第二箱體底部設有放料裝置,第二箱體底部開有第二開口,第二開口位于放料裝置的正上方,第二箱體內左壁設有攪拌裝置,第二箱體頂部開有第三開口,第二箱體頂部右側連接有第一進料管,第一進料管上設有閥門,第二箱體頂部設有過濾箱,過濾箱位于第一進料管的左方,過濾箱底部開有第四開口,第四開口位于第三開口正上方,過濾箱內設有過濾槽。
優選地,放料裝置包括有第一固定塊、第一彈性件、第一連桿、擋板、支桿、電動繞線輪和拉繩,第二箱體底部設有第一固定塊和支桿,第一固定塊位于第二開口的左方,支桿位于第二開口的右方,第一固定塊右側連接有第一彈性件,第一彈性件右端連接有第一連桿,第一連桿穿過第二開口,第一連桿上端設有擋板,支桿下端設有電動繞線輪,電動繞線輪上繞有拉繩,拉繩左端與第一連桿右側連接。
優選地,攪拌裝置包括有電機、隔板、密封圈、軸承座、轉軸和攪拌片,第二箱體內左壁中心設有電機,第二箱體內左部設有隔板,隔板位于電機右方,隔板中心開有第四通孔,第四通孔內設有密封圈,隔板左側中心設有軸承座,軸承座上安裝有轉軸,轉軸左端與電機輸出軸連接,轉軸穿過密封圈,轉軸右部均勻設有攪拌片,攪拌片上開有第三通孔。
優選地,還包括有裝料箱、出料箱、第一箱蓋、第一拉手、第二進料管、第一單向閥、活塞、推桿、出料管和第二單向閥,第二箱體頂部設有裝料箱和出料箱,裝料箱位于過濾箱的右方,裝料箱位于出料箱的左方,裝料箱頂部左端轉動式連接有第一箱蓋,第一箱蓋頂部設有第一拉手,裝料箱右壁下側連接有第二進料管,第二進料管穿過出料箱左壁下側,第二進料管內設有第一單向閥,出料箱頂部中心開有第一通孔,出料箱內設有活塞,活塞頂部連接有推桿,推桿穿過第一通孔,出料箱底部連接有出料管,出料管穿過第二箱體頂部,出料管內設有第二單向閥。
優選地,還包括有第二固定塊、第二彈性件和卡塊,過濾槽頂部左右兩側均開有第二通孔,過濾箱頂部左右兩側均設有第二固定塊,第二固定塊穿過第二通孔,第二固定塊內側開有凹槽,凹槽內設有第二彈性件,左方的第二彈性件右端和右方的第二彈性件左端均設有卡塊,卡塊與第二通孔配合。
優選地,還包括有第二箱蓋、第二拉手和橡膠塊,水箱頂部左側轉動式連接有第二箱蓋,第二箱蓋頂部設有第二拉手,第二箱蓋底部設有橡膠塊,橡膠塊位于第一開口內。
優選地,還包括有導桿、浮塊、第二連桿和透明刻度板,水箱底部左右兩側設有導桿,導桿上滑動式連接有浮塊,左方的浮塊與右方的浮塊之間連接有第二連桿,水箱前部嵌有透明刻度板,第二連桿位于透明刻度板的正后方。
優選地,水箱的材質為不銹鋼。
工作原理:當人們需要處理污水時,將生活污水倒入過濾槽內,過濾槽將生活污水中的垃圾進行過濾,過濾槽能可以讓人們更好的處理過濾的垃圾,過濾完的生活污水從第三開口和第四開口進入第二箱體內,人們打開閥門,將絮凝劑從第一進料管加入第二箱體內,此時啟動攪拌裝置工作,攪拌裝置將污水與絮凝劑均勻攪拌,加快絮凝劑對污水作用速度,然后人們啟動放料裝置工作,使得混合了絮凝劑的污水從第二開口進入第一箱體,濾網將污水中的固體進行過濾,最后人們啟動水泵工作,將過濾完成的污水通過硬質管送入水箱內進行儲存,人們可以通過第一開口對水箱內的水進行取用。
因為放料裝置包括有第一固定塊、第一彈性件、第一連桿、擋板、支桿、電動繞線輪和拉繩,第二箱體底部設有第一固定塊和支桿,第一固定塊位于第二開口的左方,支桿位于第二開口的右方,第一固定塊右側連接有第一彈性件,第一彈性件右端連接有第一連桿,第一連桿穿過第二開口,第一連桿上端設有擋板,支桿下端設有電動繞線輪,電動繞線輪上繞有拉繩,拉繩左端與第一連桿右側連接,所以當需要將污水放入第一箱體內時,人們啟動電動繞線輪收拉繩,進而拉動連桿向右運動,進而帶動擋板向右運動,使得污水通過第二開口進入第一箱體內,當不需要將污水放入第一箱體內時,人們啟動電動繞線輪放拉繩,在第一彈性件的作用下,帶動第一連桿和擋板復位,使得擋板將第二開口擋住。
因為攪拌裝置包括有電機、隔板、密封圈、軸承座、轉軸和攪拌片,第二箱體內左壁中心設有電機,第二箱體內左部設有隔板,隔板位于電機右方,隔板中心開有第四通孔,第四通孔內設有密封圈,隔板左側中心設有軸承座,軸承座上安裝有轉軸,轉軸左端與電機輸出軸連接,轉軸穿過密封圈,轉軸右部均勻設有攪拌片,攪拌片上開有第三通孔,所以當需要對污水和絮凝劑進行均勻攪拌時,人們啟動電機轉動,進而帶動轉軸轉動,從而帶動攪拌片轉動,攪拌片對污水和絮凝劑進行攪拌,使得絮凝劑對污水的作用速度加快,第三通孔能讓污水和絮凝劑攪拌的更均勻。
因為還包括有裝料箱、出料箱、第一箱蓋、第一拉手、第二進料管、第一單向閥、活塞、推桿、出料管和第二單向閥,第二箱體頂部設有裝料箱和出料箱,裝料箱位于過濾箱的右方,裝料箱位于出料箱的左方,裝料箱頂部左端轉動式連接有第一箱蓋,第一箱蓋頂部設有第一拉手,裝料箱右壁下側連接有第二進料管,第二進料管穿過出料箱左壁下側,第二進料管內設有第一單向閥,出料箱頂部中心開有第一通孔,出料箱內設有活塞,活塞頂部連接有推桿,推桿穿過第一通孔,出料箱底部連接有出料管,出料管穿過第二箱體頂部,出料管內設有第二單向閥,所以人們可以拉動第一拉手將第一箱蓋打開,將水和絮凝劑按比例倒入裝料箱內,當需要定量往第二箱體內加入絮凝劑時,人們向上拉動推桿,帶動活塞向上運動,進而將絮凝劑抽入出料箱內,人們向下推動推桿,進而將絮凝劑從出料管送入第二箱體內,從而實現定量加入絮凝劑的作用。
因為還包括有第二固定塊、第二彈性件和卡塊,過濾槽頂部左右兩側均開有第二通孔,過濾箱頂部左右兩側均設有第二固定塊,第二固定塊穿過第二通孔,第二固定塊內側開有凹槽,凹槽內設有第二彈性件,左方的第二彈性件右端和右方的第二彈性件左端均設有卡塊,卡塊與第二通孔配合,所以在放置過濾槽的過程中,當卡塊位于第二通孔內時,卡塊往凹槽內移動,當卡塊位于第二通孔外時,卡塊將過濾槽固定住,使得過濾槽更穩定。
因為還包括有第二箱蓋、第二拉手和橡膠塊,水箱頂部左側轉動式連接有第二箱蓋,第二箱蓋頂部設有第二拉手,第二箱蓋底部設有橡膠塊,橡膠塊位于第一開口內,所以人們可以拉動第二拉手將第二箱蓋打開,對水箱內的水進行取用,第二箱蓋可以防止異物進入水箱內,橡膠塊可以提高水箱的密封性。
因為還包括有導桿、浮塊、第二連桿和透明刻度板,水箱底部左右兩側設有導桿,導桿上滑動式連接有浮塊,左方的浮塊與右方的浮塊之間連接有第二連桿,水箱前部嵌有透明刻度板,第二連桿位于透明刻度板的正后方,所以浮塊會隨著水箱內水的高度而運動,第二連桿可以更清楚的在透明刻度板上標示出水位。
因為水箱的材質為不銹鋼,所以水箱的擁有不生銹的特性,不會對水質產生影響,并且硬度較高,使用壽命長。
本發明的控制方式是通過控制器來自動控制,控制器的控制電路通過本領域的技術人員簡單編程即可實現,屬于本領域的公知常識,并且本發明主要用來保護機械裝置,所以本發明不再詳細解釋控制方式和電路連接。
(3)有益效果
本發明達到了耗電量小,占地面積小,使用方便的效果,過濾槽能對污水進行初步過濾,將較大的物體進行過濾,攪拌裝置能加快絮凝劑對污水的作用速度,提高裝置對污水的處理速度,出料箱可以將絮凝劑定量加入第二箱體內,水箱可以將處理完成的污水繼續儲存,方便人們的取用。



