公布日:2023.08.15
申請日:2023.07.18
分類號:C02F7/00(2006.01)I;C02F11/02(2006.01)I
摘要
本發明涉及污泥處理技術領域,且公開了一種污泥處理用曝氣裝置及曝氣方法,包括臥式滾筒結構、支撐式氣體噴入結構以及從動式聯動結構。該污泥處理用曝氣裝置及曝氣方法,采用臥式滾筒設計,能夠在轉動時,對位于曝氣腔內部的污水以及污泥產生全方位的驅動效果,其中,該旋轉可使得污泥不斷在污水中進行全方位的循環效果,從而提高污泥的運動量降低其沉淀范圍,不存在死角問題,提高氧氣對污泥的曝氣效應,而該旋轉可使得污水產生一定的循環流動效果,污水的循環流動可增大氧氣在其內部運動的行程,從而增加兩者之間的有效接觸時長,因此大大提高了曝氣效率。

權利要求書
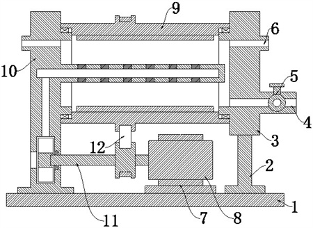
1.一種污泥處理用曝氣裝置,包括底部支撐基板(1)、通過支撐基座(2)縱向安裝于底部支撐基板(1)一側的第一立板(3)、設置于第一立板(3)板體中且用于排放曝氣后污水混合物的排放口(4)、安裝于排放口(4)中部且用于控制污水排放量的球閥(5)、設置于第一立板(3)板體中且用于污水混合物排入的污水灌入口(6)以及通過電機基座(7)固定安裝于底部支撐基板(1)上表面的驅動電機(8),其特征在于:還包括臥式滾筒結構(9),通過機械密封結構可旋轉式水平安裝于第一立板(3)一側,其內部設置有臥式設計且用于儲存污水混合物的曝氣腔(93)以及沿曝氣腔(93)內壁且在轉動狀態下可對接觸部位的污水混合物產生驅動效果的分割凸起條(95);支撐式氣體噴入結構(10),縱向安裝于底部支撐基板(1)另一側,其內部設置有可限制氣體定向流動的渦輪安裝腔(104)以及使得氣體排放至曝氣腔(93)中部區域的氣體噴頭(109);以及從動式聯動結構(11),固定安裝于驅動電機(8)的轉子端部,其內部設置有可通過皮帶(12)帶動支撐式氣體噴入結構(10)轉動的下皮帶輪結構(113)以及在渦輪安裝腔(104)內部轉動時可使得外界氣體壓縮進入至氣體噴頭(109)部位的渦輪葉片(115)。
2.根據權利要求1所述的一種污泥處理用曝氣裝置,其特征在于:所述臥式滾筒結構(9)包括臥式滾筒體(91),所述臥式滾筒體(91)的中心設置有兩端開口的曝氣腔(93),曝氣腔(93)的兩端部均設置有用于安裝機械密封結構的環形安裝槽(94),其中一個環形安裝槽(94)通過機械密封結構可旋轉式水平安裝于第一立板(3)一側,臥式滾筒體(91)的外圓周面設置有一體式結構的上皮帶輪結構(92),所述臥式滾筒體(91)在位于曝氣腔(93)的內圓周面設置有多個分割凸起條(95)。
3.根據權利要求2所述的一種污泥處理用曝氣裝置,其特征在于:多個所述分割凸起條(95)關于曝氣腔(93)的軸心線呈環形陣列設置,且分割凸起條(95)沿曝氣腔(93)的軸心長度方向設置。
4.根據權利要求3所述的一種污泥處理用曝氣裝置,其特征在于:所述支撐式氣體噴入結構(10)包括縱向安裝于底部支撐基板(1)另一側的第二立板(101),第二立板(101)的一側設置有用于通過機械密封結構安裝于另一個環形安裝槽(94)內部的環形體結構(102),第二立板(101)的側面設置有延伸至曝氣腔(93)中心部位的空心水平柱結構(103),所述第二立板(101)在位于驅動電機(8)轉子的對應部位設置有渦輪安裝腔(104),渦輪安裝腔(104)的進氣端口(105)朝向第二立板(101)外圍,第二立板(101)在進氣端口(105)的對應側面設置有用于安裝軸體的軸體安裝孔(106),空心水平柱結構(103)的內部中心設置有延伸至第二立板(101)內部的氣體預留腔(108),渦輪安裝腔(104)的排氣端口(107)朝向氣體預留腔(108),第二立板(101)在位于環形體結構(102)內環的頂部區域設置有用于氣體由曝氣腔(93)向外排放的氣體排放孔(1010),空心水平柱結構(103)的圓周面安裝有多個氣體噴頭(109)。
5.根據權利要求4所述的一種污泥處理用曝氣裝置,其特征在于:所述氣體噴頭(109)由橡膠材料支撐的環形體結構、且環形體結構的中心設置有用于排放氣體的氣孔。
6.根據權利要求5所述的一種污泥處理用曝氣裝置,其特征在于:所述氣體噴頭(109)在未受到氣體的壓力時,由于其自身的彈性可使得氣孔處于閉合狀態。
7.根據權利要求6所述的一種污泥處理用曝氣裝置,其特征在于:所述從動式聯動結構(11)包括水平轉動軸(111),所述水平轉動軸(111)的一端設置有內凹式且用于固定安裝驅動電機(8)轉子的轉子固定槽(112),所述水平轉動軸(111)在位于上皮帶輪結構(92)的正下方設置有對應的下皮帶輪結構(113),下皮帶輪結構(113)與上皮帶輪結構(92)之間通過皮帶(12)聯動,水平轉動軸(111)的軸體貫通軸體安裝孔(106)、且在貫通部位通過機械密封結構連接,水平轉動軸(111)在位于渦輪安裝腔(104)內部的一端安裝有環形從動柱(114),環形從動柱(114)的圓周面安裝有多個環形陣列式的渦輪葉片(115)。
8.根據權利要求7所述的一種污泥處理用曝氣裝置,其特征在于:所述渦輪葉片(115)隨驅動電機(8)的轉子轉動時,其形成的進氣方向朝向進氣端口(105)、排氣方向朝向氣體預留腔(108)。
9.根據權利要求1-8任意一項所述的一種污泥處理用曝氣裝置的一種曝氣方法,其特征在于:包括以下步驟S1:通過水泵將帶有污泥的污水混合物通過污水灌入口(6)注入至曝氣腔(93)內部,其中,混合物注入的量需要淹沒氣體噴頭(109)、同時低于污水灌入口(6)和氣體排放孔(1010)的高度;S2:啟動驅動電機(8),并控制驅動電機(8)轉子的轉動速度,該速度需要使得外界空氣足以由氣體噴頭(109)噴入至污水混合物中,且不至于污水混合物在工作時沿污水灌入口(6)和氣體排放孔(1010)向外泄露;S3:工作一端時間后,關閉驅動電機(8),并打開球閥(5),使得污水混合物排放。
發明內容
解決的技術問題:針對現有技術的不足,本發明提供了一種污泥處理用曝氣裝置及曝氣方法,采用臥式滾筒設計,能夠在轉動時,對位于曝氣腔內部的污水以及污泥產生全方位的驅動效果,其中,該旋轉可使得污泥不斷在污水中進行全方位的循環效果,從而提高污泥的運動量降低其沉淀范圍,不存在死角問題,提高氧氣對污泥的曝氣效應,而該旋轉可使得污水產生一定的循環流動效果,污水的循環流動可增大氧氣在其內部運動的行程,從而增加兩者之間的有效接觸時長,因此大大提高了曝氣效率,解決了上述技術問題。
技術方案:為實現上述目的,本發明提供如下技術方案:一種污泥處理用曝氣裝置,包括底部支撐基板、通過支撐基座縱向安裝于底部支撐基板一側的第一立板、設置于第一立板板體中且用于排放曝氣后污水混合物的排放口、安裝于排放口中部且用于控制污水排放量的球閥、設置于第一立板板體中且用于污水混合物排入的污水灌入口以及通過電機基座固定安裝于底部支撐基板上表面的驅動電機,還包括臥式滾筒結構,通過機械密封結構可旋轉式水平安裝于第一立板一側,其內部設置有臥式設計且用于儲存污水混合物的曝氣腔以及沿曝氣腔內壁且在轉動狀態下可對接觸部位的污水混合物產生驅動效果的分割凸起條;支撐式氣體噴入結構,縱向安裝于底部支撐基板另一側,其內部設置有可限制氣體定向流動的渦輪安裝腔以及使得氣體排放至曝氣腔中部區域的氣體噴頭;以及從動式聯動結構,固定安裝于驅動電機的轉子端部,其內部設置有可通過皮帶帶動支撐式氣體噴入結構轉動的下皮帶輪結構以及在渦輪安裝腔內部轉動時可使得外界氣體壓縮進入至氣體噴頭部位的渦輪葉片。
通過上述技術方案:采用臥式滾筒設計,能夠在轉動時,對位于曝氣腔內部的污水以及污泥產生全方位的驅動效果,其中,該旋轉可使得污泥不斷在污水中進行全方位的循環效果,從而提高污泥的運動量降低其沉淀范圍,不存在死角問題,提高氧氣對污泥的曝氣效應,而該旋轉可使得污水產生一定的循環流動效果,污水的循環流動可增大氧氣在其內部運動的行程,從而增加兩者之間的有效接觸時長,因此大大提高了曝氣效率。
優選的,所述臥式滾筒結構包括臥式滾筒體,所述臥式滾筒體的中心設置有兩端開口的曝氣腔,曝氣腔的兩端部均設置有用于安裝機械密封結構的環形安裝槽,其中一個環形安裝槽通過機械密封結構可旋轉式水平安裝于第一立板一側,臥式滾筒體的外圓周面設置有一體式結構的上皮帶輪結構,所述臥式滾筒體在位于曝氣腔的內圓周面設置有多個分割凸起條,多個所述分割凸起條關于曝氣腔的軸心線呈環形陣列設置,且分割凸起條沿曝氣腔的軸心長度方向設置。
通過上述技術方案:當臥式滾筒體轉動時,會帶動其內部的分割凸起條一起轉動,而分割凸起條在轉動時,能夠對位于該部位的污水以及污泥產生全方位的驅動效果,其中,該旋轉可使得污泥不斷在污水中進行全方位的循環效果,從而提高污泥的運動量降低其沉淀范圍,不存在死角問題,提高氧氣對污泥的曝氣效應,而該旋轉可使得污水產生一定的循環流動效果,污水的循環流動可增大氧氣在其內部運動的行程,從而增加兩者之間的有效接觸時長,因此大大提高了曝氣效率。
優選的,所述支撐式氣體噴入結構包括縱向安裝于底部支撐基板另一側的第二立板,第二立板的一側設置有用于通過機械密封結構安裝于另一個環形安裝槽內部的環形體結構,第二立板的側面設置有延伸至曝氣腔中心部位的空心水平柱結構,所述第二立板在位于驅動電機轉子的對應部位設置有渦輪安裝腔,渦輪安裝腔的進氣端口朝向第二立板外圍,第二立板在進氣端口的對應側面設置有用于安裝軸體的軸體安裝孔,空心水平柱結構的內部中心設置有延伸至第二立板內部的氣體預留腔,渦輪安裝腔的排氣端口朝向氣體預留腔,第二立板在位于環形體結構內環的頂部區域設置有用于氣體由曝氣腔向外排放的氣體排放孔,空心水平柱結構的圓周面安裝有多個氣體噴頭,所述氣體噴頭由橡膠材料支撐的環形體結構、且環形體結構的中心設置有用于排放氣體的氣孔,所述氣體噴頭在未受到氣體的壓力時,由于其自身的彈性可使得氣孔處于閉合狀態。
通過上述技術方案:一方面,能夠對臥式滾筒體進行支撐效果,另一方便,產生的高壓氣體能夠通過氣體噴頭噴入至污水混合物中,實現使池內污泥與空氣接觸充氧,加速空氣中的氧氣向液體中的轉移,從而使得污泥中的有機物與微生物及溶解氧的接觸,對污泥中有機物進行氧化分解,實現污泥的曝氣。
優選的,所述從動式聯動結構包括水平轉動軸,所述水平轉動軸的一端設置有內凹式且用于固定安裝驅動電機轉子的轉子固定槽,所述水平轉動軸在位于上皮帶輪結構的正下方設置有對應的下皮帶輪結構,下皮帶輪結構與上皮帶輪結構之間通過皮帶聯動,水平轉動軸的軸體貫通軸體安裝孔、且在貫通部位通過機械密封結構連接,水平轉動軸在位于渦輪安裝腔內部的一端安裝有環形從動柱,環形從動柱的圓周面安裝有多個環形陣列式的渦輪葉片,所述渦輪葉片隨驅動電機的轉子轉動時,其形成的進氣方向朝向進氣端口、排氣方向朝向氣體預留腔。
通過上述技術方案:當啟動驅動電機后,水平轉動軸能夠隨驅動電機的轉子轉動,此時,下皮帶輪結構能夠在皮帶的作用下帶動臥式滾筒體轉動,此外,又能夠帶動渦輪葉片轉動,產生必要的空氣驅動效果,從而實現一機多用,提高曝氣過程中動能的有效利用率。
作為優選的工作步驟,S1:通過水泵將帶有污泥的污水混合物通過污水灌入口注入至曝氣腔內部,其中,混合物注入的量需要淹沒氣體噴頭、同時低于污水灌入口和氣體排放孔的高度;S2:啟動驅動電機,并控制驅動電機轉子的轉動速度,該速度需要使得外界空氣足以由氣體噴頭噴入至污水混合物中,且不至于污水混合物在工作時沿污水灌入口和氣體排放孔向外泄露;S3:工作一端時間后,關閉驅動電機,并打開球閥,使得污水混合物排放。
與現有技術相比,本發明提供了一種污泥處理用曝氣裝置及曝氣方法,具備以下有益效果:該污泥處理用曝氣裝置及曝氣方法,采用臥式滾筒設計,能夠在轉動時,對位于曝氣腔內部的污水以及污泥產生全方位的驅動效果,其中,該旋轉可使得污泥不斷在污水中進行全方位的循環效果,從而提高污泥的運動量降低其沉淀范圍,不存在死角問題,提高氧氣對污泥的曝氣效應,而該旋轉可使得污水產生一定的循環流動效果,污水的循環流動可增大氧氣在其內部運動的行程,從而增加兩者之間的有效接觸時長,因此大大提高了曝氣效率。
(發明人:張志鋒;孫志剛)






