公布日:2023.09.22
申請日:2023.06.25
分類號:C02F1/04(2023.01)I;C02F1/00(2023.01)I;C02F103/18(2006.01)N
摘要
本發明涉及脫硫廢水處理技術領域,具體涉及一種火電廠脫硫廢水零排放系統,包括過濾箱、蒸發室和排放管,所述過濾箱的一側下端設置有進水管,所述過濾箱內設置有過濾機構一,所述過濾箱的另一側上端固定連接有連接管,所述連接管遠離所述過濾箱的一端固定連接有蒸發室,所述蒸發室內設置有蒸發機構。有益效果:當廢水通過進水管進入過濾箱的時候,通過過濾箱內設置的過濾機構一可以將廢水進行過濾,通過將連接管設置在過濾箱的上端,使得廢水要想排出,必須通過過濾機構一進行過濾之后通過上端的連接管排出,通過連接管排出的一次過濾后的廢水,在蒸發室內經過蒸發機構的蒸發,使水蒸氣與內部的雜質分離,從而使脫硫廢水進行凈化。

權利要求書
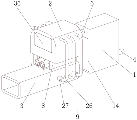
1.一種火電廠脫硫廢水零排放系統,包括過濾箱(1)、蒸發室(2)和排放管(3),其特征在于,所述過濾箱(1)的一側下端設置有進水管(4),所述過濾箱(1)內設置有過濾機構一(5),所述過濾箱(1)的另一側上端固定連接有連接管(6),所述連接管(6)遠離所述過濾箱(1)的一端固定連接有蒸發室(2),所述蒸發室(2)內設置有蒸發機構(7),所述蒸發室(2)的下端通過數量為兩個的支撐板(8)固定連接有排放管(3),所述蒸發室(2)的外壁通過過濾機構二(9)與所述排放管(3)連通,所述排放管(3)內設置有冷凝機構(10);所述過濾機構一(5)包括濾芯一(11)和框架(12),所述過濾箱(1)的一側開設有凹槽(13),所述凹槽(13)處鉸接有密封門一(14),所述凹槽(13)內設置有若干個滑槽一(15),所述滑槽一(15)內均滑動密封套設有框架(12),所述框架(12)內均卡接有濾芯一(11);所述蒸發機構(7)包括電熱管(16)、滑塊(17)和滑動機構(18),所述蒸發室(2)內設置有滑塊(17),所述滑塊(17)的兩側均固定連接有若干個電熱管(16),所述滑塊(17)的上端通過滑動機構(18)與所述蒸發室(2)的上端內壁連接;所述滑動機構(18)包括軸套(19)、活塞一(20)和連接桿(21),所述蒸發室(2)的上端內壁固定連接有軸套(19),所述軸套(19)內滑動套設有活塞一(20),所述活塞一(20)的下端通過連接桿(21)與所述滑塊(17)固定連接,所述活塞一(20)的上端開設有若干個通槽(22),所述通槽(22)內均開設有滑槽二(23),所述滑槽二(23)內均活動設置有活塞二(24),所述活塞二(24)的上端開設有通孔(40),所述滑槽二(23)的內壁上端均開設有若干個分流孔(25)且貫穿所述活塞一(20);所述過濾機構二(9)包括排氣管(26)和濾芯二(27),所述蒸發室(2)的上端固定連接有若干個排氣管(26),所述排氣管(26)遠離所述蒸發室(2)的一端均固定連接有濾芯二(27),所述濾芯二(27)遠離所述排氣管(26)的一端均與所述排放管(3)連通;所述蒸發室(2)的一側鉸接有密封門二(36),所述蒸發室(2)的下端嵌設有隔熱層(37),所述滑塊(17)的兩端均設置有溫度傳感器(38),所述滑塊(17)靠近所述密封門二(36)的一側固定連接有把手(39)。
2.根據權利要求1所述的一種火電廠脫硫廢水零排放系統,其特征在于,所述冷凝機構(10)包括制冷半導體(28)、冷凝箱(29)和散熱片(30),所述排放管(3)的上端嵌設有冷凝箱(29),所述冷凝箱(29)內嵌設有制冷半導體(28),所述制冷半導體(28)的上端固定連接有若干個散熱片(30)。
3.根據權利要求2所述的一種火電廠脫硫廢水零排放系統,其特征在于,兩個所述支撐板(8)內通過限位板(31)固定連接有數量為兩個的風管(32),所述風管(32)的開口一側與所述冷凝箱(29)的一側接觸,所述風管(32)內均通過限位塊(33)固定連接有電機(34),所述電機(34)的外軸均固定連接有渦輪(35)。
發明內容
本發明的目的在于提供一種火電廠脫硫廢水零排放系統,以解決上述背景技術中提出的問題。
為實現上述目的,本發明提供如下技術方案:
一種火電廠脫硫廢水零排放系統包括過濾箱、蒸發室和排放管,其特征在于,所述過濾箱的一側下端設置有進水管,所述過濾箱內設置有過濾機構一,所述過濾箱的另一側上端固定連接有連接管,所述連接管遠離所述過濾箱的一端固定連接有蒸發室,所述蒸發室內設置有蒸發機構,所述蒸發室的下端通過數量為兩個的支撐板固定連接有排放管,所述蒸發室的外壁通過過濾機構二與所述排放管連通,所述排放管內設置有冷凝機構。
進一步的,所述過濾機構一包括濾芯一和框架,所述過濾箱的一側開設有凹槽,所述凹槽處鉸接有密封門一,所述凹槽內設置有若干個滑槽一,所述滑槽一內均滑動密封套設有框架,所述框架內均卡接有濾芯一。
進一步的,所述蒸發機構包括電熱管、滑塊和滑動機構,所述蒸發室內設置有滑塊,所述滑塊的兩側均固定連接有若干個電熱管,所述滑塊的上端通過滑動機構與所述蒸發室的上端內壁連接。
進一步的,所述滑動機構包括軸套、活塞一和連接桿,所述蒸發室的上端內壁固定連接有軸套,所述軸套內滑動套設有活塞一,所述活塞一的下端通過連接桿與所述滑塊固定連接,所述活塞一的上端開設有若干個通槽,所述通槽內均開設有滑槽二,所述滑槽二內均活動設置有活塞二,所述活塞二的上端開設有通孔,所述滑槽二的內壁上端均開設有若干個分流孔且貫穿所述活塞一。
進一步的,所述過濾機構二包括排氣管和濾芯二,所述蒸發室的上端固定連接有若干個排氣管,所述排氣管遠離所述蒸發室的一端均固定連接有濾芯二,所述濾芯二遠離所述排氣管的一端均與所述排放管連通。
進一步的,所述冷凝機構包括制冷半導體、冷凝箱和散熱片,所述排放管的上端嵌設有冷凝箱,所述冷凝箱內嵌設有制冷半導體,所述制冷半導體的上端固定連接有若干個散熱片。
進一步的,兩個所述支撐板內通過限位板固定連接有數量為兩個的風管,所述風管的開口一側與所述冷凝箱的一側接觸,所述風管內均通過限位塊固定連接有電機,所述電機的外軸均固定連接有渦輪。
進一步的,所述蒸發室的一側鉸接有密封門二,所述蒸發室的下端嵌設有隔熱層,所述滑塊的兩端均設置有溫度傳感器,所述滑塊靠近所述密封門二的一側固定連接有把手。
與現有技術相比,本發明具有以下有益效果:
(1)、當廢水通過進水管進入過濾箱的時候,通過過濾箱內設置的過濾機構一可以將廢水進行過濾,通過將連接管設置在過濾箱的上端,使得廢水要想排出,必須通過過濾機構一進行過濾之后通過上端的連接管排出,通過連接管排出的一次過濾后的廢水,在蒸發室內經過蒸發機構的蒸發,使水蒸氣與內部的雜質分離,從而使脫硫廢水進行凈化,脫硫廢水凈化后的水蒸氣通過過濾機構二進行二次凈化,濾除空氣中夾雜的雜質和有害物質,隨后徹底凈化的蒸汽在排放管內與冷凝機構接觸急速降溫從而脫水,形成干凈的水和干燥的空氣,從而實現零污染排放。
(2)、通過設置在過濾箱一側的密封門一,在定時保養的時候可以打開密封門一后抽出框架,從而更換框架內的濾芯一,可以使過濾機構一的過濾效果不會有所降低,有效的提升保養的效率,通過蒸發室內蒸發的水蒸氣通過排氣管排出后經過濾芯二對有害物質的過濾,使水蒸氣保持潔凈的狀態,而通過將排放管設置在蒸發室的下方,當水蒸氣預冷降溫的時候,冷空氣的氣壓要大于熱空氣的氣壓,從而產生向下的趨勢,進而使排氣管產生負壓,使吸力增強,從而加速氣體的流動,增加凈化的效率,通過設置的密封門二,可以便于蒸發室后續的保養,對內部蒸發廢水后的殘留物進行清理,而設置的溫度傳感器可以實時檢測蒸發室內的溫度,使廢水蒸發完之后讓電熱管降溫,避免廢水蒸發完之后電熱管繼續工作導致燒毀,而設置的把手則可以在對蒸發室進行清潔的時候將蒸發機構抬起,便于清潔殘留物。
(3)、當蒸發室內注入廢水的時候,電熱管運行,對廢水進行加熱,使廢水升溫蒸發,從而將雜質與水分離,當向上撥動把手的時候,帶動滑塊上移,從而擠壓連接桿使活塞一上移,此時活塞一擠壓軸套內上端的液壓油,從而液壓油推動活塞二在滑槽二內下移,使滑槽二內的分流孔連通,增大流動面積,從而使液壓油可以快速的從活塞一的上端移動至下端,而松開把手后,通過重力的作用下,使滑塊下移,通過連接桿帶動活塞一在軸套內下移,此時活塞一擠壓軸套內下端的液壓油,從而液壓油推動活塞二在滑槽二內上移將分流孔堵住,使液壓油流動的面積減小,從而減小流速,使蒸發機構緩慢的下落,從而使工人可以有足夠的時間對蒸發室內進行清潔。
(4)、通過設置的制冷半導體運行使冷凝箱產生極低的溫度,從而使水蒸氣急速降溫將水分脫離空氣,而設置的若干個散熱片可以對制冷半導體在制冷的時候產生的熱量進行散熱,使制冷半導體可以長時間的制冷并且效率不會降低,通過設置的風管內的電機,當電機運行的時候,渦輪吹出的風可以有效的帶走散熱片表面的熱量,進一步提升對制冷半導體的散熱效率,使制冷半導體的長時間運行更加穩定。
(發明人:楊旭;張華)






