公布日:2023.08.15
申請日:2023.06.01
分類號:C02F11/13(2019.01)I
摘要
本發明公開了一種循環式污泥脫水用烘干裝置及烘干方法,包括底架、烘干筒體、打散機構和槽形齒輪,所述烘干筒體的左端筒口處卡塞并通過螺栓固定連接有首筒蓋,所述烘干筒體的右端筒口處卡塞并通過螺栓固定連接有尾筒蓋,且尾筒蓋與首筒蓋之間活動安裝有能轉動的下料板,所述打散機構以烘干筒體的筒心為圓心呈環形陣列分布,所述殼座中第一槽腔內活動安裝有能翻轉的拍板件,所述殼座中第二槽腔內活動安裝有能轉動的撥板件。該循環式污泥脫水用烘干裝置及烘干方法,可以有效的對掉落的泥料進行打散處理,且實現對黏附的泥料進行自動刮除處理,避免泥料出現結塊現象,另外實現泥料的往復循環運動,提高了烘干效率。

權利要求書
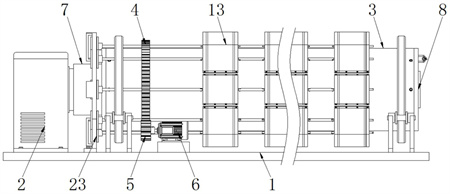
1.一種循環式污泥脫水用烘干裝置,包括:底架(1),所述底架(1)的左端架體上固定安置有熱風裝置(2);其特征在于,還包括:烘干筒體(3),所述烘干筒體(3)中軌道環與底架(1)中槽輪支架的槽輪呈活動狀態卡設在一起,且烘干筒體(3)在底架(1)中槽輪支架上構成轉動結構,所述烘干筒體(3)的左段筒體上固定焊接有第一齒環(4),且第一齒環(4)下方的前側嚙合連接有第一齒輪(5),并且第一齒輪(5)中軸柱固定連接在驅動電機(6)的輸出端上,而且驅動電機(6)通過螺栓固定連接在底架(1)的架體上,所述烘干筒體(3)的左端筒口處卡塞并通過螺栓固定連接有首筒蓋(7),且首筒蓋(7)的左蓋體與熱風裝置(2)中輸風管采用轉動的方式相連接,所述烘干筒體(3)的右端筒口處卡塞并通過螺栓固定連接有尾筒蓋(8),且尾筒蓋(8)與首筒蓋(7)之間活動安裝有能轉動的下料板(9);其中,所述下料板(9)中第二連接環上套接并通過螺栓固定連接有第二齒環(10),且第二齒環(10)的上側嚙合連接有第二齒輪(11),并且第二齒輪(11)中軸柱固定連接在伺服電機(12)的輸出端上,而且伺服電機(12)通過螺栓固定連接在尾筒蓋(8)中蓋體上;打散機構(13),所述打散機構(13)以烘干筒體(3)的筒心為圓心呈環形陣列分布,且打散機構(13)在烘干筒體(3)的筒壁上呈等間距狀態設置,所述打散機構(13)包括殼座(14)、拍板件(15)和撥板件(17),所述殼座(14)通過螺栓固定連接在烘干筒體(3)的筒壁上,所述殼座(14)中第一槽腔內活動安裝有能翻轉的拍板件(15),且拍板件(15)與殼座(14)中第一槽腔的連接處安裝有弧形彈簧(16),所述殼座(14)中第二槽腔內活動安裝有能轉動的撥板件(17),且殼座(14)中第二槽腔腔壁上滑動連接有定位件(18),并且定位件(18)與殼座(14)中第二槽腔腔壁的連接處安裝有復位彈簧(19),而且定位件(18)中半球端與撥板件(17)的板壁采用卡合的方式相連接,所述殼座(14)中第一槽腔的左右腔壁上均翻轉連接有鎖定件(20),且鎖定件(20)與殼座(14)中第一槽腔腔壁的連接處安裝有扭轉彈簧(21),并且鎖定件(20)中鉤掛端與拍板件(15)中拐角處側壁卡合連接在一起;槽形齒輪(22),所述槽形齒輪(22)通過螺栓固定連接在最左打散機構(13)的連動軸上,且槽形齒輪(22)在輔助架(23)上構成滑動結構,并且輔助架(23)的下端架體通過螺栓固定連接在底架(1)的架體上。
2.根據權利要求1所述的一種循環式污泥脫水用烘干裝置,其特征在于:所述下料板(9)中板體的縱截面形狀呈弧形,且下料板(9)在其第一連接環與第二連接環之間呈傾斜狀態設置。
3.根據權利要求2所述的一種循環式污泥脫水用烘干裝置,其特征在于:所述下料板(9)中第一連接環的轉動中心與其第二連接環的轉動中心處于同一水平中軸線上,且下料板(9)的右端弧腔與尾筒蓋(8)中輸料口相適配呈對應狀態設置。
4.根據權利要求1所述的一種循環式污泥脫水用烘干裝置,其特征在于:所述撥板件(17)的縱截面呈弧形結構狀態設置,且撥板件(17)的轉動中心與拍板件(15)的翻轉中心相重合,并且拍板件(15)的縱截面呈“V”字形結構狀態設置,而且拍板件(15)中朝外板體與撥板件(17)中限位塊部相互抵合連接在一起。
5.根據權利要求4所述的一種循環式污泥脫水用烘干裝置,其特征在于:所述撥板件(17)中朝外板段的端部開設有呈開放狀態的梯形槽部,且撥板件(17)中梯形槽部的左右傾斜槽壁分別與左右兩個鎖定件(20)的縱向桿體呈相對應狀態設置,并且撥板件(17)中梯形槽部開口處的寬度尺寸大于左右兩個鎖定件(20)之間的間距尺寸。
6.根據權利要求1所述的一種循環式污泥脫水用烘干裝置,其特征在于:所述輔助架(23)中內環架的外環壁上和外環架的內環壁上均設置有齒環段,且輔助架(23)中內環架的齒環段與外環架的齒環段呈錯位狀態設置,所述輔助架(23)中齒環段與槽形齒輪(22)采用嚙合的方式相連接。
7.一種如權利要求1所述的循環式污泥脫水用烘干裝置及烘干方法,其特征在于:所述操作方法包括以下步驟:步驟1:將下料板(9)調至傾斜向上的狀態設置,即不能下料的狀態;步驟2:采用與其相配合的伸縮式輸送帶,通過伸縮式輸送帶將泥料輸送至烘干筒體(3)的筒腔內;步驟3:通過拍板件(15)和撥板件(17)對泥料進行打散和撥動處理,并通過熱風對泥料進行烘干操作;步驟4:將下料板(9)調至傾斜向下的狀態設置,并將伸縮式輸送帶移動至尾筒蓋(8)中輸料口,進行下料操作。
發明內容
本發明的目的在于提供一種循環式污泥脫水用烘干裝置及烘干方法,以解決上述背景技術提出的容易出現黏附現象,且容易堆積出現結塊現象,另外無法快速對泥塊進行打散處理,影響烘干效率的問題。
為實現上述目的,本發明提供如下技術方案:一種循環式污泥脫水用烘干裝置,包括:
底架,所述底架的左端架體上固定安置有熱風裝置;
還包括:
烘干筒體,所述烘干筒體中軌道環與底架中槽輪支架的槽輪呈活動狀態卡設在一起,且烘干筒體在底架中槽輪支架上構成轉動結構,所述烘干筒體的左段筒體上固定焊接有第一齒環,且第一齒環下方的前側嚙合連接有第一齒輪,并且第一齒輪中軸柱固定連接在驅動電機的輸出端上,而且驅動電機通過螺栓固定連接在底架的架體上,所述烘干筒體的左端筒口處卡塞并通過螺栓固定連接有首筒蓋,且首筒蓋的左蓋體與熱風裝置中輸風管采用轉動的方式相連接,所述烘干筒體的右端筒口處卡塞并通過螺栓固定連接有尾筒蓋,且尾筒蓋與首筒蓋之間活動安裝有能轉動的下料板;
其中,所述下料板中第二連接環上套接并通過螺栓固定連接有第二齒環,且第二齒環的上側嚙合連接有第二齒輪,并且第二齒輪中軸柱固定連接在伺服電機的輸出端上,而且伺服電機通過螺栓固定連接在尾筒蓋中蓋體上;
打散機構,所述打散機構以烘干筒體的筒心為圓心呈環形陣列分布,且打散機構在烘干筒體的筒壁上呈等間距狀態設置,所述打散機構包括殼座、拍板件和撥板件,所述殼座通過螺栓固定連接在烘干筒體的筒壁上,所述殼座中第一槽腔內活動安裝有能翻轉的拍板件,且拍板件與殼座中第一槽腔的連接處安裝有弧形彈簧,所述殼座中第二槽腔內活動安裝有能轉動的撥板件,且殼座中第二槽腔腔壁上滑動連接有定位件,并且定位件與殼座中第二槽腔腔壁的連接處安裝有復位彈簧,而且定位件中半球端與撥板件的板壁采用卡合的方式相連接,所述殼座中第一槽腔的左右腔壁上均翻轉連接有鎖定件,且鎖定件與殼座中第一槽腔腔壁的連接處安裝有扭轉彈簧,并且鎖定件中鉤掛端與拍板件中拐角處側壁卡合連接在一起;
槽形齒輪,所述槽形齒輪通過螺栓固定連接在最左打散機構的連動軸上,且槽形齒輪在輔助架上構成滑動結構,并且輔助架的下端架體通過螺栓固定連接在底架的架體上。
優選的,所述下料板中板體的縱截面形狀呈弧形,且下料板在其第一連接環與第二連接環之間呈傾斜狀態設置。
優選的,所述下料板中第一連接環的轉動中心與其第二連接環的轉動中心處于同一水平中軸線上,且下料板的右端弧腔與尾筒蓋中輸料口相適配呈對應狀態設置。
優選的,所述撥板件的縱截面呈弧形結構狀態設置,且撥板件的轉動中心與拍板件的翻轉中心相重合,并且拍板件的縱截面呈“V”字形結構狀態設置,而且拍板件中朝外板體與撥板件中限位塊部相互抵合連接在一起。
優選的,所述撥板件中朝外板段的端部開設有呈開放狀態的梯形槽部,且撥板件中梯形槽部的左右傾斜槽壁分別與左右兩個鎖定件的縱向桿體呈相對應狀態設置,并且撥板件中梯形槽部開口處的寬度尺寸大于左右兩個鎖定件之間的間距尺寸。
優選的,所述輔助架中內環架的外環壁上和外環架的內環壁上均設置有齒環段,且輔助架中內環架的齒環段與外環架的齒環段呈錯位狀態設置,所述輔助架中齒環段與槽形齒輪采用嚙合的方式相連接。
本發明提供另一種技術方案是提供一種循環式污泥脫水用烘干裝置及烘干方法,所述操作方法包含以下步驟:
步驟1:將下料板調至傾斜向上的狀態設置,即不能下料的狀態;
步驟2:采用與其相配合的伸縮式輸送帶,通過伸縮式輸送帶將泥料輸送至烘干筒體的筒腔內;
步驟3:通過拍板件和撥板件對泥料進行打散和撥動處理,并通過熱風對泥料進行烘干操作;
步驟4:將下料板調至傾斜向下的狀態設置,并將伸縮式輸送帶移動至尾筒蓋中輸料口,進行下料操作。
與現有技術相比,本發明的有益效果是:該循環式污泥脫水用烘干裝置及烘干方法,可以有效的對掉落的泥料進行打散處理,且實現對黏附的泥料進行自動刮除處理,避免泥料出現結塊現象,另外實現泥料的往復循環運動,提高了烘干效率;
1.設有拍板件和撥板件,撥板件轉動后,通過其中梯形槽部的傾斜側壁推擠鎖定件中縱向桿體,使鎖定件翻轉與拍板件之間失去卡合作用,解除對拍板件的鎖定,利用弧形彈簧的彈性形變復位,使拍板件自動翻轉展開,可以有效的對掉落的泥料進行快速打散處理,輔助泥料塊的破碎,避免泥料出現結塊現象,進而提高了烘干效率,另外撥板件復位轉動,通過其中限位塊部推擠拍板件進行復位翻轉,利用扭轉彈簧的彈性形變復位,使鎖定件與拍板件之間自動卡合進行鎖定,利用聯動結構的設置,使其結構上更加優化;
2.設有撥板件和槽形齒輪,槽形齒輪與輔助架中內環架的齒環段相接觸嚙合后,驅使撥板件進行轉動,槽形齒輪與輔助架中外環架的齒環段相接觸嚙合后,驅使撥板件進行復位轉動,控制撥板件往復轉動,達到撥板件滑動伸縮的運動目的,實現對黏附的泥料進行自動刮除處理,進一步避免泥料黏附出現結塊現象,另外撥板件的縱截面呈弧形結構狀態設置,通過撥板件撥動泥料,實現泥料的往復循環運動,使其烘干效果進一步得到提高;
3.設有下料板和第二齒環,下料板中第一連接環轉動連接在首筒蓋的右蓋體上,且下料板中第二連接環轉動連接在尾筒蓋的左蓋體上,烘干筒體帶動下料板進行公轉過程中,利用第二齒環和第二齒輪的嚙合作用,通過伺服電機控制下料板進行自轉運動,使下料板保持在傾斜向下的狀態,達到了便捷下料的操作目的,且泥料受撥動掉落至下料板上,通過傾斜狀態的設置,實現了自動化下料,進而保證了工作效率的提高。
(發明人:徐益群;壽立靖;黃大望;徐玲玲;柴杏成)






