公布日:2024.03.12
申請日:2024.01.08
分類號:C02F3/02(2023.01)I;C02F11/00(2006.01)I
摘要
本發明涉及污水處理技術領域,尤其是一種連續流好氧顆粒污泥污水生物處理裝置,包括池體:在所述池體內設置有處理裝置;所述處理裝置包括吸附區攪拌器、吸附混合區、厭氧區、缺氧區和好氧區、好氧區攪拌器,出水通過上部過水孔洞流入厭氧區;缺氧區中部設有混合液回流管,同時設有雙曲面攪拌器,缺氧區上部出水設置通過出水孔與好氧區連接;好氧區內設有管式曝氣系統、沉淀分離裝置和混合液回流泵,出水通過上部出水管流入下一處理單元。本發明在好氧池內形成穩定的內循環,好氧顆粒污泥技術能同步脫氮除磷,節省50%~75%的占地面積和20%~25%的運行費用。

權利要求書
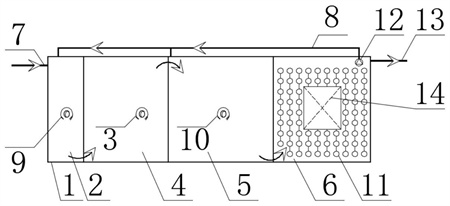
1.一種連續流好氧顆粒污泥污水生物處理裝置,包括池體(1),其特征在于:在所述池體(1)內設置有處理裝置;所述處理裝置包括吸附區攪拌器(9)、吸附混合區(2)、厭氧區(4)、缺氧區(5)和好氧區(6)、好氧區攪拌器(10),出水通過上部過水孔洞流入厭氧區(4);厭氧區(4)內設有攪拌器避免污泥沉積板結,厭氧區(4)通過底部過水孔與缺氧區(5)聯通;缺氧區(5)中部設有混合液回流管(8),同時設有雙曲面攪拌器,缺氧區(5)上部出水設置通過出水孔與好氧區(6)連接;好氧區(6)內設有管式曝氣系統、沉淀分離裝置(14)和混合液回流泵(12),出水通過上部出水管(13)流入下一處理單元。
2.根據權利要求1所述的一種連續流好氧顆粒污泥污水生物處理裝置,其特征在于:吸附混合區(2)底部連接有進水管(7)和污泥回流管,吸附混合區(2)內設有雙曲面攪拌器,充分混合原水和回流泥水混合液。
3.根據權利要求2所述的一種連續流好氧顆粒污泥污水生物處理裝置,其特征在于:厭氧區(4)內設有雙曲面攪拌器,雙曲面攪拌器采用周期性運行方式,避免活性污泥長時間沉積板結,厭氧區(4)同時可以轉換部分有機物為不飽和脂肪酸,同時釋放磷酸鹽。
4.根據權利要求3所述的一種連續流好氧顆粒污泥污水生物處理裝置,其特征在于:缺氧區(5)內設有雙曲面攪拌器混合進水與硝化混合液,微生物發生反硝化脫氮和同步脫氮除磷反應,工藝脫氮除磷效果好。
5.根據權利要求4所述的一種連續流好氧顆粒污泥污水生物處理裝置,其特征在于:好氧區(6)底部設有管式曝氣器(11),主要滿足好氧除磷以及硝化反應需求,出水設置混合液回流泵(12),將硝化混合液回流至缺氧區(5)。
6.根據權利要求1或2任意一項所述的連續流好氧顆粒污泥污水生物處理裝置,其特征在于:吸附混合區(2)停留時間控制為0.5h以內,溶解氧控制在0.5mg/L以下,利用微生物物理和生物吸附作用,將有機物吸附。
7.根據權利要求1或3任意一項所述的連續流好氧顆粒污泥污水生物處理裝置,其特征在于:厭氧區(4)攪拌器(3)為周期性啟停,能耗低,更容易形成深度厭氧環境;厭氧區(4)污泥齡不少于5天,氧化還原電位≤-300mv。厭氧區(4)微生物將有機物分解為氨基酸等儲存體內,同時產生釋磷現象,為缺氧區(5)反硝化除磷以及好氧吸磷提供能源。
8.根據權利要求1或4任意一項所述的連續流好氧顆粒污泥污水生物處理裝置,其特征在于:缺氧區(5)溶解氧小于0.5mg/L,缺氧區(5)發生反硝化反應和反硝化除磷,缺氧區(5)氧化還原電位介于0~-100mv。
9.根據權利要求1和5任意一項所述的連續流好氧顆粒污泥污水生物處理裝置,其特征在于:好氧區(6)設有管式曝氣系統,所述曝氣系統從進水端至出水端設置為多級漸減曝氣方式,運行能耗低。
10.根據權利要求1所述的連續流好氧顆粒污泥污水生物處理裝置,其特征在于:好氧區(6)中間設有沉淀分離裝置(14),無需額外增設沉淀裝置,節省占地,好氧區(6)溶解氧控制范圍為1-3mg/L,同時內外回流合二為一,分別輸送至吸附混合區(2)和缺氧區(5),輸送比例為1:3。
發明內容
本發明的目的是為了解決現有技術中存在的缺點,而提出的一種連續流好氧顆粒污泥污水生物處理裝置。
為了實現上述目的,本發明采用了如下技術方案:
設計一種連續流好氧顆粒污泥污水生物處理裝置,包括池體:在所述池體內設置有處理裝置;
所述處理裝置包括吸附區攪拌器、吸附混合區、厭氧區、缺氧區和好氧區、好氧區攪拌器,出水通過上部過水孔洞流入厭氧區;
厭氧區內設有攪拌器避免污泥沉積板結,厭氧區通過底部過水孔與缺氧區聯通;
缺氧區中部設有混合液回流管,同時設有雙曲面攪拌器,缺氧區上部出水設置通過出水孔與好氧區連接;
好氧區內設有管式曝氣系統、沉淀分離裝置和混合液回流泵,出水通過上部出水管流入下一處理單元。
優選的,所述吸附混合區底部連接有進水管和污泥回流管,吸附混合區內設有雙曲面攪拌器,充分混合原水和回流泥水混合液。
優選的,所述厭氧區內設有雙曲面攪拌器,雙曲面攪拌器采用周期性運行方式,避免活性污泥長時間沉積板結,厭氧區同時可以轉換部分有機物為不飽和脂肪酸,同時釋放磷酸鹽。
優選的,所述缺氧區內設有雙曲面攪拌器混合進水與硝化混合液,微生物發生反硝化脫氮和同步脫氮除磷反應,工藝脫氮除磷效果好。
優選的,所述好氧區底部設有管式曝氣器,主要滿足好氧除磷以及硝化反應需求,出水設置混合液回流泵,將硝化混合液回流至缺氧區。
優選的,所述吸附混合區停留時間控制為0.5h以內,溶解氧控制在0.5mg/L以下,利用微生物物理和生物吸附作用,將有機物吸附。
優選的,所述厭氧區攪拌器為周期性啟停,能耗低,更容易形成深度厭氧環境;厭氧區污泥齡不少于5天,氧化還原電位≤-300mv,厭氧區微生物將有機物分解為氨基酸等儲存體內,同時產生釋磷現象,為缺氧區反硝化除磷以及好氧吸磷提供能源。
優選的,所述缺氧區溶解氧小于0.5mg/L,缺氧區發生反硝化反應和反硝化除磷,缺氧區氧化還原電位介于0~-100mv
優選的,所述好氧區設有管式曝氣系統,所述曝氣系統從進水端至出水端設置為多級漸減曝氣方式,運行能耗低。
優選的,所述好氧區中間設有沉淀分離裝置,無需額外增設沉淀裝置,節省占地,好氧區溶解氧控制范圍為1-3mg/L,同時內外回流合二為一,分別輸送至吸附混合區和缺氧區,輸送比例為1:3。
本發明提出的一種連續流好氧顆粒污泥污水生物處理裝置,有益效果在于:該連續流好氧顆粒污泥污水生物處理裝置,系統在好氧池內設置沉淀分離裝置進行固液氣三相分離,好氧池底部由于曝氣和缺氧池出水產生推動力使混合液向上流動,與沉淀裝置的擋板碰撞,然后被擋板推回并向各個方向散開,氣體通過擋板與好氧池壁間的氣-液平面逸散到空氣中,混合液則只能向下運動,在好氧池內形成穩定的內循環,好氧顆粒污泥技術能同步脫氮除磷,節省50%~75%的占地面積和20%~25%的運行費用。
(發明人:楊日劍;劉礦州;陳祥宏;楊小娟;高秀久)






