公布日:2024.05.14
申請日:2024.03.12
分類號:C02F9/00(2023.01)I;C02F1/52(2023.01)N;C02F1/00(2023.01)N;C02F1/50(2023.01)N
摘要
本發明公開了一種光伏微動力牧民生活污水循環處理系統,其包括污水收集箱,污水收集箱的頂部設置有太陽能板,污水收集箱一側的頂部固定有進水管,且進水管的一端和污水收集箱內部相連通,污水收集箱上設置有用于對污水收集箱內生活污水進行攪拌的攪拌機構,污水收集箱的底部設置有存儲箱,且存儲箱的頂部固定有連通管。第二電機帶動偏心輪轉動,偏心輪轉動時帶動回型板移動,回型板移動時帶動移動板移動,當桶槽移動至側板內部時,料斗內部的消毒劑經桶槽掉至集水箱內,當桶槽從料斗內部移出后,則阻擋消毒劑下落,從而使得消毒劑間斷下落,另外第二電機帶動轉軸、橫桿轉動即可將消毒劑和集水箱內部的水充分融合。

權利要求書
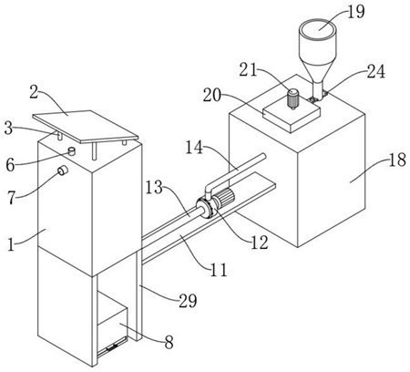
1.一種光伏微動力牧民生活污水循環處理系統,包括污水收集箱(1),其特征在于,所述污水收集箱(1)的頂部設置有太陽能板(2),所述污水收集箱(1)一側的頂部固定有進水管(7),且進水管(7)的一端和污水收集箱(1)內部相連通,所述污水收集箱(1)上設置有用于對污水收集箱(1)內生活污水進行攪拌的攪拌機構,所述污水收集箱(1)的底部設置有存儲箱(8),且存儲箱(8)的頂部固定有連通管(9),且連通管(9)和存儲箱(8)相連通,所述連通管(9)的頂部和污水收集箱(1)的內部相連通,所述連通管(9)的外側固定有第一水管(13),且第一水管(13)和連通管(9)相連通,并且第一水管(13)的內部設置有用于對污水進行過濾的過濾組件,所述污水收集箱(1)的一側設置有集水箱(18),所述集水箱(18)和污水收集箱(1)之間設置有用于將處理后的污水輸送至集水箱(18)內部的輸送機構,所述集水箱(18)的頂部固定有料斗(19),且料斗(19)和集水箱(18)內部相連通,所述集水箱(18)的頂部設置有控制機構。
2.根據權利要求1所述的一種光伏微動力牧民生活污水循環處理系統,其特征在于,所述污水收集箱(1)的頂部固定有進料管(6),且進料管(6)和污水收集箱(1)的內部相連通,所述污水收集箱(1)頂部的四角均固定有支架(3),且支架(3)的頂部和太陽能板(2)的底部相固定。
3.根據權利要求1所述的一種光伏微動力牧民生活污水循環處理系統,其特征在于,所述攪拌機構包括安裝在污水收集箱(1)頂部的第一電機(4),且第一電機(4)的輸出端貫穿污水收集箱(1)且和污水收集箱(1)轉動連接,并且第一電機(4)的輸出端延伸至污水收集箱(1)內的端部固定有攪拌桿(5)。
4.根據權利要求1所述的一種光伏微動力牧民生活污水循環處理系統,其特征在于,所述污水收集箱(1)底部的兩側均固定有側板(29),且存儲箱(8)位于兩個側板(29)之間設置,所述第一水管(13)貫穿其中一個側板(29)并延伸至側板(29)外。
5.根據權利要求4所述的一種光伏微動力牧民生活污水循環處理系統,其特征在于,所述集水箱(18)和其中一個側板(29)之間共同固定有支撐板(11),所述輸送機構包括固定安裝在支撐板(11)上的水泵(12),所述第一水管(13)和水泵(12)的進水口相連,所述水泵(12)的出水口固定連通有第二水管(14),且第二水管(14)遠離水泵(12)的一端和集水箱(18)相固定,并和集水箱(18)的內部相連通。
6.根據權利要求1所述的一種光伏微動力牧民生活污水循環處理系統,其特征在于,所述連通管(9)的內部安裝有第一電磁閥(10),所述第一水管(13)的內部安裝有第二電磁閥(15)。
7.根據權利要求6所述的一種光伏微動力牧民生活污水循環處理系統,其特征在于,所述過濾機構包括固定在第一水管(13)內部的第一過濾網(16)和第二過濾網(17),且第一過濾網(16)位于第二過濾網(17)靠近第二電磁閥(15)的一側設置。
8.根據權利要求1所述的一種光伏微動力牧民生活污水循環處理系統,其特征在于,所述控制機構包括固定在集水箱(18)頂部的空心板(20),且空心板(20)的內部設置有回型板(23),所述回型板(23)的一側固定有移動板(24),且移動板(24)滑動配合于料斗(19)內,所述移動板(24)內開設有桶槽(25),所述空心板(20)上設置有用于驅動移動板(24)移動的驅動單元。
9.根據權利要求8所述的一種光伏微動力牧民生活污水循環處理系統,其特征在于,所述驅動單元包括固定在空心板(20)的頂部固定有第二電機(21),所述第二電機(21)的輸出端固定有轉軸(26),且轉軸(26)貫穿空心板(20)、集水箱(18)并和空心板(20)、集水箱(18)轉動連接,所述轉軸(26)位于空心板(20)內部的外側固定有偏心輪(22),且偏心輪(22)轉動配合于回型板(23)的內部。
10.根據權利要求9所述的一種光伏微動力牧民生活污水循環處理系統,其特征在于,所述轉軸(26)延伸至集水箱(18)內部的外側固定有多個橫桿(27),所述集水箱(18)底部的一側固定有出水管(28),且出水管(28)和集水箱(18)的內部相連通,所述存儲箱(8)的一側開設有排污槽,且排污槽的內部插設有塞塊(30)。
發明內容
(一)發明目的
有鑒于此,本發明的目的在于提出一種光伏微動力牧民生活污水循環處理系統,旨在解決背景技術中提出的現有的牧民對于部分可回收再利用的生活污水并沒有充分的利用起來,導致水資源浪費的問題。
(二)技術方案
為達到上述技術目的,本發明提供了一種光伏微動力牧民生活污水循環處理系統:
其包括污水收集箱,所述污水收集箱的頂部設置有太陽能板,所述污水收集箱一側的頂部固定有進水管,且進水管的一端和污水收集箱內部相連通,所述污水收集箱上設置有用于對污水收集箱內生活污水進行攪拌的攪拌機構,所述污水收集箱的底部設置有存儲箱,且存儲箱的頂部固定有連通管,且連通管和存儲箱相連通,所述連通管的頂部和污水收集箱的內部相連通,所述連通管的外側固定有第一水管,且第一水管和連通管相連通,并且第一水管的內部設置有用于對污水進行過濾的過濾組件,所述污水收集箱的一側設置有集水箱,所述集水箱和污水收集箱之間設置有用于將處理后的污水輸送至集水箱內部的輸送機構,所述集水箱的頂部固定有料斗,且料斗和集水箱內部相連通,所述集水箱的頂部設置有控制機構。
優選的,所述污水收集箱的頂部固定有進料管,且進料管和污水收集箱的內部相連通,所述污水收集箱頂部的四角均固定有支架,且支架的頂部和太陽能板的底部相固定。
優選的,所述攪拌機構包括安裝在污水收集箱頂部的第一電機,且第一電機的輸出端貫穿污水收集箱且和污水收集箱轉動連接,并且第一電機的輸出端延伸至污水收集箱內的端部固定有攪拌桿。
優選的,所述污水收集箱底部的兩側均固定有側板,且存儲箱位于兩個側板之間設置,所述第一水管貫穿其中一個側板并延伸至側板外。
優選的,所述集水箱和其中一個側板之間共同固定有支撐板,所述輸送機構包括固定安裝在支撐板上的水泵,所述第一水管和水泵的進水口相連,所述水泵的出水口固定連通有第二水管,且第二水管遠離水泵的一端和集水箱相固定,并和集水箱的內部相連通。
優選的,所述連通管的內部安裝有第一電磁閥,所述第一水管的內部安裝有第二電磁閥。
優選的,所述過濾機構包括固定在第一水管內部的第一過濾網和第二過濾網,且第一過濾網位于第二過濾網靠近第二電磁閥的一側設置。
優選的,所述控制機構包括固定在集水箱頂部的空心板,且空心板的內部設置有回型板,所述回型板的一側固定有移動板,且移動板滑動配合于料斗內,所述移動板內開設有桶槽,所述空心板上設置有用于驅動移動板移動的驅動單元。
優選的,所述驅動單元包括固定在空心板的頂部固定有第二電機,所述第二電機的輸出端固定有轉軸,且轉軸貫穿空心板、集水箱并和空心板、集水箱轉動連接,所述轉軸位于空心板內部的外側固定有偏心輪,且偏心輪轉動配合于回型板的內部。
優選的,所述轉軸延伸至集水箱內部的外側固定有多個橫桿,所述集水箱底部的一側固定有出水管,且出水管和集水箱的內部相連通,所述存儲箱的一側開設有排污槽,且排污槽的內部插設有塞塊。
從以上技術方案可以看出,本申請具有以下有益效果:
1:通過連通管、存儲箱和第一水管的設置,當污水在污水收集箱的內部進行處理后,處理后的水經第一水管、第二水管排至集水箱的內部,留下的顆粒絮狀物經連通管排至存儲箱的內部,從而使得污水處理后的可利用水和污漬分開進行處理。
2:通過偏心輪、回型板和移動板的設置,啟動第二電機,第二電機帶動偏心輪轉動,偏心輪轉動時帶動回型板移動,回型板移動時帶動移動板移動,當桶槽移動至側板內部時,料斗內部的消毒劑經桶槽掉至集水箱內,當桶槽從料斗內部移出后,則阻擋消毒劑下落,從而使得消毒劑間斷下落,另外第二電機帶動轉軸、橫桿轉動即可將消毒劑和集水箱內部的水充分融合。
(發明人:吳協祥;吳可軒)






