公布日:2023.11.17
申請日:2023.09.19
分類號:C12M1/36(2006.01)I;C12M1/34(2006.01)I;C12M1/107(2006.01)I;C12M1/04(2006.01)I;C12M1/00(2006.01)I
摘要
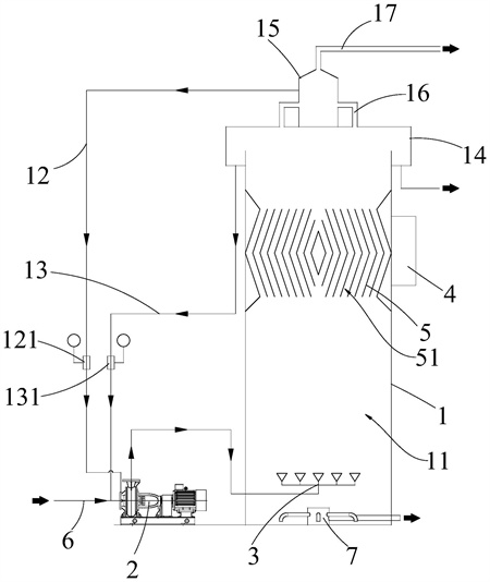
本申請涉及清潔能源設備技術領域,提供一種厭氧生物反應器。厭氧生物反應器,包括:反應器,反應器內設有反應腔,反應器設有與反應腔連通的出氣口;溶氣泵,與反應腔連通,溶氣泵用于向反應腔內輸送氣水混合物;布水組件,設于反應腔內,布水組件與溶氣泵連接,布水組件用于將氣水混合物均勻分散到反應腔內;超聲波震蕩組件,設于反應器的壁面,超聲波震蕩組件用于向反應腔內發射高頻超聲波;折流組件,設于反應腔內,折流組件位于布水組件和出氣口之間,折流組件形成有彎折流道。根據本申請的厭氧生物反應器,可以有效的提高污泥和反應物的傳質效率,加快氣泡和污泥的分離,使得反應器內的污泥濃度保持穩定,確保了反應器的處理效率和處理效果。

權利要求書
1.一種厭氧生物反應器,其特征在于,包括:反應器,所述反應器內設有反應腔,所述反應器的頂部設有與所述反應腔連通的出氣口;溶氣泵,與所述反應腔連通,所述溶氣泵用于向所述反應腔內輸送氣水混合物;布水組件,設于所述反應腔內,所述布水組件與所述溶氣泵連接,所述布水組件用于將氣水混合物均勻的分散到所述反應腔內;超聲波震蕩組件,設于所述反應器的壁面,所述超聲波震蕩組件用于向所述反應腔內發射高頻超聲波;折流組件,設于所述反應腔內,所述折流組件位于所述布水組件和所述出氣口之間,所述折流組件形成有彎折流道。
2.根據權利要求1所述的厭氧生物反應器,其特征在于,所述反應器的頂部設有沼氣循環管,所述沼氣循環管的一端與所述反應腔連通,所述沼氣循環管的另一端與所述溶氣泵的氣體入口連通。
3.根據權利要求2所述的厭氧生物反應器,其特征在于,所述反應器的上部設有回流管,所述回流管的一端與所述反應腔連通,所述反應腔的另一端與所述溶氣泵的液體入口連通,所述厭氧生物反應器包括進水管,所述進水管與所述溶氣泵的液體入口連通。
4.根據權利要求3所述的厭氧生物反應器,其特征在于,所述沼氣循環管安裝有氣體流量計,所述氣體流量計用于檢測經過所述沼氣循環管輸送到所述溶氣泵的氣體的流量,所述回流管安裝有液體流量計,所述液體流量計用于檢測經過所述回流管流動到所述溶氣泵的液體的流量。
5.根據權利要求1至4任意一項所述的厭氧生物反應器,其特征在于,所述折流組件包括導流塊,關于所述導流塊對稱設置有多個折流板,關于所述導流塊對稱設置有至少兩個導流板,所述折流板位于所述導流板和所述導流塊之間,所述導流板與所述反應腔的內壁面抵接其中,所述折流板包括互成夾角的上折流板和下折流板,所述導流板包括互成夾角的上導流板和下導流板,所述導流塊的外壁面為傾斜面。
6.根據權利要求1至4任意一項所述的厭氧生物反應器,其特征在于,所述超聲波震蕩組件的超聲波發生器安裝于所述反應器的外壁面,所述超聲波震蕩組件的超聲波換能器安裝于所述折流組件。
7.根據權利要求6所述的厭氧生物反應器,其特征在于,所述反應腔內設有多排所述超聲波換能器,相鄰兩排的所述超聲波換能器相互錯開。
8.根據權利要求1至4任意一項所述的厭氧生物反應器,其特征在于,所述布水組件包括布水總管、分支管、環形分配管和多個擴張噴嘴,所述布水總管的一端與所述溶氣泵的出口連通,所述分支管的一端與所述布水總管連通,所述分支管的另一端與所述環形分配管連通,多個所述擴張噴嘴沿著所述環形分配管的周向均勻分布。
9.根據權利要求8所述的厭氧生物反應器,其特征在于,所述擴張噴嘴包括依次連接的入口段、縮頸段、擴張段和出口段,所述縮頸段的橫截面積小于所述入口段的橫截面積,所述擴張段的橫截面積沿著所述縮頸段到所述出口段的方向逐漸增大,所述擴張段的橫截面積大于所述縮頸段的橫截面積。
10.根據權利要求1至4任意一項所述的厭氧生物反應器,其特征在于,所述厭氧生物反應器包括排泥組件,所述排泥組件的一端與所述反應腔的底部連通,所述排泥組件的另一端位于所述反應腔之外的空間,所述排泥組件適于將所述反應腔內的污泥排出所述反應腔。
發明內容
本申請旨在至少解決相關技術中存在的技術問題之一。為此,本申請提出一種厭氧生物反應器,可以有效的提高污泥和反應物的傳質效率,加快氣泡和污泥的分離,使得反應器內的污泥濃度保持穩定,確保了反應器的處理效率和處理效果,且可以有效的降低所消耗的電能。
根據本申請實施例的厭氧生物反應器,包括:
反應器,所述反應器內設有反應腔,所述反應器的頂部設有與所述反應腔連通的出氣口;
溶氣泵,與所述反應腔連通,所述溶氣泵用于向所述反應腔內輸送氣水混合物;
布水組件,設于所述反應腔內,所述布水組件與所述溶氣泵連接,所述布水組件用于將氣水混合物均勻的分散到所述反應腔內;
超聲波震蕩組件,設于所述反應器的壁面,所述超聲波震蕩組件用于向所述反應腔內發射高頻超聲波;
折流組件,設于所述反應腔內,所述折流組件位于所述布水組件和所述出氣口之間,所述折流組件形成有彎折流道。
根據本申請實施例的厭氧生物反應器,通過溶氣泵將氣水混合物輸送到布水組件處,然后布水組件將氣水混合物向上噴出,布水組件可以將混合液體在反應腔內進行擴散,進而在反應腔內形成含有大量細小泡沫的混合液體,使得廢水在反應腔內混合均勻,使得廢水可以和厭氧污泥充分接觸反應,提高了反應器的效率和效果,可以在低功耗的情況下完成對廢水的處理。而在混合液體的湍流作用下,厭氧污泥會和廢水中的污染物充分接觸和反應生成沼氣,液體中的沼氣又會形成氣泡,氣泡會攜帶污泥往上移動,布水組件也是將氣水混合物向上噴射的,進而可以加快反應腔內的污泥向上移動的速度。在攜帶有污泥的氣泡經過超聲波震蕩組件時,在超聲波的高頻震蕩作用下,可以使得氣泡和污泥快速分離。在攜帶有污泥的氣泡經過折流組件時,由于折流組件處的流道的是彎折流道,氣泡和污泥在流經彎折流道進行層流運動,在低流速的層流運動下,氣泡的上升速度和污泥的上升速度不同,進而有利于氣泡和污泥的快速分離。進而本申請可以有效的提高污泥和反應物的傳質效率,加快氣泡和污泥的分離,污泥與氣泡分離后會在重力的作用下下降到反應腔的底部,使得反應器內的污泥濃度保持穩定,可以有效的和廢水進行反應,確保了反應器的處理效率和處理效果,且可以有效的降低所消耗的電能。
根據本申請的一個實施例,所述反應器的頂部設有沼氣循環管,所述沼氣循環管的一端與所述反應腔連通,所述沼氣循環管的另一端與所述溶氣泵的氣體入口連通。
根據本申請的一個實施例,所述反應器的上部設有回流管,所述回流管的一端與所述反應腔連通,所述反應腔的另一端與所述溶氣泵的液體入口連通,所述厭氧生物反應器包括進水管,所述進水管與所述溶氣泵的液體入口連通。
根據本申請的一個實施例,所述沼氣循環管安裝有氣體流量計,所述氣體流量計用于檢測經過所述沼氣循環管輸送到所述溶氣泵的氣體的流量,所述回流管安裝有液體流量計,所述液體流量計用于檢測經過所述回流管流動到所述溶氣泵的液體的流量。
根據本申請的一個實施例,所述折流組件包括導流塊,關于所述導流塊對稱設置有多個折流板,關于所述導流塊對稱設置有至少兩個導流板,所述折流板位于所述導流板和所述導流塊之間,所述導流板與所述反應腔的內壁面抵接其中,所述折流板包括互成夾角的上折流板和下折流板,所述導流板包括互成夾角的上導流板和下導流板,所述導流塊的外壁面為傾斜面。
根據本申請的一個實施例,所述超聲波震蕩組件的超聲波發生器安裝于所述反應器的外壁面,所述超聲波震蕩組件的超聲波換能器安裝于所述折流組件。
根據本申請的一個實施例,所述反應腔內設有多排所述超聲波換能器,相鄰兩排的所述超聲波換能器相互錯開。
根據本申請的一個實施例,所述布水組件包括布水總管、分支管、環形分配管和多個擴張噴嘴,所述布水總管的一端與所述溶氣泵的出口連通,所述分支管的一端與所述布水總管連通,所述分支管的另一端與所述環形分配管連通,多個所述擴張噴嘴沿著所述環形分配管的周向均勻分布。
根據本申請的一個實施例,所述擴張噴嘴包括依次連接的入口段、縮頸段、擴張段和出口段,所述縮頸段的橫截面積小于所述入口段的橫截面積,所述擴張段的橫截面積沿著所述縮頸段到所述出口段的方向逐漸增大,所述擴張段的橫截面積大于所述縮頸段的橫截面積。
根據本申請的一個實施例,所述厭氧生物反應器包括排泥組件,所述排泥組件的一端與所述反應腔的底部連通,所述排泥組件的另一端位于所述反應腔之外的空間,所述排泥組件適于將所述反應腔內的污泥排出所述反應腔。
(發明人:吳靖宇;楊吉祥;董健;張愛軍;李保光;戴小東)






