公布日:2024.05.14
申請日:2024.03.07
分類號:B01D29/94(2006.01)I;B01D29/96(2006.01)I;B01D29/72(2006.01)I
摘要
本發明涉及污水處理領域,尤其涉及一種污水格柵垃圾分離裝置。格柵在傾倒垃圾時會有較輕的垃圾駐留在格柵上,同時攔截下的垃圾會帶有泥水,不便于后續的垃圾轉運處理。一種污水格柵垃圾分離裝置,包括有兩個安裝主架;水壩墻體中部開有出水口,兩個所述安裝主架固定連接在所述水壩墻體出水口的兩側,所述水壩墻體一側固定連接有出料斗,所述水壩墻體頂部有電機。當伸入水中的攔截網柵攔截一定時間的垃圾后,電機自動啟動,使得刮動盤向靠近出料斗的方向移動,刮動盤的移動將處于內筒空腔內的垃圾向出料斗推動,電機持續轉動,內筒轉動帶動伸入水中的攔截網柵轉動90度,而攔截網柵轉動會將水面的垃圾撈起。

權利要求書
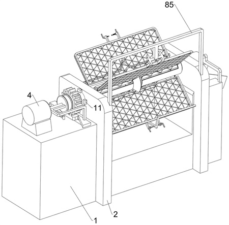
1.一種污水格柵垃圾分離裝置,其特征是:包括有兩個安裝主架(2),水壩墻體(1)中部開有出水口,兩個所述安裝主架(2)固定連接在所述水壩墻體(1)出水口的兩側,所述水壩墻體(1)一側固定連接有出料斗(3),所述水壩墻體(1)頂部有電機(4),兩個所述安裝主架(2)相互靠近的一面都固定連接有垃圾收集管(5),兩個所述垃圾收集管(5)底部均鏤空,所述安裝主架(2)和所述垃圾收集管(5)上設有垃圾推送部件,所述垃圾推送部件用于推出垃圾收集管(5)內收集的垃圾,所述垃圾攔截部件上設有垃圾攔截部件,所述垃圾攔截部件與所述水壩墻體(1)連接,所述垃圾攔截部件用于攔截所述水壩墻體(1)出水口處的垃圾。
2.按照權利要求1所述的一種污水格柵垃圾分離裝置,其特征是:垃圾推送部件包括有雙向絲桿(61),所述電機(4)輸出軸上固定連接有雙向絲桿(61),所述雙向絲桿(61)上通過螺紋連接有刮動盤(63),兩個所述安裝主架(2)之間轉動式連接有內筒(62),所述內筒(62)穿過兩個所述垃圾收集管(5),所述內筒(62)外壁和所述垃圾收集管(5)內壁接觸,所述內筒(62)靠近電機(4)的一側封閉,所述內筒(62)另一側未封閉,所述內筒(62)中部鏤空,所述電機(4)輸出軸穿過所述內筒(62)封閉的一側并伸入所述內筒(62)內部,所述刮動盤(63)和所述內筒(62)內壁滑動連接。
3.按照權利要求2所述的一種污水格柵垃圾分離裝置,其特征是:垃圾攔截部件包括有攔截網柵(71),所述內筒(62)上固定連接有四個攔截網柵(71),所述內筒(62)靠近所述電機(4)的一端固定連接有超越離合器(72),所述超越離合器(72)上固定連接有柱齒輪(73),所述內筒(62)封閉的一端滑動式連接有斜塊(74),所述斜塊(74)的一端穿過所述內筒(62)封閉的一端,且所述斜塊(74)的一端與所述刮動盤(63)接觸,所述水壩墻體(1)靠近所述電機(4)的一側滑動式連接有齒桿(75),所述齒桿(75)處于所述柱齒輪(73)正下方,所述柱齒輪(73)和所述齒桿(75)嚙合,所述齒桿(75)和所述斜塊(74)接觸,所述齒桿(75)和所述水壩墻體(1)間連接有拉力彈簧(76)。
4.按照權利要求3所述的一種污水格柵垃圾分離裝置,其特征是:還包括有轉動磁鐵(11),所述內筒(62)靠近所述柱齒輪(73)的一端固定連接有四個轉動磁鐵(11),靠近所述電機(4)的所述安裝主架(2)上固定連接有四個固定磁鐵(12),所述固定磁鐵(12)與所述轉動磁鐵(11)磁性相反,所述固定磁鐵(12)與所述轉動磁鐵(11)相吸。
5.按照權利要求4所述的一種污水格柵垃圾分離裝置,其特征是:還包括有垃圾刮除部件,所述垃圾刮除部件設于所述安裝主架(2)和所述攔截網柵(71)上,所述垃圾刮除部件包括有刮框(81),四個所述攔截網柵(71)上均滑動式連接有刮框(81),四個所述刮框(81)上均開有兩個鎖定孔(84),四個所述攔截網柵(71)上均滑動式連接有兩個限位桿(82),所述限位桿(82)可卡入所述鎖定孔(84)內,所述限位桿(82)和所述攔截網柵(71)之間連接有復位彈簧(83),兩個所述安裝主架(2)之間固定連接有擠壓架(85),所述擠壓架(85)與其中兩個限位桿(82)接觸。
6.按照權利要求1所述的一種污水格柵垃圾分離裝置,其特征是:還包括有垃圾泥水篩除部件,所述垃圾泥水篩除部件設于所述垃圾收集管(5)上,所述垃圾泥水篩除部件包括有安裝塊(91),兩個所述垃圾收集管(5)底部鏤空邊框兩側均固定連接有兩個安裝塊(91),同一側的兩個所述安裝塊(91)為一組,四個所述安裝塊(91)之間滑動式連接有篩網(92),所述篩網(92)上設有若干個凸球(94),所述篩網(92)和所述安裝塊(91)之間連接有壓力彈簧(93)。7.按照權利要求3所述的一種污水格柵垃圾分離裝置,其特征是:還包括有阻擋塊(10),所述內筒(62)中部固定連接有四個阻擋塊(10),四個所述阻擋塊(10)處于四個所述攔截網柵(71)之間。
8.按照權利要求5所述的一種污水格柵垃圾分離裝置,其特征是:所述鎖定孔(84)內設有斜面。
9.按照權利要求5所述的一種污水格柵垃圾分離裝置,其特征是:所述擠壓架(85)由一個支撐架和固定連接在支撐架上的兩個擠壓塊構成。
10.按照權利要求7所述的一種污水格柵垃圾分離裝置,其特征是:所述擋塊(10)上設有兩個錐面。
發明內容
以解決格柵在傾倒垃圾時會有較輕的垃圾駐留在格柵上,同時攔截下的垃圾會帶有泥水,不便于后續的垃圾轉運處理的缺點,本發明提供一種能夠對打撈的垃圾進行收集,且在格柵傾倒垃圾將殘留的垃圾刮入內筒中,還能夠通過抖動來篩落垃圾中的泥水,方便后續垃圾轉運的污水格柵垃圾分離裝置。
本發明的技術實施方案是:一種污水格柵垃圾分離裝置,包括有兩個安裝主架,水壩墻體中部開有出水口,兩個所述安裝主架固定連接在所述水壩墻體出水口的兩側,所述水壩墻體一側固定連接有出料斗,所述水壩墻體頂部有電機,兩個所述安裝主架相互靠近的一面都固定連接有垃圾收集管,兩個所述垃圾收集管底部均鏤空,所述安裝主架和所述垃圾收集管上設有垃圾推送部件,所述垃圾推送部件用于推出垃圾收集管內收集的垃圾,所述垃圾攔截部件上設有垃圾攔截部件,所述垃圾攔截部件與所述水壩墻體連接,所述垃圾攔截部件用于攔截所述水壩墻體出水口處的垃圾。
進一步的是,垃圾推送部件包括有雙向絲桿,所述電機輸出軸上固定連接有雙向絲桿,所述雙向絲桿上通過螺紋連接有刮動盤,兩個所述安裝主架之間轉動式連接有內筒,所述內筒穿過兩個所述垃圾收集管,所述內筒外壁和所述垃圾收集管內壁接觸,所述內筒靠近電機的一側封閉,所述內筒另一側未封閉,所述內筒中部鏤空,所述電機輸出軸穿過所述內筒封閉的一側并伸入所述內筒內部,所述刮動盤和所述內筒內壁滑動連接。
進一步的是,垃圾攔截部件包括有攔截網柵,所述內筒上固定連接有四個攔截網柵,所述內筒靠近所述電機的一端固定連接有超越離合器,所述超越離合器上固定連接有柱齒輪,所述內筒封閉的一端滑動式連接有斜塊,所述斜塊的一端穿過所述內筒封閉的一端,且所述斜塊的一端與所述刮動盤接觸,所述水壩墻體靠近所述電機的一側滑動式連接有齒桿,所述齒桿處于所述柱齒輪正下方,所述柱齒輪和所述齒桿嚙合,所述齒桿和所述斜塊接觸,所述齒桿和所述水壩墻體間連接有拉力彈簧。
進一步的是,還包括有轉動磁鐵,所述內筒靠近所述柱齒輪的一端固定連接有四個轉動磁鐵,靠近所述電機的所述安裝主架上固定連接有四個固定磁鐵,所述固定磁鐵與所述轉動磁鐵磁性相反,所述固定磁鐵與所述轉動磁鐵相吸。
進一步的是,還包括有垃圾刮除部件,所述垃圾刮除部件設于所述安裝主架和所述攔截網柵上,所述垃圾刮除部件包括有刮框,四個所述攔截網柵上均滑動式連接有刮框,四個所述刮框上均開有兩個鎖定孔,四個所述攔截網柵上均滑動式連接有兩個限位桿,所述限位桿可卡入所述鎖定孔內,所述限位桿和所述攔截網柵之間連接有復位彈簧,兩個所述安裝主架之間固定連接有擠壓架,所述擠壓架與其中兩個限位桿接觸。
進一步的是,還包括有垃圾泥水篩除部件,所述垃圾泥水篩除部件設于所述垃圾收集管上,所述垃圾泥水篩除部件包括有安裝塊,兩個所述垃圾收集管底部鏤空邊框兩側均固定連接有兩個安裝塊,同一側的兩個所述安裝塊為一組,四個所述安裝塊之間滑動式連接有篩網,所述篩網上設有若干個凸球,所述篩網和所述安裝塊之間連接有壓力彈簧。
進一步的是,還包括有阻擋塊,所述內筒中部固定連接有四個阻擋塊,四個所述阻擋塊處于四個所述攔截網柵之間。
進一步的是,所述鎖定孔內設有斜面。
進一步的是,所述擠壓架由一個支撐架和固定連接在支撐架上的兩個擠壓塊構成。
進一步的是,所述擋塊上設有兩個錐面。
本發明具有如下優點:1、當伸入水中的攔截網柵攔截一定時間的垃圾后,電機自動啟動,使得刮動盤向靠近出料斗的方向移動,刮動盤的移動將處于內筒空腔內的垃圾向出料斗推動,電機持續轉動,內筒轉動帶動伸入水中的攔截網柵轉動90度,而攔截網柵轉動會將水面的垃圾撈起,攔截網柵傾斜著懸停在半空中,垃圾會在重力作用下沿著攔截網柵表面滑落進垃圾收集管內,如此往復實現對水面垃圾的清除,這樣就實現了對水面垃圾的打撈和自動推走的效果,免去了人工再將打撈上來的垃圾轉移走的步驟,只需定期將出料斗處的垃圾轉運走便可。
2、攔截網柵轉動90度傾斜懸空著時,限位桿會被擠壓架擠壓脫離鎖定孔,復位彈簧壓縮,刮框不再受到限位,在刮框自身重力的作用下,刮框沿著攔截網柵表面向攔截網柵底部滑動,攔截網柵表面的垃圾會被帶著向內筒移動,這樣就有一個輔助垃圾落入垃圾收集管內的作用,使得攔截網柵表面的垃圾清理更徹底。
3、在刮動盤向出料斗方向移動時,刮動盤會頂擊篩網上的凸球,凸球受到擠壓向下方移動,凸球帶動篩網向下移動,壓力彈簧壓縮,當凸球和刮動盤脫離時,篩網不再受到擠壓,壓力彈簧復位,壓力彈簧帶動篩網復位,這樣篩網就有一個上下抖動的動作,如此處于篩網上方的垃圾就會一起抖動,使得垃圾中的水和泥沙就能夠通過抖動篩出方便后續垃圾處理。
(發明人:孫旗;劉鵬舉;李海平;劉濤;孫志華)






