公布日:2023.11.17
申請日:2023.09.07
分類號:C02F1/52(2023.01)I;B01F27/90(2022.01)I;B01D21/18(2006.01)I;B01D21/24(2006.01)I
摘要
本發明涉及排泥系統技術領域,公開了一種機械攪拌澄清池自動排泥系統及工藝,包括底座,所述底座一端的上表面等距固定安裝有多根支腿所述支腿的頂端固定安裝有攪拌池,所述底座的上表面對稱固定安裝有兩塊支撐板,兩塊所述支撐板的頂端固定安裝有污泥箱。本發明通過轉軸帶動排泥扇片轉動,排泥扇片將污泥刮到排污槽的內部,通過轉軸帶動導槽轉動,使導槽通過導柱帶動閘板沿著排污槽往復移動,當閘板的出口與排污槽底壁的通孔重疊時,污泥從通孔流入到下方的污泥箱的內部,通過閘板間歇的移動將澄清池內部的污泥排出,避免污泥將排泥管道堵住,減少操作人員維護排泥管道的時間。

權利要求書
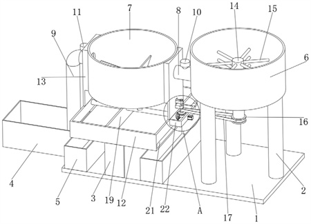
1.一種機械攪拌澄清池自動排泥系統,包括底座(1),其特征在于,所述底座(1)一端的上表面等距固定安裝有多根支腿(2)所述支腿(2)的頂端固定安裝有攪拌池(6),所述底座(1)的上表面對稱固定安裝有兩塊支撐板(3),兩塊所述支撐板(3)的頂端固定安裝有污泥箱(12),所述污泥箱(12)相對兩側的外表面均貫穿開設有排污口(21),所述底座(1)的上表面對稱設置有兩輛污泥車(5),兩輛所述污泥車(5)分別設置于兩個排污口(21)的下方,所述污泥箱(12)的上表面對稱固定安裝有兩塊安裝板(13),兩塊所述安裝板(13)的頂端固定安裝有澄清池(7),所述底座(1)遠離攪拌池(6)的一端固定安裝有清水池(4),所述攪拌池(6)的底壁轉動安裝有攪拌軸(14),所述攪拌軸(14)的外表面均勻固定安裝有攪拌棒(15),所述澄清池(7)的底壁轉動安裝有轉軸(18),所述轉軸(18)的外表面均勻固定安裝有多個排泥扇片(38),所述污泥箱(12)的下表面設有排泥組件,所述排泥組件包括等距固定安裝有于污泥箱(12)下表面的多個排污槽(33),多個所述排污槽(33)的內壁均滑動安裝有閘板(34),所述污泥箱(12)相對兩側的內壁之間滑動安裝有刮板(19),所述污泥箱(12)上設有帶動排泥扇片(38)轉動的驅動機構,所述污泥箱(12)上設有帶動攪拌軸(14)轉動的運動機構,所述污泥箱(12)的內部設有帶動刮板(19)往復移動的運動組件,所述轉軸(18)與閘板(34)之間設有帶動閘板(34)往復移動的驅動組件。
2.根據權利要求1所述的一種機械攪拌澄清池自動排泥系統,其特征在于,所述驅動機構包括固定安裝于污泥箱(12)靠近攪拌池(6)一側外表面的安裝框(22),所述安裝框(22)的一側外表面固定安裝有驅動電機(23)。
3.根據權利要求2所述的一種機械攪拌澄清池自動排泥系統,其特征在于,所述驅動電機(23)的輸出端貫穿安裝框(22)的外表面并固定安裝有第一錐齒輪(24),其中一塊所述安裝板(13)靠近驅動電機(23)一側的外表面固定安裝有支座(26),所述支座(26)的上表面轉動安裝有第一傳動軸(27),所述第一傳動軸(27)的底端貫穿支座(26)的外表面并固定安裝有第二錐齒輪(25),所述第一錐齒輪(24)與第二錐齒輪(25)相嚙合,所述第一傳動軸(27)的頂端固定安裝有第三帶輪(28)。
4.根據權利要求3所述的一種機械攪拌澄清池自動排泥系統,其特征在于,所述轉軸(18)的底端貫穿澄清池(7)的下表面并固定安裝有第二傳動軸(36),所述第二傳動軸(36)的外表面固定安裝有第四帶輪(30),所述第三帶輪(28)與第四帶輪(30)的外表面套設有第二皮帶(31),其中一塊所述安裝板(13)的外表面貫穿開設有便于第二皮帶(31)穿過的開口(32)。
5.根據權利要求1所述的一種機械攪拌澄清池自動排泥系統,其特征在于,所述運動機構包括固定安裝于第一傳動軸(27)外表面的第二帶輪(29),所述第二帶輪(29)設置于支座(26)與第二錐齒輪(25)之間,所述攪拌軸(14)的底端貫穿攪拌池(6)的下表面并固定安裝有第一帶輪(16),所述第一帶輪(16)與第二帶輪(29)的外表面套設有第一皮帶(17)。
6.根據權利要求1所述的一種機械攪拌澄清池自動排泥系統,其特征在于,所述運動組件包括轉動安裝于污泥箱(12)相對兩側內壁之間的往復絲桿(20),所述往復絲桿(20)貫穿刮板(19)的外表面并與其螺紋連接,所述往復絲桿(20)靠近驅動電機(23)的一端貫穿污泥箱(12)的外表面并與第一錐齒輪(24)的轉動中心固定安裝。
7.根據權利要求1所述的一種機械攪拌澄清池自動排泥系統,其特征在于,所述驅動組件包括開設于轉軸(18)底端端面的導槽(37),所述閘板(34)靠近轉軸(18)一端的上表面固定安裝有導柱(35),所述導柱(35)與導槽(37)的內壁滑動安裝,所述導槽(37)通過導柱(35)帶動閘板(34)間歇往復移動。
8.根據權利要求1所述的一種機械攪拌澄清池自動排泥系統,其特征在于,所述閘板(34)的外表面等距貫穿開設有多個出口(39),所述排污槽(33)的底壁等距貫穿開設有多個與出口(39)相匹配的通孔。
9.根據權利要求1所述的一種機械攪拌澄清池自動排泥系統,其特征在于,所述攪拌池(6)與澄清池(7)之間固定安裝有連接管(8),所述連接管(8)上設置有第一電磁閥(10),所述攪拌池(6)通過連接管(8)與澄清池(7)的內部相連通,所述澄清池(7)靠近清水池(4)一側的外表面固定安裝有出水管(9),所述出水管(9)上設置有第二電磁閥(11),所述澄清池(7)通過出水管(9)與清水池(4)的內部相連通,所述出水管(9)的進水端比連接管(8)的出水端低。
10.一種機械攪拌澄清池自動排泥工藝,其特征在于,采用權利要求1-9任一所述的機械攪拌澄清池自動排泥系統,包括以下步驟:S1:在使用時,通過攪拌軸(14)帶動攪拌棒(15)將污水與絮凝劑的混合溶液進行充分攪拌,使其混合均勻便于污水內部雜質的凝絮;S2:通過轉軸(18)帶動排泥扇片(38)轉動,排泥扇片(38)將污泥刮到排污槽(33)的內部,通過轉軸(18)帶動導槽(37)轉動,使導槽(37)通過導柱(35)帶動閘板(34)沿著排污槽(33)往復移動,當閘板(34)的出口與排污槽(33)底壁的通孔重疊時,污泥從通孔流入到下方的污泥箱(12)的內部,通過閘板(34)間歇的移動將澄清池(7)內部的污泥排出,避免污泥將排泥管道堵住,減少操作人員維護排泥管道的時間;S3:通過第一錐齒輪(24)帶動往復絲桿(20)轉動,使往復絲桿(20)帶動刮板(19)往復移動,將污泥箱(12)內部污泥從兩側的排污口(21)排出到下方的污泥車(5)的內部,通過本裝置便于及時將污泥排出到污泥車(5)的內部,操作人員可以將污泥車(5)內部的污泥運輸到指定為止,便于后續處理,通過本裝置當澄清池(7)在靜置時,操作人員可以將下一批的污水注入到攪拌池(6)的內部,當排泥組件在工作時,攪拌池(6)的內部可以對新的一批污水進行攪拌,以此循環可以連續對污水進行處理。
發明內容
本發明的目的是為了解決現有技術中存在的缺點,而提出的一種機械攪拌澄清池自動排泥系統及工藝。
為了實現上述目的,本發明采用了如下技術方案:
一種機械攪拌澄清池自動排泥系統及工藝,包括底座,所述底座一端的上表面等距固定安裝有多根支腿所述支腿的頂端固定安裝有攪拌池,所述底座的上表面對稱固定安裝有兩塊支撐板,兩塊所述支撐板的頂端固定安裝有污泥箱,所述污泥箱相對兩側的外表面均貫穿開設有排污口,所述底座的上表面對稱設置有兩輛污泥車,兩輛所述污泥車分別設置于兩個排污口的下方,所述污泥箱的上表面對稱固定安裝有兩塊安裝板,兩塊所述安裝板的頂端固定安裝有澄清池,所述底座遠離攪拌池的一端固定安裝有清水池,所述攪拌池與澄清池之間固定安裝有連接管,所述連接管上設置有第一電磁閥,所述攪拌池通過連接管與澄清池的內部相連通,所述澄清池靠近清水池一側的外表面固定安裝有出水管,所述出水管上設置有第二電磁閥,所述澄清池通過出水管與清水池的內部相連通,所述攪拌池的底壁轉動安裝有攪拌軸,所述攪拌軸的外表面均勻固定安裝有攪拌棒,所述澄清池的底壁轉動安裝有轉軸,所述轉軸的外表面均勻固定安裝有多個排泥扇片,所述污泥箱的下表面設有排泥組件,所述排泥組件包括等距固定安裝有于污泥箱下表面的多個排污槽,多個所述排污槽的內壁均滑動安裝有閘板,所述污泥箱相對兩側的內壁之間滑動安裝有刮板,所述污泥箱上設有帶動排泥扇片轉動的驅動機構,所述污泥箱上設有帶動攪拌軸轉動的運動機構,所述污泥箱的內部設有帶動刮板往復移動的運動組件,所述轉軸與閘板之間設有帶動閘板往復移動的驅動組件。
作為本發明的進一步方案,所述驅動機構包括固定安裝于污泥箱靠近攪拌池一側外表面的安裝框,所述安裝框的一側外表面固定安裝有驅動電機。
作為本發明的進一步方案,所述驅動電機的輸出端貫穿安裝框的外表面并固定安裝有第一錐齒輪,其中一塊所述安裝板靠近驅動電機一側的外表面固定安裝有支座,所述支座的上表面轉動安裝有第一傳動軸,所述第一傳動軸的底端貫穿支座的外表面并固定安裝有第二錐齒輪,所述第一錐齒輪與第二錐齒輪相嚙合,所述第一傳動軸的頂端固定安裝有第三帶輪。
作為本發明的進一步方案,所述轉軸的底端貫穿澄清池的下表面并固定安裝有第二傳動軸,所述第二傳動軸的外表面固定安裝有第四帶輪,所述第三帶輪與第四帶輪的外表面套設有第二皮帶,其中一塊所述安裝板的外表面貫穿開設有便于第二皮帶穿過的開口。
作為本發明的進一步方案,所述運動機構包括固定安裝于第一傳動軸外表面的第二帶輪,所述第二帶輪設置于支座與第二錐齒輪之間,所述攪拌軸的底端貫穿攪拌池的下表面并固定安裝有第一帶輪,所述第一帶輪與第二帶輪的外表面套設有第一皮帶。
作為本發明的進一步方案,所述運動組件包括轉動安裝于污泥箱相對兩側內壁之間的往復絲桿,所述往復絲桿貫穿刮板的外表面并與其螺紋連接,所述往復絲桿靠近驅動電機的一端貫穿污泥箱的外表面并與第一錐齒輪的轉動中心固定安裝。
作為本發明的進一步方案,所述驅動組件包括開設于轉軸底端端面的導槽,所述閘板靠近轉軸一端的上表面固定安裝有導柱,所述導柱與導槽的內壁滑動安裝,所述導槽通過導柱帶動閘板間歇往復移動。
作為本發明的進一步方案,所述閘板的外表面等距貫穿開設有多個出口,所述排污槽的底壁等距貫穿開設有多個與出口相匹配的通孔。
作為本發明的進一步方案,所述出水管的進水端比連接管的出水端低。
作為本發明的進一步方案,包括以下步驟:
S1:在使用時,通過攪拌軸帶動攪拌棒將污水與絮凝劑的混合溶液進行充分攪拌,使其混合均勻便于污水內部雜質的凝絮;
S2:通過轉軸帶動排泥扇片轉動,排泥扇片將污泥刮到排污槽的內部,通過轉軸帶動導槽轉動,使導槽通過導柱帶動閘板沿著排污槽往復移動,當閘板的出口與排污槽底壁的通孔重疊時,污泥從通孔流入到下方的污泥箱的內部,通過閘板間歇的移動將澄清池內部的污泥排出,避免污泥將排泥管道堵住,減少操作人員維護排泥管道的時間;
S3:通過第一錐齒輪帶動往復絲桿轉動,使往復絲桿帶動刮板往復移動,將污泥箱內部污泥從兩側的排污口排出到下方的污泥車的內部,通過本裝置便于及時將污泥排出到污泥車的內部,操作人員可以將污泥車內部的污泥運輸到指定為止,便于后續處理,通過本裝置當澄清池在靜置時,操作人員可以將下一批的污水注入到攪拌池的內部,當排泥組件在工作時,攪拌池的內部可以對新的一批污水進行攪拌,以此循環可以連續對污水進行處理。
與現有技術相比,本發明具有如下有益效果:
1.在使用時,通過攪拌軸帶動攪拌棒將污水與絮凝劑的混合溶液進行充分攪拌,使其混合均勻便于污水內部雜質的凝絮,使污水可被處理干凈。
2.通過轉軸帶動排泥扇片轉動,排泥扇片將污泥刮到排污槽的內部,通過轉軸帶動導槽轉動,使導槽通過導柱帶動閘板沿著排污槽往復移動,當閘板的出口與排污槽底壁的通孔重疊時,污泥從通孔流入到下方的污泥箱的內部,通過閘板間歇的移動將澄清池內部的污泥排出,避免污泥將排泥管道堵住,減少操作人員維護排泥管道的時間。
3.通過第一錐齒輪帶動往復絲桿轉動,使往復絲桿帶動刮板往復移動,將污泥箱內部污泥從兩側的排污口排出到下方的污泥車的內部,通過本裝置便于及時將污泥排出到污泥車的內部,操作人員可以將污泥車內部的污泥運輸到指定為止,便于后續處理,通過本裝置當澄清池在靜置時,操作人員可以將下一批的污水注入到攪拌池的內部,當排泥組件在工作時,攪拌池的內部可以對新的一批污水進行攪拌,以此循環可以連續對污水進行處理。
(發明人:趙小建;夏麗)






