公布日:2024.05.14
申請日:2021.03.22
分類號:C01B13/10(2006.01)I;C02F1/78(2023.01)I;H02J7/00(2006.01)I;G05D27/02(2006.01)
摘要:本發明公開了一種適用于污水處理裝置的臭氧發生設備,通過設置多臺小功率臭氧發生器代替傳統一臺大功率臭氧發生器實現臭氧供給,不但從整體上降低設備成本,而且小功率臭氧發生器的體積輕巧,所占空間小,設備安裝簡便靈活,使用方便;通過實時監測各小功率臭氧發生器的內置鋰電池電量,結合臭氧發生設備的實時供氧量合理控制各小功率臭氧發生器的啟閉,保證臭氧發生設備的正常運行。

權利要求書
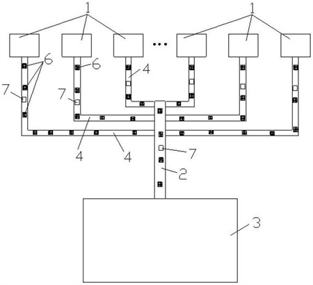
1.一種適用于污水處理裝置的臭氧發生設備,用于為污水處理裝置的蓄水池提供臭氧,其特征在于,包括多臺小功率臭氧發生器和主管道,所述主管道一端連接所述蓄水池,另一端通過子管道分別連接各所述小功率臭氧發生器的臭氧輸出口;每臺所述小功率臭氧發生器均內置有可充電鋰電池以及用于實時監測小功率臭氧發生器的內置鋰電池剩余電量信息的電量監測模塊;還包括控制器,所述控制器與所述多臺所述小功率臭氧發生器、所述內置鋰電池以及所述電量監測模塊連接;所述控制器根據各個所述小功率臭氧發生器實時的所述內置鋰電池的剩余電量信息得出各個所述小功率臭氧發生器的實時控制信息,所述控制器根據所述實時控制信息控制各所述小功率臭氧發生器的啟閉;在所述主管道和子管道上分布設置有第一濕度傳感器,所述第一濕度傳感器用于獲取所述主管道和所述子管道所處環境的濕度值;所述控制器與所述第一濕度傳感器連接,根據所述主管道和所述子管道所處環境的濕度值控制各所述小功率臭氧發生器的臭氧輸出量。
2.根據權利要求1所述的適用于污水處理裝置的臭氧發生設備,其特征在于,在所述蓄水池中設置有水體流量監測裝置,所述水體流量監測裝置實時監測所述蓄水池的進水口流量和出水口流量,所述控制器與所述水體流量監測裝置連接,所述控制器根據所述蓄水池的進水口流量和出水口流量實時控制各所述小功率臭氧發生器的臭氧輸出量。
3.根據權利要求1所述的適用于污水處理裝置的臭氧發生設備,其特征在于,在所述蓄水池中設置有水體壓力監測裝置,所述水體壓力監測裝置與所述控制器連接,所述水體壓力監測裝置實時監測所述蓄水池的水壓值,所述控制器根據所述蓄水池的水壓值來實時調整各所述小功率臭氧發生器的臭氧輸出量。
4.根據權利要求1所述的適用于污水處理裝置的臭氧發生設備,其特征在于,在所述主管道和子管道內分布設置有第二濕度傳感器,所述第二濕度傳感器用于獲取所述主管道和所述子管道內的濕度值;所述控制器與所述第二濕度傳感器連接,根據所述主管道和所述子管道內的濕度值控制各所述小功率臭氧發生器的臭氧輸出量。
5.根據權利要求1所述的適用于污水處理裝置的臭氧發生設備,其特征在于,還包括設置在所述小功率臭氧發生器上的電量提示裝置,所述電量提示裝置與所述控制器連接,所述控制器根據各個小功率臭氧發生器實時的所述內置鋰電池的剩余電量信息控制所述電量提示裝置是否發出電量耗盡提示。
6.根據權利要求1所述的適用于污水處理裝置的臭氧發生設備,其特征在于,在所述主管道和所述子管道上間隔分布設置有若干個溫度傳感器,所述溫度傳感器用于獲取所述主管道和所述子管道上的不同位置的溫度值;所述控制器與多臺所述小功率臭氧發生器和所述溫度傳感器連接,根據所述主管道和所述子管道上的不同位置的溫度值控制各所述小功率臭氧發生器的臭氧輸出量。
7.根據權利要求6所述的適用于污水處理裝置的臭氧發生設備,其特征在于,還包括分別設置在所述主管道和所述子管道上的高溫提示裝置,所述高溫提示裝置與所述控制器連接,所述控制器根據所述主管道和所述子管道上的溫度值控制高溫提示裝置是否發出高溫提示。8.根據權利要求7所述的適用于污水處理裝置的臭氧發生設備,其特征在于,所述高溫提示裝置包括聲音提示裝置、燈光提示裝置或聲光提示裝置。
9.根據權利要求1所述的適用于污水處理裝置的臭氧發生設備,其特征在于,所述主管道與所述蓄水池的連接位處設置有用于檢測所述主管道輸出的臭氧量的第一氣體流量傳感器,所述第一氣體流量傳感器與所述控制器連接;所述主管道與所述子管道連接處位設置有用于檢測所述子管道輸出的臭氧量的第二氣體流量傳感器,所述第二氣體流量傳感器與所述控制器連接。
10.根據權利要求1所述的適用于污水處理裝置的臭氧發生設備,其特征在于,所述電量監測模塊通過監控小功率臭氧發生器內置鋰電池的電壓得到鋰電池的電量信息;或者,所述電量監測模塊通過鋰電池建模方法獲取鋰電池的電量信息;或者,所述電量監測模塊采用庫侖計實現。
發明內容
本發明的目的是提供一種適用于污水處理裝置的臭氧發生設備,用于解決上述現有技術中存在的技術問題,采用低成本的小功率臭氧發生器,便于安裝以及運輸,此外還可以實時監測小功率臭氧發生器內部電量,避免小功率臭氧發生器出現沒電影響正常工作的問題。
為實現上述目的,本發明提供了如下方案:
本發明公開了一種適用于污水處理裝置的臭氧發生設備,用于為污水處理裝置的蓄水池提供臭氧,包括多臺小功率臭氧發生器和主管道,所述主管道一端連接所述蓄水池,另一端通過子管道分別連接各所述小功率臭氧發生器的臭氧輸出口;
每臺所述小功率臭氧發生器均內置有可充電鋰電池以及用于實時監測小功率臭氧發生器的內置鋰電池剩余電量信息的電量監測模塊;
還包括控制器,所述控制器與所述多臺所述小功率臭氧發生器、所述內置鋰電池以及所述電量監測模塊連接;
所述控制器根據各個所述小功率臭氧發生器實時的所述內置鋰電池的剩余電量信息得出各個所述小功率臭氧發生器的實時控制信息,所述控制器根據所述實時控制信息控制各所述小功率臭氧發生器的啟閉;
在所述主管道和子管道上分布設置有第一濕度傳感器,所述第一濕度傳感器用于獲取所述主管道和所述子管道所處環境的濕度值;所述控制器與所述第一濕度傳感器連接,根據所述主管道和所述子管道所處環境的濕度值控制各所述小功率臭氧發生器的臭氧輸出量。
優選的,在所述蓄水池中設置有水體流量監測裝置,所述水體流量監測裝置實時監測所述蓄水池的進水口流量和出水口流量,所述控制器與所述水體流量監測裝置連接,所述控制器根據所述蓄水池的進水口流量和出水口流量實時控制各所述小功率臭氧發生器的臭氧輸出量。
優選的,在所述蓄水池中設置有水體壓力監測裝置,所述水體壓力監測裝置與所述控制器連接,所述水體壓力監測裝置實時監測所述蓄水池的水壓值,所述控制器根據所述蓄水池的水壓值來實時調整各所述小功率臭氧發生器的臭氧輸出量。
優選的,在所述主管道和子管道內分布設置有第二濕度傳感器,所述第二濕度傳感器用于獲取所述主管道和所述子管道內的濕度值;所述控制器與所述第二濕度傳感器連接,根據所述主管道和所述子管道內的濕度值控制各所述小功率臭氧發生器的臭氧輸出量。
優選的,還包括設置在所述小功率臭氧發生器上的電量提示裝置,所述電量提示裝置與所述控制器連接,所述控制器根據各個小功率臭氧發生器實時的所述內置鋰電池的剩余電量信息控制所述電量提示裝置是否發出電量耗盡提示。
優選的,在所述主管道和所述子管道上間隔分布設置有若干個溫度傳感器,所述溫度傳感器用于獲取所述主管道和所述子管道上的不同位置的溫度值;所述控制器與多臺所述小功率臭氧發生器和所述溫度傳感器連接,根據所述主管道和所述子管道上的不同位置的溫度值控制各所述小功率臭氧發生器的臭氧輸出量。
優選的,還包括分別設置在所述主管道和所述子管道上的高溫提示裝置,所述高溫提示裝置與所述控制器連接,所述控制器根據所述主管道和所述子管道上的溫度值控制高溫提示裝置是否發出高溫提示。
優選的,所述高溫提示裝置包括聲音提示裝置、燈光提示裝置或聲光提示裝置。
優選的,所述主管道與所述蓄水池的連接位處設置有用于檢測所述主管道輸出的臭氧量的第一氣體流量傳感器,所述第一氣體流量傳感器與所述控制器連接;
所述主管道與所述子管道連接處位設置有用于檢測所述子管道輸出的臭氧量的第二氣體流量傳感器,所述第二氣體流量傳感器與所述控制器連接。
優選的,所述電量監測模塊通過監控小功率臭氧發生器內置鋰電池的電壓得到鋰電池的電量信息;
或者,所述電量監測模塊通過鋰電池建模方法獲取鋰電池的電量信息;
或者,所述電量監測模塊采用庫侖計實現。
本發明相對于現有技術取得了以下技術效果:
本發明通過提供一種適用于污水處理裝置的臭氧發生設備,通過設置多臺小功率臭氧發生器代替傳統一臺大功率臭氧發生器實現臭氧供給,不但從整體上降低設備成本,而且小功率臭氧發生器的體積輕巧,所占空間小,設備安裝簡便靈活,使用方便;通過實時監測各小功率臭氧發生器的內置鋰電池電量,結合臭氧發生設備的實時供氧量合理控制各小功率臭氧發生器的啟閉,保證臭氧發生設備的正常運行。
(發明人:邱建賀;翁雯;周國彪)






