公布日:2024.05.28
申請日:2024.03.28
分類號:C02F3/12(2023.01)I
摘要
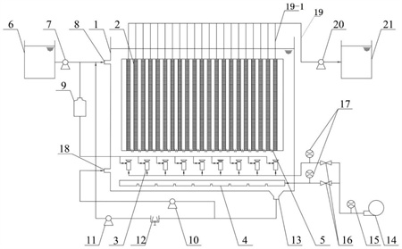
本發明公開了一種多功能復合式曝氣的膜生物反應設備,包括平板膜生物反應器、空氣壓縮機、污水池、水池,平板膜生物反應器的上部設有污水進口,平板膜生物反應器的下部設有活性污泥進口,平板膜生物反應器的底部設有活性污泥出口,平板膜生物反應器內設有平板膜組和復合曝氣裝置,復合曝氣裝置位于平板膜組下方,復合曝氣裝置包括剪切曝氣器和微孔曝氣排管,剪切曝氣器和微孔曝氣排管分別通過管路連通上游的空氣壓縮機,平板膜組頂部設有處理水出口,出口通過管路連通下游的出水池,污水池的管路經由污水泵后分為兩條支路,支路一連通污水進口,支路二連接厭氧污泥脫硝罐后與剪切曝氣器的污水進口連通;本發明具有反應速率高,清洗效果好等優點。

權利要求書
1.一種多功能復合式曝氣的膜生物反應設備,包括平板膜生物反應器(1)、空氣壓縮機(14)、污水池(6)、水池(21),其特征在于,所述平板膜生物反應器(1)的上部設有污水進口(8),平板膜生物反應器(1)的下部設有活性污泥進口(18),平板膜生物反應器(1)的底部設有活性污泥出口(13),平板膜生物反應器(1)內設有平板膜組(2)和復合曝氣裝置,復合曝氣裝置位于平板膜組(2)下方,復合曝氣裝置包括剪切曝氣器(3)和微孔曝氣排管(4),剪切曝氣器(3)和微孔曝氣排管(4)分別通過管路連通上游的空氣壓縮機(14),平板膜組(2)頂部設有處理水出口,出口通過管路連通下游的出水池(21),污水池(6)的出水管路經由污水泵(7)后分為兩條支路,支路一連通污水進口(8),支路二連接厭氧污泥脫硝罐(9)后與剪切曝氣器(3)的污水進口連通。
2.根據權利要求1所述的多功能復合式曝氣的膜生物反應設備,其特征在于,所述活性污泥出口(13)連接管路后分為兩條支路,支路一經由一回路離心泵(10)后連接活性污泥進口(18),支路二依次串聯污泥濃縮離心機(12)、二回路離心泵(11)后連接污水進口(8)。
3.根據權利要求1所述的多功能復合式曝氣的膜生物反應設備,其特征在于,所述平板膜組(2)包括數個單列平板膜元件(21),單列平板膜元件(21)為中空結構,單列平板膜元件(21)的頂部設有出水管(191),出水管(191)均連接至集水管(19),集水管(19)下游連接真空泵(20)后與出水池(21)連通。
4.根據權利要求1所述的多功能復合式曝氣的膜生物反應設備,其特征在于,所述微孔曝氣排管(4)位于旋流剪切曝氣器(3)的下方。
5.根據權利要求1所述的多功能復合式曝氣的膜生物反應設備,其特征在于,所述旋流剪切曝氣器(3)包括曝氣芯管(31),曝氣芯管(31)的側壁設有與壁面相切的曝氣芯管污水進口(32),底端設有曝氣芯管進氣口(33),頂部設有曝氣出口(34)。
6.根據權利要求5所述的多功能復合式曝氣的膜生物反應設備,其特征在于,所述剪切曝氣器(3)的污水進口為曝氣芯管污水進口(32)。
7.根據權利要求1所述的多功能復合式曝氣的膜生物反應設備,其特征在于,所述各連通管路上均設有閥門。
8.根據權利要求1所述的多功能復合式曝氣的膜生物反應設備,其特征在于,所述剪切曝氣器(3)和微孔曝氣排管(4)連通至空氣壓縮機(14)的管路上分別安裝有分管路氣體流量計(17),分管路氣體流量計(17)與空氣壓縮機(14)之間的主管路上安裝有主管路氣體流量計(15)。
9.根據權利要求1所述的多功能復合式曝氣的膜生物反應設備,其特征在于,所述微孔曝氣排管4的微孔開孔方向朝下。
10.根據權利要求19所述的多功能復合式曝氣的膜生物反應設備進行污水處理的方法,其特征在于,包括以下步驟:S1、啟動污水泵(7),將污水池(6)中的污水輸送至平板膜生物反應器(1)內;S2、啟動空氣壓縮機(14),再開啟微孔曝氣排管(4),微孔曝氣排管(4)產生大尺度氣泡噴入平板膜生物反應器(1)底部,使大尺度氣泡被氣泡分割組件(5)分割為中尺度氣泡后與污水充分混合;S3、開啟旋流剪切曝氣器(3),將部分污水通過厭氧污泥脫硝罐(9)后輸送至旋流剪切曝氣器(3)的曝氣芯管污水進口(32);S4、將空氣通入曝氣芯管進氣口(33),使空氣和污水形成混合氣液兩相流,產生微尺度氣泡噴入平板膜生物反應器(1)中;S5、調節微孔曝氣排管(4)的進氣流量,使微孔曝氣排管(4)與旋流剪切曝氣器(3)的進氣流量為1:3左右;S6、啟動真空泵(20),將處理后的污水從平板膜組(2)頂部連接的集水管(19)排出至出水池(21)。
發明內容
針對現有技術存在的不足,本發明提供了一種多功能復合式曝氣的膜生物反應設備及污水處理方法,結合旋流剪切曝氣器和微孔曝氣排管兩種氣泡發生裝置,采用多尺度氣泡的復合式曝氣方式,并將好氧生化反應和膜組件清洗一體化,以實現更高效、低能耗、氧氣利用率高、膜組件清洗環保高效的污水處理。
為了實現上述目的,本發明采用如下技術方案:
針對現有技術存在的不足,本發明提供了一種多功能復合式曝氣的膜生物反應設備,包括平板膜生物反應器、空氣壓縮機、污水池、水池,平板膜生物反應器的上部設有污水進口,平板膜生物反應器的下部設有活性污泥進口,平板膜生物反應器的底部設有活性污泥出口,平板膜生物反應器內設有平板膜組和復合曝氣裝置,復合曝氣裝置位于平板膜組下方,復合曝氣裝置包括剪切曝氣器和微孔曝氣排管,剪切曝氣器和微孔曝氣排管分別通過管路連通上游的空氣壓縮機,平板膜組頂部設有處理水出口,出口通過管路連通下游的出水池,污水池的管路經由污水泵后分為兩條支路,支路一連通污水進口,支路二連接厭氧污泥脫硝罐后與剪切曝氣器的污水進口連通;
作為本發明優選的技術方案;所述活性污泥出口連接管路后分為兩條支路,支路一經由一回路離心泵后連接活性污泥進口,支路二依次串聯污泥濃縮離心機、二回路離心泵后連接污水進口;
作為本發明優選的技術方案;所述平板膜組包括數個單列平板膜元件,單列平板膜元件為中空結構,單列平板膜元件的頂部設有出水管,出水管均連接至集水管,集水管下游連接真空泵后與出水池連通;
作為本發明優選的技術方案;所述微孔曝氣排管位于旋流剪切曝氣器的下方;
作為本發明優選的技術方案;所述旋流剪切曝氣器包括曝氣芯管,曝氣芯管的側壁設有與壁面相切的曝氣芯管污水進口,底端設有曝氣芯管進氣口,頂部設有曝氣出口;
作為本發明優選的技術方案;剪切曝氣器的污水進口為曝氣芯管污水進口;
作為本發明優選的技術方案;所述各連通管路上均設有閥門;
作為本發明優選的技術方案;所述剪切曝氣器和微孔曝氣排管連通至空氣壓縮機的管路上分別安裝有分管路氣體流量計,分管路氣體流量計與空氣壓縮機之間的主管路上安裝有主管路氣體流量計;
作為本發明優選的技術方案;所述微孔曝氣排管的微孔開孔方向朝下;
作為本發明優選的技術方案;包括以下步驟:
S1、啟動污水泵,將污水池中的污水輸送至平板膜生物反應器內;
S2、啟動空氣壓縮機,再開啟微孔曝氣排管,微孔曝氣排管產生大尺度氣泡噴入平板膜生物反應器底部,使大尺度氣泡被氣泡分割組件分割為中尺度氣泡后與污水充分混合;
S3、開啟旋流剪切曝氣器,將部分污水通過厭氧污泥脫硝罐后輸送至旋流剪切曝氣器的曝氣芯管污水進口;
S4、將空氣通入曝氣芯管進氣口,使空氣和污水形成混合氣液兩相流,產生微尺度氣泡噴入平板膜生物反應器中;
S5、調節微孔曝氣排管的進氣流量,使微孔曝氣排管與旋流剪切曝氣器的進氣流量為1:3左右;
S6、啟動真空泵,將處理后的污水從平板膜組頂部連接的集水管排出至出水池。
與現有技術相比,本發明具有如下有益效果:
(1)本發明針對平板膜生物反應器污水處理中好氧生化反應和平板膜組清洗兩個階段對應產生優化尺寸氣泡,將好氧生化反應和膜組件清洗一體化,具有反應速率高,清洗效果好等優點,解決了傳統膜生物反應器曝氣、膜清洗、沉降、排水需要分別進行的弊端,極大提高了污水處理效率。
(2)本發明結合旋流剪切曝氣器和微孔曝氣排管的發生特征,并結合氣泡分割組件,提供了適用于平板膜生物反應設備的復合式氣泡發生方法,其中,所述微孔曝氣排管產生厘米尺度的大尺度氣泡,通過其運動變形產生的渦流攪拌作用,強化底部沉降的污泥懸浮;所述氣泡分割組件將產生的厘米尺度的大尺度氣泡分割為與膜間距尺寸相當的毫米尺度的中尺度氣泡,在膜間氣升運動中受到浮力作用形成均質高速柱塞流;所述旋流剪切曝氣器利用高速射流對氣泡剪切及拖曳的原理,產生微米尺度、空間分布均勻的微尺度氣泡,微尺度氣泡增加比表面積以增大氣液傳質面積,同時,微尺度氣泡上升速度較慢,可延長氧氣溶解時間,使水與氧氣充分接觸,促進氧氣轉移;中尺度氣泡加強液體局部湍流,提高液相一側傳質系數。兩者協同強化氣液傳質速率,提高好氧生化反應效果,同時可以顯著降低單位曝氣能耗。
(3)本發明采用的微孔曝氣排管上的微孔產生大尺度氣泡持續噴入平板膜生物反應器,沖擊反應器底部活性污泥使污水與活性污泥充分混合,產生的大尺度氣泡經過平板膜組底部的氣泡分割組件后變為中尺度氣泡,在膜間氣升運動中受到浮力作用形成均質高速柱塞流,強化膜表面液體剪切作用,在不損傷膜組件的同時提升膜表面附著污泥清理效果。
(發明人:何慶生;楊強;范景福;袁方;王貴賓;吳振虎)






