公布日:2023.11.17
申請日:2023.09.18
分類號:B01D33/06(2006.01)I;C02F1/52(2023.01)I
摘要:本發明公開了一種紡織業廢水快速處理裝置,包括處理機構、收集箱、進水管,處理機構外側設有收集箱,處理機構頂部設有進水管;第一外筒外側和若干橋接架一端固定連接,橋接架另一端和第二外筒固定連接,橋接架一側設有第一電動推桿,第一電動推桿輸出端和滑動桿連接,橋接架上設有與滑動桿相對應的長滑孔,滑動桿和套合板外側固定連接,套合板設置于第一外筒外側。本發明使得轉動臺和過濾轉筒之間留出間隙,轉動臺上過濾后留下的廢渣進而在離心作用下甩出轉動臺至收集箱內,從而大大加快了水渣分離的速度,同時將過濾轉筒中的廢渣快速及時排出,降低對后續的影響,也大大降低了廢渣中的含水量,降低后續的處理難度。

權利要求書
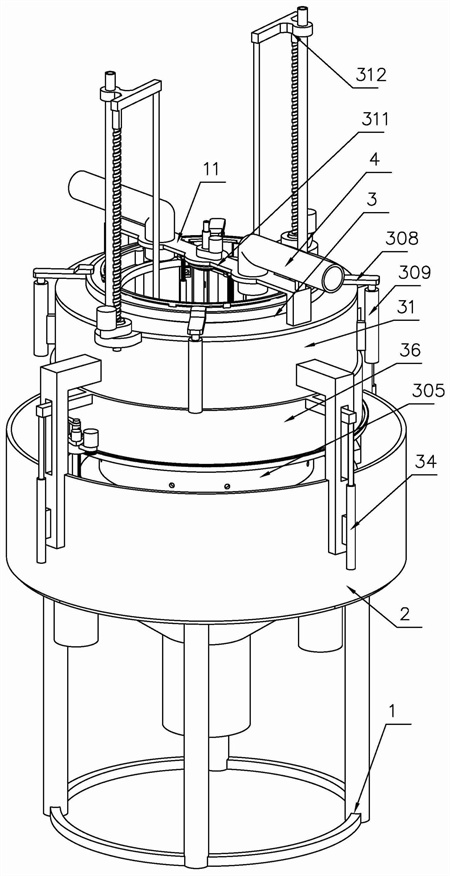
1.一種紡織業廢水快速處理裝置,包括處理機構、收集箱、進水管,其特征在于,所述處理機構外側設有收集箱,處理機構頂部設有進水管;所述處理機構包括第一外筒、第二外筒、橋接架、第一電動推桿、滑動桿、套合板、固定架、第一電機、轉動臺、升降板、圓筒塊、圓罩板、第二電動推桿、過濾轉筒、定位桿、環形托板、限位撐板、第三電動推桿、攪拌機構、清理機構、輔助機構、控制板、方孔、凸塊、弧形架、第六電動推桿、凸圓柱,所述第一外筒外側和若干橋接架一端固定連接,橋接架另一端和第二外筒固定連接,橋接架一側設有第一電動推桿,第一電動推桿輸出端和滑動桿連接,橋接架上設有與滑動桿相對應的長滑孔,滑動桿和套合板外側固定連接,套合板設置于第一外筒外側,第二外筒內側與固定架兩端固定連接,固定架中間底側設有第一電機,第一電機通過齒輪箱和固定架連接,第一電機輸出端通過齒輪箱和轉動臺連接,轉動臺與固定架之間設有圓筒塊,圓筒塊和轉動臺連接,轉動臺底側設有圓罩板,轉動臺外側設有升降板,升降板底部和一對第二電動推桿輸出端連接,第二電動推桿通過外側保護箱和第二外筒連接,轉動臺一側設有過濾轉筒,過濾轉筒內側設有若干凸圓柱,轉動臺上設有若干定位桿,定位桿與凸圓柱滑動連接,過濾轉筒上設有若干通孔,過濾轉筒頂部和若干凸塊滑動連接,凸塊和控制板頂部固定連接,控制板上設有若干方孔,方孔和過濾轉筒上的通孔一一對應,控制板和凸塊均與弧形架固定連接,弧形架和若干第六電動推桿輸出端連接,第六電動推桿設置于凸圓柱頂部內側,過濾轉筒頂部外側和環形托板滑動連接,環形托板和若干限位撐板固定連接,限位撐板和第三電動推桿輸出端連接,第三電動推桿和第一外筒連接,第一外筒一側設有攪拌機構,第一外筒頂部設有清理機構,套合板外側設有輔助機構。
2.根據權利要求1所述的一種紡織業廢水快速處理裝置,其特征在于所述第二外筒底部逐漸收窄呈漏斗狀,轉動臺為圓錐臺形。
3.根據權利要求2所述的一種紡織業廢水快速處理裝置,其特征在于所述攪拌機構包括攪拌架、第二電機、攪拌軸、出料孔、限位圓板、第一轉板、第二轉板、連接轉塊、中間架、第四電動推桿、第一連接臂、第二連接臂、固定罩、濾網、傳動箱、錐齒輪組、旋轉軸、攪拌葉、攪拌環、第三電機、連接滑套、連接滑桿、連接座,所述攪拌架兩端和第一外筒頂部固定連接,攪拌架中間設有攪拌軸,攪拌軸頂部和第二電機通過齒輪箱連接,第二電機通過齒輪箱和攪拌架連接,攪拌架底側和限位圓板連接,限位圓板外側和第二轉板活動連接,第二轉板兩端分別于連接轉塊一端活動連接,連接轉塊另一端和第一轉板端部活動連接,第一轉板中間和攪拌軸固定連接,攪拌軸頂部內側設有空腔,攪拌軸外側設有出料孔,出料孔和空腔連通,攪拌軸和一對第一連接臂一端滑動連接,兩組第一連接臂之間設有中間架,中間架和攪拌軸固定連接,中間架兩側設有兩組第四電動推桿,兩組第四電動推桿輸出端的頂出方向相反,第四電動推桿輸出端和第一連接臂連接,第一連接臂另一端和第二連接臂活動連接,第二連接臂兩端均與固定罩固定連接,固定罩兩側均設有濾網,固定罩一側設有第三電機,固定罩內側設有傳動箱,傳動箱內側設有錐齒輪組,第三電機輸出端通過錐齒輪組和旋轉軸連接,旋轉軸一端設有攪拌葉,旋轉軸另一端設有攪拌環,位于上方的兩組固定罩均與連接滑套底部固定連接,連接滑套和連接滑桿滑動連接,連接滑桿頂部和連接轉塊連接,攪拌軸底部和連接座活動連接,連接座和轉動臺連接。
4.根據權利要求3所述的一種紡織業廢水快速處理裝置,其特征在于所述攪拌架和進水管連接。5.根據權利要求4所述的一種紡織業廢水快速處理裝置,其特征在于所述清理機構包括第四電機、第一螺紋套、絲杠、同步架、推動桿、供氣管、推環、刮板、環形氣管、導向板、固定柱,所述刮板與過濾轉筒內側滑動連接,刮板上設有與凸圓柱和控制板相對應的缺口,刮板和推環滑動連接,推環和一對推動桿底部固定連接,推動桿頂部和同步架固定連接,同步架一端和絲杠一端連接,絲杠外側和第一螺紋套通過螺紋連接,第一螺紋套和第四電機輸出端通過齒輪箱連接,第四電機通過齒輪箱和第一外筒連接,同步架一側和供氣管外側連接,供氣管穿過第一外筒和環形氣管連接,環形氣管上設有若干噴氣頭,環形氣管內側固定設有一對導向板,環形氣管內側與上下一對導向板一端封閉,環形氣管上噴氣頭伸入上下兩組導向板之間,導向板之間通過固定柱固定連接,上下一對導向板另一段開發端口與過濾轉筒外側滑動連接。
6.根據權利要求5所述的一種紡織業廢水快速處理裝置,其特征在于所述輔助機構包括第五電機、第五齒輪、滑動臺、滑動軌、第五電動推桿、頂動板、推渣桿、推渣板、第六電機、第二滑動套,所述滑動軌和套合板底部外側固定連接,滑動軌上設有齒槽,齒槽和第五齒輪嚙合,第五齒輪和第五電機輸出端連接,第五電機和滑動臺連接,滑動臺和滑動軌滑動連接,滑動臺一側設有第五電動推桿,第五電動推桿輸出端和頂動板連接,頂動板和推渣桿頂端活動連接,推渣桿外側設有鍵槽,推渣桿和第二滑動套滑動連接,第二滑動套通過齒輪箱和第六電機輸出端連接,第六電機通過齒輪箱和滑動臺連接,推渣桿底部設有推渣板。
7.根據權利要求6所述的一種紡織業廢水快速處理裝置,其特征在于所述收集箱底部和支撐腿連接,收集箱底部設有若干排渣的管道,收集箱和橋接架固定連接。
發明內容
本發明的目的是克服現有技術中不足,提供一種紡織業廢水快速處理裝置,通過進水管將廢水送入處理機構中,將廢水與絮凝劑進行快速混合,并將廢渣和水進行分離,分離后的水通過處理機構排出至其他工序,水排凈后,再將廢渣甩出至收集箱中。
為了實現上述目的,本發明采用的技術方案是:
一種紡織業廢水快速處理裝置,包括處理機構、收集箱、進水管,所述處理機構外側設有收集箱,處理機構頂部設有進水管;
所述處理機構包括第一外筒、第二外筒、橋接架、第一電動推桿、滑動桿、套合板、固定架、第一電機、轉動臺、升降板、圓筒塊、圓罩板、第二電動推桿、過濾轉筒、定位桿、環形托板、限位撐板、第三電動推桿、攪拌機構、清理機構、輔助機構、控制板、方孔、凸塊、弧形架、第六電動推桿、凸圓柱,所述第一外筒外側和若干橋接架一端固定連接,橋接架另一端和第二外筒固定連接,橋接架一側設有第一電動推桿,第一電動推桿輸出端和滑動桿連接,橋接架上設有與滑動桿相對應的長滑孔,滑動桿和套合板外側固定連接,套合板設置于第一外筒外側,第二外筒內側與固定架兩端固定連接,固定架中間底側設有第一電機,第一電機通過齒輪箱和固定架連接,第一電機輸出端通過齒輪箱和轉動臺連接,轉動臺與固定架之間設有圓筒塊,圓筒塊和轉動臺連接,轉動臺底側設有圓罩板,轉動臺外側設有升降板,升降板底部和一對第二電動推桿輸出端連接,第二電動推桿通過外側保護箱和第二外筒連接,轉動臺一側設有過濾轉筒,過濾轉筒內側設有若干凸圓柱,轉動臺上設有若干定位桿,定位桿與凸圓柱滑動連接,過濾轉筒上設有若干通孔,過濾轉筒頂部和若干凸塊滑動連接,凸塊和控制板頂部固定連接,控制板上設有若干方孔,方孔和過濾轉筒上的通孔一一對應,控制板和凸塊均與弧形架固定連接,弧形架和若干第六電動推桿輸出端連接,第六電動推桿設置于凸圓柱頂部內側,過濾轉筒頂部外側和環形托板滑動連接,環形托板和若干限位撐板固定連接,限位撐板和第三電動推桿輸出端連接,第三電動推桿和第一外筒連接,第一外筒一側設有攪拌機構,第一外筒頂部設有清理機構,套合板外側設有輔助機構。
優選的,所述第二外筒底部逐漸收窄呈漏斗狀,轉動臺為圓錐臺形。
優選的,所述攪拌機構包括攪拌架、第二電機、攪拌軸、出料孔、限位圓板、第一轉板、第二轉板、連接轉塊、中間架、第四電動推桿、第一連接臂、第二連接臂、固定罩、濾網、傳動箱、錐齒輪組、旋轉軸、攪拌葉、攪拌環、第三電機、連接滑套、連接滑桿、連接座,所述攪拌架兩端和第一外筒頂部固定連接,攪拌架中間設有攪拌軸,攪拌軸頂部和第二電機通過齒輪箱連接,第二電機通過齒輪箱和攪拌架連接,攪拌架底側和限位圓板連接,限位圓板外側和第二轉板活動連接,第二轉板兩端分別于連接轉塊一端活動連接,連接轉塊另一端和第一轉板端部活動連接,第一轉板中間和攪拌軸固定連接,攪拌軸頂部內側設有空腔,攪拌軸外側設有出料孔,出料孔和空腔連通,攪拌軸和一對第一連接臂一端滑動連接,兩組第一連接臂之間設有中間架,中間架和攪拌軸固定連接,中間架兩側設有兩組第四電動推桿,兩組第四電動推桿輸出端的頂出方向相反,第四電動推桿輸出端和第一連接臂連接,第一連接臂另一端和第二連接臂活動連接,第二連接臂兩端均與固定罩固定連接,固定罩兩側均設有濾網,固定罩一側設有第三電機,固定罩內側設有傳動箱,傳動箱內側設有錐齒輪組,第三電機輸出端通過錐齒輪組和旋轉軸連接,旋轉軸一端設有攪拌葉,旋轉軸另一端設有攪拌環,位于上方的兩組固定罩均與連接滑套底部固定連接,連接滑套和連接滑桿滑動連接,連接滑桿頂部和連接轉塊連接,攪拌軸底部和連接座活動連接,連接座和轉動臺連接。
優選的,所述攪拌架和進水管連接。
優選的,所述清理機構包括第四電機、第一螺紋套、絲杠、同步架、推動桿、供氣管、推環、刮板、環形氣管、導向板、固定柱,所述刮板與過濾轉筒內側滑動連接,刮板上設有與凸圓柱和控制板相對應的缺口,刮板和推環滑動連接,推環和一對推動桿底部固定連接,推動桿頂部和同步架固定連接,同步架一端和絲杠一端連接,絲杠外側和第一螺紋套通過螺紋連接,第一螺紋套和第四電機輸出端通過齒輪箱連接,第四電機通過齒輪箱和第一外筒連接,同步架一側和供氣管外側連接,供氣管穿過第一外筒和環形氣管連接,環形氣管上設有若干噴氣頭,環形氣管內側固定設有一對導向板,環形氣管內側與上下一對導向板一端封閉,環形氣管上噴氣頭伸入上下兩組導向板之間,導向板之間通過固定柱固定連接,上下一對導向板另一段開發端口與過濾轉筒外側滑動連接。
優選的,所述輔助機構包括第五電機、第五齒輪、滑動臺、滑動軌、第五電動推桿、頂動板、推渣桿、推渣板、第六電機、第二滑動套,所述滑動軌和套合板底部外側固定連接,滑動軌上設有齒槽,齒槽和第五齒輪嚙合,第五齒輪和第五電機輸出端連接,第五電機和滑動臺連接,滑動臺和滑動軌滑動連接,滑動臺一側設有第五電動推桿,第五電動推桿輸出端和頂動板連接,頂動板和推渣桿頂端活動連接,推渣桿外側設有鍵槽,推渣桿和第二滑動套滑動連接,第二滑動套通過齒輪箱和第六電機輸出端連接,第六電機通過齒輪箱和滑動臺連接,推渣桿底部設有推渣板。
優選的,所述收集箱底部和支撐腿連接,收集箱底部設有若干排渣的管道,收集箱和橋接架固定連接。
本發明與現有技術相比較有益效果表現在:
1)過濾轉筒進而在轉動過程中對水進行快速過濾,將固體物、廢屑和凝結的固體物留在過濾筒中,同時第二電動推桿為升降板移動提供動力,升降板進而下降遠離轉動臺,過濾出的廢水進而通過第一外筒穿過升降板和轉動臺之間進入第二外筒中,并通過第二外筒底部流出,從而實現水渣分離,升降板復位,第一電動推桿為滑動桿在橋接架上滑動提供動力,并帶動套合板升起,將第一外筒和第二外筒之間的開口露出,同時第三電動推桿為限位撐板移動提供動力,并帶動環形托板過濾轉筒移動,過濾轉筒與定位桿相對滑動并遠離轉動臺,使得轉動臺和過濾轉筒之間留出間隙,轉動臺上過濾后留下的廢渣進而在離心作用下甩出轉動臺至收集箱內,從而大大加快了水渣分離的速度,同時將過濾轉筒中的廢渣快速及時排出,降低對后續的影響,也大大降低了廢渣中的含水量,降低后續的處理難度;
2)連接滑桿、連接滑套帶動固定罩、第二連接臂在第一連接臂上旋轉,保持固定罩的軸線朝向不變,同時第三電機為錐齒輪組轉動提供動力,并帶動旋轉軸、攪拌葉、攪拌環轉動,攪拌葉進而帶動過濾轉筒中的廢水穿過固定罩,并經過攪拌環的攪動從固定罩噴出,提高絮凝劑與廢水之間攪拌混合的效果,當噴出的廢水沖向過濾轉筒內壁時,會在內壁上產生反射,從而提高整個過濾轉筒內部廢水的流動速度,并與攪拌配合,增加混合效果,當不同組的第二連接臂上的固定罩在轉動過程中,噴出廢水方向上的位置要發生重疊時,第四電動推桿為第一連接臂在攪拌軸上滑動提供動力,并帶動一組第二連接臂上升,另外一組第二連接臂下降,從而帶動固定罩移動,固定罩進而帶動連接滑套在連接滑桿上滑動,使得固定罩之間的高度產生錯位,防止固定罩盤噴出的廢水相互干擾,當固定罩轉出重疊區后,重新高度復位,從而能夠使得固定罩的高度持續產生變化,對不同高度的廢水進行攪拌作業,提高攪拌的效果。
(發明人:郝永剛;張振豪;楊琳;韓巍)






