公布日:2023.11.21
申請日:2023.10.18
分類號:C02F1/52(2023.01)I;B01F27/90(2022.01)I;C02F1/00(2023.01)N;C02F103/20(2006.01)N
摘要
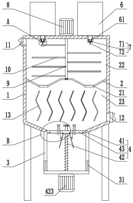
本發明屬于廢水處理設備技術領域,公開了一種水產養殖農業廢水的循環處理設備,包括箱體,箱體內壁之間固定安裝有隔板,隔板將箱體內腔分隔為攪拌腔與沉淀腔,所述沉淀腔底部連接有排污筒,所述箱體頂壁固定安裝有儲料箱,儲料箱底端固定安裝有延伸至攪拌腔的出料管,出料管底端設置有出料口,所述出料管內設置有與出料口相互配合的自動導排機構,所述自動導排機構包括有密封組件與間歇下料組件,所述排污筒內設置有排污機構,所述排污機構包括有第一密封板、升降組件與單向流通組件,可以控制儲料箱內的處理劑等間歇的自動排放至攪拌腔內,使得處理劑與廢水充分混合,有效提高廢水的處理效果。

權利要求書
1.一種水產養殖農業廢水的循環處理設備,包括箱體,箱體內壁之間固定安裝有隔板,隔板將箱體內腔分隔為攪拌腔與沉淀腔,所述隔板表面設置有控制閥,所述箱體側壁設置有與攪拌腔連通的進水管,所述箱體側壁設置有與沉淀腔連通的排水管,其特征在于,所述沉淀腔底部連接有排污筒,排污筒側壁設置有排污閥,所述箱體頂壁固定安裝有儲料箱,儲料箱底端固定安裝有延伸至攪拌腔的出料管,出料管底端設置有出料口,所述箱體頂壁固定安裝有第二電機,第二電機的輸出軸延伸至攪拌腔內并且固定連接有轉動桿,所述轉動桿表面設置有多組攪拌桿,所述出料管內設置有與出料口相互配合的自動導排機構,所述自動導排機構包括有密封組件與間歇下料組件,所述密封組件位于出料管內并且與出料口相接觸,所述密封組件用以對出料口進行密封處理,所述間歇下料組件與密封組件相連接,所述間歇下料組件通過與密封組件相互配合的方式控制出料口等間歇的處于貫通狀態,所述排污筒內設置有排污機構,所述排污機構包括有第一密封板、升降組件與單向流通組件,第一密封板與排污筒內壁沿豎直方向滑動連接,所述升降組件位于排污筒內并且與第一密封板相連接,所述升降組件用以控制第一密封板在排污筒內沿豎直方向移動,所述升降組件包括有固定安裝在沉淀腔內的橫板,橫板與排污筒底壁共同轉動安裝有螺紋桿,所述螺紋桿與第一密封板螺紋連接,螺紋桿底端延伸至排污筒外側并且連接有第一電機,所述單向流通組件位于第一密封板表面,所述單向流通組件用以控制沉淀腔內的沉淀物穿過第一密封板單向流動至排污筒內,所述單向流通組件包括有開設在第一密封板表面的固定孔,所述第一密封板底壁轉動安裝有與固定孔相互配合的擋板,所述擋板由磁性材料制成,所述沉淀腔相對的兩側壁共同固定安裝有固定板,所述固定板底壁固定安裝有連接繩,所述連接繩底端固定安裝有與擋板相互配合的第一磁性塊,所述第一密封板底壁固定安裝有與擋板相互配合的第二磁性塊。
2.根據權利要求1所述的一種水產養殖農業廢水的循環處理設備,其特征在于,所述密封組件包括有固定安裝在出料管內腔的安裝板,安裝板底壁固定安裝有位于出料口兩側的定位桿,定位桿表面滑動安裝有與出料口相互配合的第二密封板,安裝板底壁固定安裝有擠壓彈簧,擠壓彈簧環繞定位桿并且與第二密封板相連接。
3.根據權利要求2所述的一種水產養殖農業廢水的循環處理設備,其特征在于,所述間歇下料組件包括有固定安裝在第二密封板底壁的豎桿,豎桿底端穿過出料口延伸至出料管外側并且固定連接有第一凸起,轉動桿表面固定安裝有橫桿,所述橫桿表面固定安裝有與第一凸起相互配合的第二凸起。
4.根據權利要求1所述的一種水產養殖農業廢水的循環處理設備,其特征在于,所述固定板底壁固定安裝有與擋板相互配合的限位柱。
5.根據權利要求1所述的一種水產養殖農業廢水的循環處理設備,其特征在于,所述沉淀腔內固定安裝有多組并列分布的沉淀板。
發明內容
本發明的目的在于提供一種水產養殖農業廢水的循環處理設備,以解決上述背景技術中提出的問題。
為實現上述目的,本發明提供如下技術方案:
一種水產養殖農業廢水的循環處理設備,包括箱體,箱體內壁之間固定安裝有隔板,隔板將箱體內腔分隔為攪拌腔與沉淀腔,所述隔板表面設置有控制閥,所述箱體側壁設置有與攪拌腔連通的進水管,所述箱體側壁設置有與沉淀腔連通的排水管,所述沉淀腔底部連接有排污筒,排污筒側壁設置有排污閥,所述箱體頂壁固定安裝有儲料箱,儲料箱底端固定安裝有延伸至攪拌腔的出料管,出料管底端設置有出料口,所述箱體頂壁固定安裝有第二電機,第二電機的輸出軸延伸至攪拌腔內并且固定連接有轉動桿,所述轉動桿表面設置有多組攪拌桿,所述出料管內設置有與出料口相互配合的自動導排機構,所述自動導排機構包括有密封組件與間歇下料組件,所述密封組件位于出料管內并且與出料口相接觸,所述密封組件用以對出料口進行密封處理,所述間歇下料組件與密封組件相連接,所述間歇下料組件通過與密封組件相互配合的方式控制出料口等間歇的處于貫通狀態,所述排污筒內設置有排污機構,所述排污機構包括有第一密封板、升降組件與單向流通組件,第一密封板與排污筒內壁沿豎直方向滑動連接,所述升降組件位于排污筒內并且與第一密封板相連接,所述升降組件用以控制第一密封板在排污筒內沿豎直方向移動,所述單向流通組件位于第一密封板表面,所述單向流通組件用以控制沉淀腔內的沉淀物穿過第一密封板單向流動至排污筒內。
作為本發明進一步的方案:所述密封組件包括有固定安裝在出料管內腔的安裝板,安裝板底壁固定安裝有位于出料口兩側的定位桿,定位桿表面滑動安裝有與出料口相互配合的第二密封板,安裝板底壁固定安裝有擠壓彈簧,擠壓彈簧環繞定位桿并且與第二密封板相連接。
作為本發明進一步的方案:所述間歇下料組件包括有固定安裝在第二密封板底壁的豎桿,豎桿底端穿過出料口延伸至出料管外側并且固定連接有第一凸起,轉動桿表面固定安裝有橫桿,所述橫桿表面固定安裝有與第一凸起相互配合的第二凸起。
作為本發明進一步的方案:所述升降組件包括有固定安裝在沉淀腔內的橫板,橫板與排污筒底壁共同轉動安裝有螺紋桿,所述螺紋桿與第一密封板螺紋連接,螺紋桿底端延伸至排污筒外側并且連接有第一電機。
作為本發明進一步的方案:所述單向流通組件包括有開設在第一密封板表面的固定孔,所述第一密封板底壁轉動安裝有與固定孔相互配合的擋板,所述擋板由磁性材料制成,所述沉淀腔相對的兩側壁共同固定安裝有固定板,所述固定板底壁固定安裝有連接繩,所述連接繩底端固定安裝有與擋板相互配合的第一磁性塊,所述第一密封板底壁固定安裝有與擋板相互配合的第二磁性塊。
作為本發明進一步的方案:所述固定板底壁固定安裝有與擋板相互配合的限位柱。
作為本發明再進一步的方案:所述沉淀腔內固定安裝有多組并列分布的沉淀板。
與現有技術相比,本發明的有益效果是:由密封組件與間歇下料組件相互配合,可以控制儲料箱內的處理劑等間歇的自動排放至攪拌腔內,使得處理劑與廢水充分混合,有效提高廢水的處理效果;升降組件與單向流通組件相互配合,可以便捷的調整第一密封板的位置以及第一密封板的開合狀態,可以自動對排污筒內沉淀的雜質進行清理。
(發明人:李琪;張陳文;王磊;羅瑞明)






