公布日:2023.11.21
申請日:2023.10.09
分類號:C02F1/52(2023.01)I;C02F1/00(2023.01)I
摘要
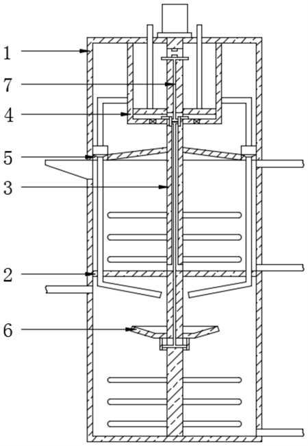
本發明公開了一種從含稀土廢水中回收稀土的方法,涉及到有價金屬回收技術領域,所述從含稀土廢水中回收稀土的方法通過稀土回收設備實現,所述稀土回收設備包括反應釜,所述反應釜內腔中部固定設置有隔板,所述隔板將反應釜內腔分隔為上腔室與下腔室,所述反應釜內部設置有攪拌機構,所述攪拌機構外側由上至下依次設置有抽吸機構、濾水收集機構和拋灑機構,所述攪拌機構內部設置有封堵觸發機構。本發明可以在含稀土廢水與堿性沉淀劑反應過程中對生成的稀土沉淀物進行持續收集以及轉移,進而使上下腔室同步進行反應過程,有效提高了含稀土廢水中稀土的回收效率,更加適用于含稀土廢水中稀土的工業化回收。

權利要求書
1.一種從含稀土廢水中回收稀土的方法,其特征在于:所述從含稀土廢水中回收稀土的方法通過稀土回收設備實現,所述稀土回收設備包括反應釜(1),所述反應釜(1)內腔中部固定設置有隔板(2),所述隔板(2)將反應釜(1)內腔分隔為上腔室與下腔室,所述反應釜(1)內部設置有攪拌機構(3),所述攪拌機構(3)外側由上至下依次設置有抽吸機構(4)、濾水收集機構(5)和拋灑機構(6),所述攪拌機構(3)內部設置有封堵觸發機構(7);所述攪拌機構(3)包括往復螺桿(31)、驅動電機(32)、上攪拌桿(33)、下攪拌桿(34)和工字傳輸通道(35);所述往復螺桿(31)貫穿反應釜(1)與隔板(2)且通過軸承與反應釜(1)以及隔板(2)轉動連接,所述驅動電機(32)固定設置于反應釜(1)頂部且與往復螺桿(31)傳動連接,所述上攪拌桿(33)與下攪拌桿(34)均設置有多個,多個所述上攪拌桿(33)均勻固定設置于上攪拌桿(33)外側中部,多個所述下攪拌桿(34)均勻固定設置于下攪拌桿(34)外側底部,所述工字傳輸通道(35)開設于往復螺桿(31)內部;所述抽吸機構(4)包括密封殼體(41)、活塞板(42)、導向桿(43)、瓣膜(44)、L胸連接臂(45)和推板(46);所述密封殼體(41)固定套接設置于往復螺桿(31)外側且通過軸承與反應釜(1)內壁轉動連接,所述活塞板(42)傳動套接設置于往復螺桿(31)外側且滑動設置于密封殼體(41)內部,所述導向桿(43)滑動貫穿反應釜(1)頂部且與活塞板(42)固定連接,所述瓣膜(44)固定嵌套設置于密封殼體(41)底部,所述L胸連接臂(45)固定設置于密封殼體(41)側面,所述推板(46)固定設置于L胸連接臂(45)底端。
2.根據權利要求1所述的一種從含稀土廢水中回收稀土的方法,其特征在于:所述濾水收集機構(5)包括環形濾網(51)、環形收集盤(52)、導向斜槽(53)和傳輸管(54)。
3.根據權利要求2所述的一種從含稀土廢水中回收稀土的方法,其特征在于:所述環形濾網(51)固定套接設置于往復螺桿(31)外側,所述環形收集盤(52)通過軸承轉動套接設置于環形濾網(51)外側且與反應釜(1)內壁固定連接,所述導向斜槽(53)開設于環形收集盤(52)頂部,所述傳輸管(54)固定嵌套設置于環形收集盤(52)底部且與導向斜槽(53)連通。
4.根據權利要求3所述的一種從含稀土廢水中回收稀土的方法,其特征在于:所述拋灑機構(6)包括第一工字型桿(61)、連接套管(62)和拋灑盤(63)。
5.根據權利要求4所述的一種從含稀土廢水中回收稀土的方法,其特征在于:所述第一工字型桿(61)沿豎直方向滑動嵌套設置于往復螺桿(31)內部,所述連接套管(62)固定套接設置于第一工字型桿(61)外側,所述拋灑盤(63)滑動套接設置于往復螺桿(31)外側且與連接套管(62)固定連接。
6.根據權利要求5所述的一種從含稀土廢水中回收稀土的方法,其特征在于:所述封堵觸發機構(7)包括封堵板(71)、復位桿(72)、第二工字型桿(73)和磁體(74)。
7.根據權利要求6所述的一種從含稀土廢水中回收稀土的方法,其特征在于:所述封堵板(71)沿豎直方向滑動嵌套設置于工字傳輸通道(35)內壁上,所述復位桿(72)固定設置于封堵板(71)外側頂部,所述第二工字型桿(73)沿豎直方向滑動嵌套設置于往復螺桿(31)內部,所述第一工字型桿(61)和第二工字型桿(73)均與封堵板(71)固定連接,所述磁體(74)設置有兩個,一個所述磁體(74)固定設置于第二工字型桿(73)頂部,另一個所述磁體(74)固定設置于往復螺桿(31)內部。
8.根據權利要求7所述的一種從含稀土廢水中回收稀土的方法,其特征在于,所述方法具體包括以下步驟:S1、將含稀土廢水與堿性沉淀劑加入到上腔室中,將酸性溶液輸入到下腔室中,含稀土廢水與堿性沉淀劑反應持續生成稀土沉淀物,啟動驅動電機(32),驅動電機(32)啟動后帶動往復螺桿(31)持續旋轉,往復螺桿(31)旋轉時帶動上攪拌桿(33)與下攪拌桿(34)分別對上腔室與下腔室中的物料進行攪拌;S2、往復螺桿(31)旋轉過程中帶動活塞板(42)在密封殼體(41)內部持續上升,活塞板(42)上升時在密封殼體(41)內部產生負壓,負壓通過工字傳輸通道(35)傳遞至上腔室內腔底部,進而對上腔室中含有稀土沉淀物的廢水進行持續抽吸,廢水帶動稀土沉淀物通過工字傳輸通道(35)持續進入到密封殼體(41)內部;S3、活塞板(42)上升距離達到第一閾值時,活塞板(42)頂部與第二工字型桿(73)底部接觸,后續隨著活塞板(42)的繼續上升,第二工字型桿(73)帶動封堵板(71)與復位桿(72)同步上升,活塞板(42)上升距離達到第二閾值時,第二工字型桿(73)頂部的磁體(74)與往復螺桿(31)內部的磁體(74)相互吸附,此時封堵板(71)對工字傳輸通道(35)上方開口進行封堵,同時活塞板(42)運動至往復螺桿(31)外側往復螺紋最頂端,后續隨著往復螺桿(31)的繼續旋轉,活塞板(42)下移復位;S4、活塞板(42)下移過程中對密封殼體(41)內部的廢水進行持續加壓,由于工字傳輸通道(35)被阻擋,廢水帶動稀土沉淀物穿過瓣膜(44)噴射在環形濾網(51)頂部,廢水穿過環形濾網(51)再次落入到上腔室中的廢水中,稀土沉淀物則留存在環形濾網(51)頂部;S5、活塞板(42)下降距離達到第三閾值時,活塞板(42)底部與復位桿(72)頂部接觸,后續隨著往復螺桿(31)的繼續旋轉,活塞板(42)通過復位桿(72)對封堵板(71)進行推動,進而使封堵板(71)帶動第二工字型桿(73)下移,第二工字型桿(73)下移時對其頂部的磁體(74)進行拉拽,進而使兩個磁體(74)脫離,此時封堵板(71)解除對工字傳輸通道(35)上方開口的封堵;S6、活塞板(42)下降距離達到第四閾值時,活塞板(42)運動至往復螺桿(31)外側往復螺紋最底端,后續隨著往復螺桿(31)的繼續旋轉,活塞板(42)在密封殼體(41)內部再次上升,進而再次對含有稀土沉淀物的廢水進行抽吸;S7、往復螺桿(31)旋轉時帶動密封殼體(41)與環形濾網(51)同步旋轉,環形濾網(51)旋轉時所產生的離心力帶動其頂部的稀土沉淀物不斷落在環形收集盤(52)頂部的導向斜槽(53)中,密封殼體(41)旋轉時通過L胸連接臂(45)帶動推板(46)在導向斜槽(53)內部持續旋轉,進而使稀土沉淀物不斷落入到傳輸管(54)內部,隨后再由傳輸管(54)底端落入到拋灑盤(63)中被收集;S8、往復螺桿(31)旋轉時帶動第一工字型桿(61)同步旋轉,封堵板(71)升降時帶動第一工字型桿(61)同步升降,第一工字型桿(61)旋轉時通過連接套管(62)帶動拋灑盤(63)同步旋轉,第一工字型桿(61)升降時通過連接套管(62)帶動拋灑盤(63)同步升降,持續旋轉升降的拋灑盤(63)對落入其內部的稀土沉淀物進行持續拋灑,使其均勻落入到下腔室內部酸性溶液中,稀土沉淀物與酸性溶液反應持續生成氟化稀土;S9、待上腔室中的含稀土廢水與堿性沉淀劑反應完成后,對其進行輸出過濾,獲得殘余稀土沉淀物,將殘余稀土沉淀物加入到下腔室中繼續反應,下腔室內部反應完成后,對下腔室內部的物料進行輸出過濾,獲得氟化稀土。
發明內容
本發明的目的在于提供一種從含稀土廢水中回收稀土的方法,以解決上述背景技術中提出的問題。
為實現上述目的,本發明提供如下技術方案:一種從含稀土廢水中回收稀土的方法,所述從含稀土廢水中回收稀土的方法通過稀土回收設備實現,所述稀土回收設備包括反應釜,所述反應釜內腔中部固定設置有隔板,所述隔板將反應釜內腔分隔為上腔室與下腔室,所述反應釜內部設置有攪拌機構,所述攪拌機構外側由上至下依次設置有抽吸機構、濾水收集機構和拋灑機構,所述攪拌機構內部設置有封堵觸發機構;
所述攪拌機構包括往復螺桿、驅動電機、上攪拌桿、下攪拌桿和工字傳輸通道;
所述往復螺桿貫穿反應釜與隔板且通過軸承與反應釜以及隔板轉動連接,所述驅動電機固定設置于反應釜頂部且與往復螺桿傳動連接,所述上攪拌桿與下攪拌桿均設置有多個,多個所述上攪拌桿均勻固定設置于上攪拌桿外側中部,多個所述下攪拌桿均勻固定設置于下攪拌桿外側底部,所述工字傳輸通道開設于往復螺桿內部;
所述抽吸機構包括密封殼體、活塞板、導向桿、瓣膜、L胸連接臂和推板;
所述密封殼體固定套接設置于往復螺桿外側且通過軸承與反應釜內壁轉動連接,所述活塞板傳動套接設置于往復螺桿外側且滑動設置于密封殼體內部,所述導向桿滑動貫穿反應釜頂部且與活塞板固定連接,所述瓣膜固定嵌套設置于密封殼體底部,所述L胸連接臂固定設置于密封殼體側面,所述推板固定設置于L胸連接臂底端。
優選的,所述濾水收集機構包括環形濾網、環形收集盤、導向斜槽和傳輸管。
優選的,所述環形濾網固定套接設置于往復螺桿外側,所述環形收集盤通過軸承轉動套接設置于環形濾網外側且與反應釜內壁固定連接,所述導向斜槽開設于環形收集盤頂部,所述傳輸管固定嵌套設置于環形收集盤底部且與導向斜槽連通。
優選的,所述拋灑機構包括第一工字型桿、連接套管和拋灑盤。
優選的,所述第一工字型桿沿豎直方向滑動嵌套設置于往復螺桿內部,所述連接套管固定套接設置于第一工字型桿外側,所述拋灑盤滑動套接設置于往復螺桿外側且與連接套管固定連接。
優選的,所述封堵觸發機構包括封堵板、復位桿、第二工字型桿和磁體。
優選的,所述封堵板沿豎直方向滑動嵌套設置于工字傳輸通道內壁上,所述復位桿固定設置于封堵板外側頂部,所述第二工字型桿沿豎直方向滑動嵌套設置于往復螺桿內部,所述第一工字型桿和第二工字型桿均與封堵板固定連接,所述磁體設置有兩個,一個所述磁體固定設置于第二工字型桿頂部,另一個所述磁體固定設置于往復螺桿內部。
優選的,所述方法具體包括以下步驟:
S1、將含稀土廢水與堿性沉淀劑加入到上腔室中,將酸性溶液輸入到下腔室中,含稀土廢水與堿性沉淀劑反應持續生成稀土沉淀物,啟動驅動電機,驅動電機啟動后帶動往復螺桿持續旋轉,往復螺桿旋轉時帶動上攪拌桿與下攪拌桿分別對上腔室與下腔室中的物料進行攪拌;
S2、往復螺桿旋轉過程中帶動活塞板在密封殼體內部持續上升,活塞板上升時在密封殼體內部產生負壓,負壓通過工字傳輸通道傳遞至上腔室內腔底部,進而對上腔室中含有稀土沉淀物的廢水進行持續抽吸,廢水帶動稀土沉淀物通過工字傳輸通道持續進入到密封殼體內部;
S3、活塞板上升距離達到第一閾值時,活塞板頂部與第二工字型桿底部接觸,后續隨著活塞板的繼續上升,第二工字型桿帶動封堵板與復位桿同步上升,活塞板上升距離達到第二閾值時,第二工字型桿頂部的磁體與往復螺桿內部的磁體相互吸附,此時封堵板對工字傳輸通道上方開口進行封堵,同時活塞板運動至往復螺桿外側往復螺紋最頂端,后續隨著往復螺桿的繼續旋轉,活塞板下移復位;
S4、活塞板下移過程中對密封殼體內部的廢水進行持續加壓,由于工字傳輸通道被阻擋,廢水帶動稀土沉淀物穿過瓣膜噴射在環形濾網頂部,廢水穿過環形濾網再次落入到上腔室中的廢水中,稀土沉淀物則留存在環形濾網頂部;
S5、活塞板下降距離達到第三閾值時,活塞板底部與復位桿頂部接觸,后續隨著往復螺桿的繼續旋轉,活塞板通過復位桿對封堵板進行推動,進而使封堵板帶動第二工字型桿下移,第二工字型桿下移時對其頂部的磁體進行拉拽,進而使兩個磁體脫離,此時封堵板解除對工字傳輸通道上方開口的封堵;
S6、活塞板下降距離達到第四閾值時,活塞板運動至往復螺桿外側往復螺紋最底端,后續隨著往復螺桿的繼續旋轉,活塞板在密封殼體內部再次上升,進而再次對含有稀土沉淀物的廢水進行抽吸;
S7、往復螺桿旋轉時帶動密封殼體與環形濾網同步旋轉,環形濾網旋轉時所產生的離心力帶動其頂部的稀土沉淀物不斷落在環形收集盤頂部的導向斜槽中,密封殼體旋轉時通過L胸連接臂帶動推板在導向斜槽內部持續旋轉,進而使稀土沉淀物不斷落入到傳輸管內部,隨后再由傳輸管底端落入到拋灑盤中被收集;
S8、往復螺桿旋轉時帶動第一工字型桿同步旋轉,封堵板升降時帶動第一工字型桿同步升降,第一工字型桿旋轉時通過連接套管帶動拋灑盤同步旋轉,第一工字型桿升降時通過連接套管帶動拋灑盤同步升降,持續旋轉升降的拋灑盤對落入其內部的稀土沉淀物進行持續拋灑,使其均勻落入到下腔室內部酸性溶液中,稀土沉淀物與酸性溶液反應持續生成氟化稀土;
S9、待上腔室中的含稀土廢水與堿性沉淀劑反應完成后,對其進行輸出過濾,獲得殘余稀土沉淀物,將殘余稀土沉淀物加入到下腔室中繼續反應,下腔室內部反應完成后,對下腔室內部的物料進行輸出過濾,獲得氟化稀土。
本發明的技術效果和優點:
本發明通過設置有攪拌機構、抽吸機構、濾水收集機構、拋灑機構和封堵觸發機構,以便于利用攪拌機構對抽吸機構以及封堵觸發機構進行同時驅動,抽吸機構被驅動后通過攪拌機構持續抽吸含有稀土沉淀物的廢水,封堵觸發機構則在抽吸機構完成單次抽吸操作后實現攪拌機構的封堵,方便后續抽吸機構在攪拌機構的繼續驅動下降含有稀土沉淀物的廢水輸入到濾水收集機構頂部,濾水收集機構對稀土沉淀物進行濾出,同時利用離心力以及抽吸機構的旋轉將稀土沉淀物輸入到拋灑機構內部,拋灑機構則在封堵觸發機構的帶動下旋轉升降,進而將稀土沉淀物均勻拋灑到下腔室中,以更快的制取氟化稀土,相較于現有技術中同類型裝置以及方法,本發明可以在含稀土廢水與堿性沉淀劑反應過程中對生成的稀土沉淀物進行持續收集以及轉移,進而使上下腔室同步進行反應過程,有效提高了含稀土廢水中稀土的回收效率,更加適用于含稀土廢水中稀土的工業化回收。
(發明人:王雄元;劉名清;袁茂泉;康軍;羅建國)






