公布日:2023.11.21
申請日:2023.09.25
分類號:C02F9/00(2023.01)I;B01D29/64(2006.01)I;B08B9/087(2006.01)I;B08B7/02(2006.01)I;C02F103/32(2006.01)N;C02F1/76(2023.01)N;C02F1/00(2023.01)N;
C02F1/28(2023.01)N
摘要
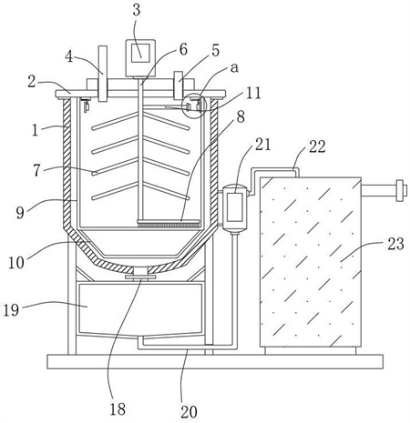
本發明公開了農業蔬菜廢水處理系統及處理方法,包括第一箱體、頂蓋、驅動電機、進水管和加料管,所述第一箱體的頂部設置有頂蓋,且頂蓋的上表面通過螺栓固定有驅動電機,并且頂蓋上還安裝有進水管和加料管;還包括:轉軸,其與所述驅動電機的輸出端相連接。該農業蔬菜廢水處理系統及處理方法,當第一磁鐵旋轉與第二磁鐵相互對應時,會產生互斥力,從而推動第二磁鐵和敲擊塊進行移動,使敲擊塊對第一內桶體的內壁進行敲擊震動,這樣便使吸附在第一內桶體內壁上的菜葉等雜質受到震動而脫落,當第一磁鐵旋轉與第二磁鐵相互錯開時,互斥力消失,在敲擊塊和第一毛刷的作用下,可以實現對第一內桶體的清理,提高整個操作的靈活性。

權利要求書
1.農業蔬菜廢水處理系統,包括第一箱體(1)、頂蓋(2)、驅動電機(3)、進水管(4)和加料管(5),所述第一箱體(1)的頂部設置有頂蓋(2),且頂蓋(2)的上表面通過螺栓固定有驅動電機(3),并且頂蓋(2)上還安裝有進水管(4)和加料管(5);其特征在于,還包括:轉軸(6),其與所述驅動電機(3)的輸出端相連接,所述轉軸(6)的外表面安裝有攪拌葉(7),且轉軸(6)的底部安裝有第一毛刷(8);第一內桶體(9),其設置于所述第一箱體(1)的內部;固定桿(11),其一端和所述轉軸(6)相連接,所述固定桿(11)遠離轉軸(6)的一端安裝有第一磁鐵(12);第一出水管(18),其一端和所述第一箱體(1)的底部相連接,所述第一出水管(18)的另一端和第二箱體(19)相連接,且第二箱體(19)的底部和水泵(21)的進口端通過第二出水管(20)相連接,并且水泵(21)的出口端連接有輸送管(22),所述輸送管(22)的另一端和第三箱體(23)相連接。
2.根據權利要求1所述農業蔬菜廢水處理系統,其特征在于:所述頂蓋(2)的底部設置有定位塊(201),且定位塊(201)在頂蓋(2)的底部等角度分布,并且頂蓋(2)通過定位塊(201)和第一箱體(1)之間構成可拆卸結構。
3.根據權利要求1所述農業蔬菜廢水處理系統,其特征在于:所述第一毛刷(8)和轉軸(6)之間通過螺栓固定,且第一毛刷(8)和第一內桶體(9)的底部相互貼合,并且第一內桶體(9)的底部呈多孔狀。
4.根據權利要求1所述農業蔬菜廢水處理系統,其特征在于:所述第一內桶體(9)的底部安裝有第二內桶體(10),且第二內桶體(10)呈錐形狀,并且第二內桶體(10)的底部為多孔狀結構,所述第二內桶體(10)的底部孔徑小于第一內桶體(9)的底部孔徑。
5.根據權利要求1所述農業蔬菜廢水處理系統,其特征在于:所述頂蓋(2)的下表面固定有限位塊(13),且限位塊(13)的內壁設置有固定板(14),并且固定板(14)遠離限位塊(13)的一端和第二磁鐵(16)相連接,同時固定板(14)和限位塊(13)的內壁之間安裝有彈力彈簧(15)。
6.根據權利要求5所述農業蔬菜廢水處理系統,其特征在于:所述第二磁鐵(16)的表面焊接連接有敲擊塊(17),且第二磁鐵(16)和第一磁鐵(12)之間為同名磁極相向設置,并且第二磁鐵(16)設置有兩個,所述固定板(14)通過彈力彈簧(15)在限位塊(13)的內部構成伸縮結構。
7.根據權利要求1所述的農業蔬菜廢水處理系統,其特征在于:所述第二箱體(19)的內部設置有旋轉桿(24),且旋轉桿(24)的外壁安裝有連接葉片(25)、第二毛刷(28)和第三毛刷(29),并且第二箱體(19)的內部還設置有第一濾網(26)和第二濾網(27)。
8.根據權利要求7所述農業蔬菜廢水處理系統,其特征在于:所述第一濾網(26)和第二濾網(27)均與第二箱體(19)為螺栓連接,且第一濾網(26)和第二濾網(27)相互平行,并且第一濾網(26)的孔徑小于第二內桶體(10)底部的孔徑,同時第二濾網(27)為活性炭濾網。
9.根據權利要求7所述農業蔬菜廢水處理系統,其特征在于:所述連接葉片(25)和旋轉桿(24)之間為焊接連接,且連接葉片(25)和第一出水管(18)的出口處呈垂直狀態,并且旋轉桿(24)與第一濾網(26)、第二濾網(27)均為軸承連接,所述第二毛刷(28)和第三毛刷(29)分別與第一濾網(26)和第二濾網(27)相互貼合。
10.農業蔬菜廢水處理方法,其特征在于,包括如下步驟:第一步:將頂蓋(2)和第一箱體(1)進行安裝,使定位塊(201)卡合進第一箱體(1)的頂端內壁,接著將需要處理的廢水從進水管(4)中引入,使廢水進入第一箱體(1)內部,與此同時,啟動驅動電機(3),驅動電機(3)會帶動轉軸(6)進行旋轉,轉軸(6)的外壁安裝有攪拌葉(7),這樣可以通過轉軸(6)帶動攪拌葉(7)一起轉動,通過攪拌葉(7)對廢水進行攪拌,使蔬菜廢水中的泥塊被攪碎;第二步:在攪拌的同時,從加料管(5)中添加廢水處理劑,廢水處理劑為二氧化氯,可以降解蔬菜廢水中的農藥,通過廢水處理劑和廢水的混合反應,可以加快對廢水的凈化,而且轉軸(6)的底端安裝有第一毛刷(8),且第一毛刷(8)和第一內桶體(9)的底部相互貼合,這樣在轉軸(6)旋轉時,可以帶動第一毛刷(8)一起轉動,通過第一毛刷(8)對第一內桶體(9)的底部進行清理,可以有效防止廢水中的大顆粒物質對第一內桶體(9)的底部造成堵塞,確保廢水處理工作的正常進行,轉軸(6)的外壁還固定有固定桿(11),且固定桿(11)的外表面安裝有第一磁鐵(12),并且第一磁鐵(12)和第二磁鐵(16)為同名磁極相向設置,所以當第一磁鐵(12)轉動與第二磁鐵(16)相互對應時,會產生互斥力,從而帶動固定板(14)和敲擊塊(17)一起移動,并且對彈力彈簧(15)進行擠壓,使敲擊塊(17)移動對第一內桶體(9)的內壁進行敲打震動,使吸附在第一內桶體(9)內壁上的菜葉等雜質受到震動脫落,當第一磁鐵(12)轉動與第二磁鐵(16)錯開時,互斥力消失,在彈力彈簧(15)的復位作用下,第二磁鐵(16)和敲擊塊(17)復位,而且第二磁鐵(16)和敲擊塊(17)設置有兩個,這樣在對廢水攪拌的同時,可以自行對第一內桶體(9)進行清理,提高整個操作的靈活性;第三步:開啟第一出水管(18)上的閥門,這樣第一內桶體(9)內部的廢水會經過第二內桶體(10)進入第一出水管(18)中,再由第一出水管(18)進入第二箱體(19)中,其中第二內桶體(10)的底部呈鏤空狀,且第二內桶體(10)底部的孔徑小于第一內桶體(9)底部的孔徑,因此可以對廢水進行過濾,將廢水中的顆粒物雜質進行再一次的攔截;第四步:第二箱體(19)的內部設置有第一濾網(26)和第二濾網(27),且第一濾網(26)的孔徑小于第二內桶體(10)的底部孔徑,并且第二濾網(27)為活性炭濾網,同時第一濾網(26)和第二濾網(27)的內部貫穿有旋轉桿(24),旋轉桿(24)的頂端固定有連接葉片(25),而連接葉片(25)和第一出水管(18)的出口端呈垂直狀態,因此在第一出水管(18)排出水時,可以驅動連接葉片(25)和旋轉桿(24)進行旋轉,這樣便使旋轉桿(24)帶動第二毛刷(28)和第三毛刷(29)一起轉動,第二毛刷(28)和第一濾網(26)的上表面相互貼合,第三毛刷(29)和第二濾網(27)的上表面相互貼合,所以在第二毛刷(28)和第三毛刷(29)轉動時,可以分別對第一濾網(26)和第二濾網(27)進行清理,防止雜質對第一濾網(26)和第二濾網(27)造成堵塞,在第一濾網(26)和第二濾網(27)的作用下,可以再次對廢水進行過濾,并且吸附廢水中的異味;第五步:啟動水泵(21),水泵(21)會通過第二出水管(20)將處理后的廢水抽出,然后通過輸送管(22)將廢水輸送至第三箱體(23)中,廢水進入第三箱體(23)后會進行靜止沉淀,沉淀后上層的水便是干凈的,可以直接排放。
發明內容
本發明的目的在于提供農業蔬菜廢水處理系統及處理方法,以解決上述背景技術提出的目前市場上的廢水處理裝置不能在廢水攪拌過程中對箱體的內壁進行清理,廢水中的雜質容易吸附在箱體內壁,對箱體造成污染,而且不能對濾網進行清理,長時間的使用,會使雜質對濾網造成堵塞,從而影響了廢水的正常排放,降低了對整個操作的使用效果的問題。
為實現上述目的,本發明提供如下技術方案:農業蔬菜廢水處理系統及處理方法,包括第一箱體、頂蓋、驅動電機、進水管和加料管,所述第一箱體的頂部設置有頂蓋,且頂蓋的上表面通過螺栓固定有驅動電機,并且頂蓋上還安裝有進水管和加料管;還包括:轉軸,其與所述驅動電機的輸出端相連接,所述轉軸的外表面安裝有攪拌葉,且轉軸的底部安裝有第一毛刷;第一內桶體,其設置于所述第一箱體的內部;固定桿,其一端和所述轉軸相連接,所述固定桿遠離轉軸的一端安裝有第一磁鐵;第一出水管,其一端和所述第一箱體的底部相連接,所述第一出水管的另一端和第二箱體相連接,且第二箱體的底部和水泵的進口端通過第二出水管相連接,并且水泵的出口端連接有輸送管,所述輸送管的另一端和第三箱體相連接。
優選的,所述頂蓋的底部設置有定位塊,且定位塊在頂蓋的底部等角度分布,并且頂蓋通過定位塊和第一箱體之間構成可拆卸結構,可以在定位塊的作用下,使頂蓋和第一箱體之間連接的更加緊密。
優選的,所述第一毛刷和轉軸之間通過螺栓固定,且第一毛刷和第一內桶體的底部相互貼合,并且第一內桶體的底部呈多孔狀,可以使第一毛刷和轉軸之間連接的更加牢固,這樣可以使第一毛刷隨著轉軸的旋轉而轉動,通過第一毛刷對第一內桶體的底部進行清理。
優選的,所述第一內桶體的底部安裝有第二內桶體,且第二內桶體呈錐形狀,并且第二內桶體的底部為多孔狀結構,所述第二內桶體的底部孔徑小于第一內桶體的底部孔徑,這樣在廢水排放時,可以對廢水進行過濾,將廢水中的不同顆粒物雜質進行攔截。
優選的,所述頂蓋的下表面固定有限位塊,且限位塊的內壁設置有固定板,并且固定板遠離限位塊的一端和第二磁鐵相連接,同時固定板和限位塊的內壁之間安裝有彈力彈簧,這樣便于對固定板進行位移,確保清理工作的正常進行。
優選的,所述第二磁鐵的表面焊接連接有敲擊塊,且第二磁鐵和第一磁鐵之間為同名磁極相向設置,并且第二磁鐵設置有兩個,所述固定板通過彈力彈簧在限位塊的內部構成伸縮結構,可以通過第二磁鐵和第一磁鐵之間的互斥力,實現對第一內桶體內壁的清理,有效減少雜質的吸附。
優選的,所述第二箱體的內部設置有旋轉桿,且旋轉桿的外壁安裝有連接葉片、第二毛刷和第三毛刷,并且第二箱體的內部還設置有第一濾網和第二濾網,可以對廢水進行再次的過濾,提高廢水的處理效果。
優選的,所述第一濾網和第二濾網均與第二箱體為螺栓連接,且第一濾網和第二濾網相互平行,并且第一濾網的孔徑小于第二內桶體底部的孔徑,同時第二濾網為活性炭濾網,可以對廢水中的異味進行吸附,同時保證了第一濾網和第二濾網使用時的牢固性。
優選的,所述連接葉片和旋轉桿之間為焊接連接,且連接葉片和第一出水管的出口處呈垂直狀態,并且旋轉桿與第一濾網、第二濾網均為軸承連接,所述第二毛刷和第三毛刷分別與第一濾網和第二濾網相互貼合,這樣可以通過水排放時的沖擊力帶動旋轉桿進行轉動,進而帶動第二毛刷和第三毛刷一起旋轉,對第一濾網和第二濾網進行清理,有效防止第一濾網和第二濾網出現堵塞的現象。
農業蔬菜廢水處理方法,包括如下步驟:第一步:將頂蓋和第一箱體進行安裝,使定位塊卡合進第一箱體的頂端內壁,接著將需要處理的廢水從進水管中引入,使廢水進入第一箱體內部,與此同時,啟動驅動電機,驅動電機會帶動轉軸進行旋轉,轉軸的外壁安裝有攪拌葉,這樣可以通過轉軸帶動攪拌葉一起轉動,通過攪拌葉對廢水進行攪拌,使蔬菜廢水中的泥塊被攪碎;第二步:在攪拌的同時,從加料管中添加廢水處理劑,廢水處理劑為二氧化氯,可以降解蔬菜廢水中的農藥,通過廢水處理劑和廢水的混合反應,可以加快對廢水的凈化,而且轉軸的底端安裝有第一毛刷,且第一毛刷和第一內桶體的底部相互貼合,這樣在轉軸旋轉時,可以帶動第一毛刷一起轉動,通過第一毛刷對第一內桶體的底部進行清理,可以有效防止廢水中的大顆粒物質對第一內桶體的底部造成堵塞,確保廢水處理工作的正常進行,轉軸的外壁還固定有固定桿,且固定桿的外表面安裝有第一磁鐵,并且第一磁鐵和第二磁鐵為同名磁極相向設置,所以當第一磁鐵轉動與第二磁鐵相互對應時,會產生互斥力,從而帶動固定板和敲擊塊一起移動,并且對彈力彈簧進行擠壓,使敲擊塊移動對第一內桶體的內壁進行敲打震動,使吸附在第一內桶體內壁上的菜葉等雜質受到震動脫落,當第一磁鐵轉動與第二磁鐵錯開時,互斥力消失,在彈力彈簧的復位作用下,第二磁鐵和敲擊塊復位,而且第二磁鐵和敲擊塊設置有兩個,這樣在對廢水攪拌的同時,可以自行對第一內桶體進行清理,提高整個操作的靈活性;第三步:開啟第一出水管上的閥門,這樣第一內桶體內部的廢水會經過第二內桶體進入第一出水管中,再由第一出水管進入第二箱體中,其中第二內桶體的底部呈鏤空狀,且第二內桶體底部的孔徑小于第一內桶體底部的孔徑,因此可以對廢水進行過濾,將廢水中的顆粒物雜質進行再一次的攔截;第四步:第二箱體的內部設置有第一濾網和第二濾網,且第一濾網的孔徑小于第二內桶體的底部孔徑,并且第二濾網為活性炭濾網,同時第一濾網和第二濾網的內部貫穿有旋轉桿,旋轉桿的頂端固定有連接葉片,而連接葉片和第一出水管的出口端呈垂直狀態,因此在第一出水管排出水時,可以驅動連接葉片和旋轉桿進行旋轉,這樣便使旋轉桿帶動第二毛刷和第三毛刷一起轉動,第二毛刷和第一濾網的上表面相互貼合,第三毛刷和第二濾網的上表面相互貼合,所以在第二毛刷和第三毛刷轉動時,可以分別對第一濾網和第二濾網進行清理,防止雜質對第一濾網和第二濾網造成堵塞,在第一濾網和第二濾網的作用下,可以再次對廢水進行過濾,并且吸附廢水中的異味;第五步:啟動水泵,水泵會通過第二出水管將處理后的廢水抽出,然后通過輸送管將廢水輸送至第三箱體中,廢水進入第三箱體后會進行靜止沉淀,沉淀后上層的水便是干凈的,可以直接排放。
與現有技術相比,本發明的有益效果是:該農業蔬菜廢水處理系統及處理方法,轉軸的外表面安裝有固定桿,轉軸的底部安裝有第一毛刷,且固定桿遠離轉軸的一端安裝有第一磁鐵,并且第一磁鐵和第二磁鐵之間為同名磁極相向設置,同時第二磁鐵和敲擊塊之間為焊接連接,第二磁鐵的頂端和限位塊相互固定,當第一磁鐵旋轉與第二磁鐵相互對應時,會產生互斥力,從而推動第二磁鐵和敲擊塊進行移動,使敲擊塊對第一內桶體的內壁進行敲擊震動,這樣便使吸附在第一內桶體內壁上的菜葉等雜質受到震動而脫落,當第一磁鐵旋轉與第二磁鐵相互錯開時,互斥力消失,在敲擊塊和第一毛刷的作用下,可以實現對第一內桶體的清理,提高整個操作的靈活性;該農業蔬菜廢水處理系統及處理方法,第二箱體的內部設置有第一濾網和第二濾網,且第一濾網的孔徑小于第二內桶體底部的孔徑,并且第二濾網為活性炭濾網,這樣可以對廢水進行再一次的過濾和吸附,提高廢水的處理效果,而且第一濾網和第二濾網的內部貫穿有旋轉桿,旋轉桿頂部的連接葉片和第一出水管的出口端呈垂直狀態,進而在第一出水管排水時,可以驅動旋轉桿進行轉動,這樣便帶動第二毛刷和第三毛刷一起旋轉,對第一濾網和第二濾網進行自行清理,進一步提高了整個操作的實用性。
(發明人:李云駒;于冬冬;彭曉云;子瑾;周龍;余浪;廖濤;謝雪果;湯俊瑜;張柏榮;施延達)






