公布日:2022.04.22
申請日:2022.01.21
分類號:C02F5/02(2006.01)I
摘要
本發明公開了一種快速自清潔的工業廢水中鈣鎂沉淀一體化回收裝置,包括處理池,處理池內部底端貫穿固定有排放管,排放管位于處理池外部的一端安裝有閥門,處理池外壁兩側的頂端均固定有支撐板,主動齒輪與從動齒輪的嚙合連接使得伺服電機的工作會帶動傳動管、轉動管一并轉動,轉動管的轉動會帶動一號刷板和毛刷一并轉動,通過旋轉的一號刷板和毛刷能夠對處理池的四側內壁頑固的沉淀物殘渣達到清刷的效果,且一號刷板底部的二號刷板能夠對處理池內底部進行清刷,從而使得處理池內壁上的頑固殘渣能夠有效地溶解于水中,且旋轉中的一號刷板和毛刷能夠加速試劑與水的反應,使得混合水能夠充分地與處理池內壁的沉淀物進行融合。

權利要求書
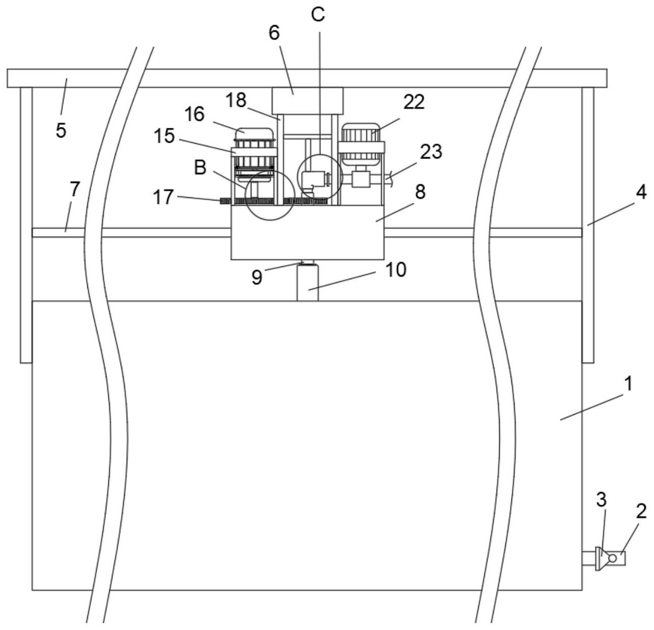
1.一種快速自清潔的工業廢水中鈣鎂沉淀一體化回收裝置,其特征在于:包括處理池(1),所述處理池(1)內部底端貫穿固定有排放管(2),所述排放管(2)位于處理池(1)外部的一端安裝有閥門(3),所述處理池(1)外壁兩側的頂端均固定有支撐板(4),位于處理池(1)上方相互靠近一側的兩個支撐板(4)之間固定有導向桿(7),所述導向桿(7)上穿插滑動有支撐塊(8),所述支撐塊(8)的頂部兩端均固定有固定架(15),其中一個所述固定架(15)內部固定有伺服電機(16),所述伺服電機(16)的輸出端固定有主動齒輪(17),所述支撐塊(8)上穿插有傳動管(9),所述傳動管(9)穿過支撐塊(8)一端的頂部外壁固定套設有從動齒輪(14),所述傳動管(9)穿過支撐塊(8)一端的底部固定有轉動管(10),所述轉動管(10)的底部兩端均固定有一號刷板(11),所述一號刷板(11)的底部均固定有二號刷板(13)。
2.根據權利要求1所述的一種快速自清潔的工業廢水中鈣鎂沉淀一體化回收裝置,其特征在于:所述支撐板(4)之間的頂部固定有滑軌(5),所述滑軌(5)的底部電性連接有行程電機(6),所述行程電機(6)的底部四角均固定有支撐桿(18),所述支撐桿(18)的底部分別與支撐塊(8)的頂部固定連接。
3.根據權利要求2所述的一種快速自清潔的工業廢水中鈣鎂沉淀一體化回收裝置,其特征在于:所述支撐桿(18)之間靠近行程電機(6)一端固定有支撐架(19),所述支撐架(19)位于支撐桿(18)之間的底部固定有彎管(20),另一個所述固定架(15)的內部固定有水泵(22),所述水泵(22)的輸入端連接有進水管(23),所述水泵(22)的輸出端連接有銜接管(24),所述銜接管(24)遠離水泵(22)的一端與出水管(21)一端連接相通,所述彎管(20)的內壁與出水管(21)相匹配位置的外壁固定連接,所述出水管(21)與轉動管(10)穿插連接,且所述出水管(21)插入轉動管(10)內部一端的外徑尺寸小于轉動管(10)的內徑尺寸。
4.根據權利要求3所述的一種快速自清潔的工業廢水中鈣鎂沉淀一體化回收裝置,其特征在于:所述出水管(21)為硬性管件,且所述出水管(21)遠離銜接管(24)的一端分別與彎管(20)以及傳動管(9)穿插相通,所述出水管(21)穿過彎管(20)和傳動管(9)的一端插設與轉動管(10)的內部。
5.根據權利要求1所述的一種快速自清潔的工業廢水中鈣鎂沉淀一體化回收裝置,其特征在于:所述轉動管(10)位于一號刷板(11)上方的兩端均固定有毛刷(12),所述轉動管(10)兩側毛刷(12)的數量均不少于八個,所述毛刷(12)和一號刷板(11)均插設于處理池(1)的內部,且所述一號刷板(11)底部的二號刷板(13)均與處理池(1)的內壁底端觸接,所述毛刷(12)遠離轉動管(10)的一端分別與處理池(1)的內側壁觸接。
6.根據權利要求1所述的一種快速自清潔的工業廢水中鈣鎂沉淀一體化回收裝置,其特征在于:所述主動齒輪(17)和從動齒輪(14)的位置相平行,所述從動齒輪(14)與主動齒輪(17)相互靠近的一側嚙合連接。
7.根據權利要求1所述的一種快速自清潔的工業廢水中鈣鎂沉淀一體化回收裝置,其特征在于:所述支撐塊(8)和傳動管(9)穿插后轉動連接。
發明內容
本發明解決的技術問題是:能夠有效的將池壁上殘留的沉淀殘渣清除,并對處理池進行沖刷清洗工作。
本發明的技術方案是一種快速自清潔的工業廢水中鈣鎂沉淀一體化回收裝置,包括處理池,所述處理池內部底端貫穿固定有排放管,所述排放管位于處理池外部的一端安裝有閥門,所述處理池外壁兩側的頂端均固定有支撐板,位于處理池上方相互靠近一側的兩個支撐板之間固定有導向桿,所述導向桿上穿插滑動有支撐塊,所述支撐塊的頂部兩端均固定有固定架,其中一個所述固定架內部固定有伺服電機,所述伺服電機的輸出端固定有主動齒輪,所述支撐塊上穿插有傳動管,所述傳動管穿過支撐塊一端的頂部外壁固定套設有從動齒輪,所述傳動管穿過支撐塊一端的底部固定有轉動管,所述轉動管的底部兩端均固定有一號刷板,所述一號刷板的底部均固定有二號刷板。
優選的,所述支撐板之間的頂部固定有滑軌,所述滑軌的底部電性連接有行程電機,所述行程電機的底部四角均固定有支撐桿,所述支撐桿的底部分別與支撐塊的頂部固定連接;
該方案的優點:方便帶動一號刷板和毛刷在處理池內移動,達到更好的清刷效果
優選的,所述支撐桿之間靠近行程電機一端固定有支撐架,所述支撐架位于支撐桿之間的底部固定有彎管,另一個所述固定架的內部固定有水泵,所述水泵的輸入端連接有進水管,所述水泵的輸出端連接有銜接管,所述銜接管遠離水泵的一端與出水管一端連接相通,所述彎管的內壁與出水管相匹配位置的外壁固定連接,所述出水管與轉動管穿插連接,且所述出水管插入轉動管內部一端的外徑尺寸小于轉動管的內徑尺寸;
該方案的優點:方便將清水排入處理池的內部,且能夠隨著轉動管的移動而一并移動,當清水沖擊到處理池內底部時,會向周圍散出,旋轉的二號刷板能夠借著散出的水而更好地將混合水沖刷至處理池的外部。
優選的,所述出水管為硬性管件,且所述出水管遠離銜接管的一端分別與彎管以及傳動管穿插相通,所述出水管穿過彎管和傳動管的一端插設與轉動管的內部;
該方案的優點:方便進水適配轉動管移動時的排水工作。
優選的,所述轉動管位于一號刷板上方的兩端均固定有毛刷,所述轉動管兩側毛刷的數量均不少于八個,所述毛刷和一號刷板均插設于處理池的內部,且所述一號刷板底部的二號刷板均與處理池的內壁底端觸接,所述毛刷遠離轉動管的一端分別與處理池的內側壁觸接;
該方案的優點:方便對處理池的內壁進行清刷工作。
優選的,所述主動齒輪和從動齒輪的位置相平行,所述從動齒輪與主動齒輪相互靠近的一側嚙合連接;
該方案的優點:方便進行傳動,從而帶動轉動管上的一號刷板、毛刷以及二號刷板進行轉動。
優選的,所述支撐塊和傳動管穿插后轉動連接;
該方案的優點:使轉動管在做清刷工作能夠旋轉得更加穩定。
本發明的有益效果是:
1、主動齒輪與從動齒輪的嚙合連接使得伺服電機的工作而帶動傳動管、轉動管一并轉動,轉動管的轉動而帶動一號刷板和毛刷一并轉動,當試劑與處理池內壁上的沉淀物混合反應時,通過旋轉的一號刷板和毛刷能夠對處理池的四側內壁頑固的沉淀物殘渣達到清刷的效果,且一號刷板底部的二號刷板能夠對處理池內底部進行清刷,從而使得處理池內壁上的頑固殘渣能夠有效地溶解于水中,且旋轉中的一號刷板和毛刷能夠加速試劑與水的反應,使得混合水能夠充分地與處理池內壁的沉淀物進行融合,且通過行程電機工作后在滑軌上的移動能夠帶動支撐塊、轉動管在處理池內進行移動,從而達到對處理池完整清刷的效果;
2、當清刷完的混合水通過閥門的開啟從排放管排出后,處理池的內底部會殘留一些混合水,通過水泵的工作將進水管內的清水由銜接管、出水管而泵向處理池的內部,通過清水的沖刷而使混合水快速排出處理池的外部,且沖刷的過程中通過旋轉的二號刷板搭配行程電機的使用而達到排水中的推動效果,使得處理池內殘留的混合水能夠很好的排出至處理池的外部。
(發明人:吳強;吳健)






