公布日:2023.11.28
申請日:2023.10.08
分類號:C02F3/12(2023.01)I
摘要
本發明涉及污水處理技術領域,提出了一種好氧池活性污泥強化裝置,包括加強艙和多個培養罐,所述加強艙包括罐體和培養管,所述培養管包括匯流管、多個分配管、活塞、多個密封瓣和彈性件,所述活塞密封設置在所述匯流管內;所述密封瓣位于所述活塞和所述封堵板之間;所述彈性件用于抵持所述活塞,使所述活塞抵持所述密封瓣,以對所述分配管進行封堵。本發明通過在匯流管內設置密封瓣和活塞,不僅可以對各個分配管的連通進行控制,還可以將匯流管內殘留的溶液進行回收,避免出現兩種培養液之間發生中和以及匯流管內殘留培養液滴入加強艙內影響活性污泥強化環境調節效果的問題,從而保障了活性污泥的強化效率。

權利要求書
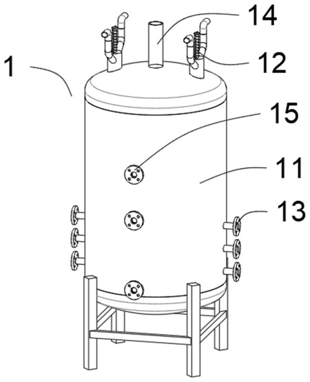
1.一種好氧池活性污泥強化裝置,其特征在于:包括加強艙(1)和多個培養罐(2),其中,所述加強艙(1)包括罐體(11)和培養管(12),所述培養管(12)包括匯流管(121)、多個分配管(122)、活塞(123)、多個密封瓣(124)和彈性件(125),其中,所述匯流管(121)的一端固定設置在所述罐體(11)上,并與其內部相連通,另一端固定設置有封堵板(1211);所述分配管(122)的一端固定設置在所述匯流管(121)的周側上,并與其內部相連通,另一端與所述培養罐(2)通過輸送管路相連通;所述活塞(123)密封設置在所述匯流管(121)內,并可沿其軸向進行滑動;所述密封瓣(124)位于所述活塞(123)和所述封堵板(1211)之間,并可沿所述匯流管(121)的軸向進行滑動,所述密封瓣(124)和所述分配管(122)均與所述培養罐(2)一一對應;所述活塞(123)包括活塞頭(1231)、活塞桿(1232)和限位板(1233),其中,所述活塞頭(1231)密封固定在所述匯流管(121)內,并可沿其軸向進行滑動;所述活塞桿(1232)固定設置在所述活塞頭(1231)靠近所述密封瓣(124)的一側,所述活塞桿(1232)貫穿所述封堵板(1211),并與所述封堵板(1211)和所述密封瓣(124)滑動連接;所述限位板(1233)固定設置在所述活塞桿(1232)遠離所述活塞頭(1231)的一端;所述彈性件(125)用于抵持所述活塞(123),使所述活塞(123)抵持所述密封瓣(124),以對所述分配管(122)進行封堵。
2.如權利要求1所述的一種好氧池活性污泥強化裝置,其特征在于:所述彈性件(125)為壓縮彈簧,所述彈性件(125)套在所述活塞桿(1232)上,且其兩端分別與所述封堵板(1211)和所述限位板(1233)相抵持。
3.如權利要求2所述的一種好氧池活性污泥強化裝置,其特征在于:所述密封瓣(124)上固定設置有操作桿(1241),所述操作桿(1241)貫穿所述封堵板(1211),并與之滑動連接。
4.如權利要求3所述的一種好氧池活性污泥強化裝置,其特征在于:所述活塞頭(1231)靠近所述活塞桿(1232)的一側開設有儲存槽(101);所述活塞(123)還包括吸管(1234),所述吸管(1234)固定設置在所述活塞桿(1232)和所述限位板(1233)內,且所述吸管(1234)的一端位于所述儲存槽(101)內,另一端貫穿所述限位板(1233)。
5.如權利要求1-4中任一項所述的一種好氧池活性污泥強化裝置,其特征在于:所述加強艙(1)還包括加熱機構(13),所述加熱機構(13)包括進水管(131)、出水管(132)、彎盤管(133)和密封箱(134),其中,所述進水管(131)和所述出水管(132)貫穿所述罐體(11),并與之固定連接,且所述進水管(131)和所述出水管(132)關于所述罐體(11)的中心線對稱設置;所述彎盤管(133)位于所述罐體(11)內,其兩端分別固定設置在所述進水管(131)和所述出水管(132)上,并與二者相連通;所述密封箱(134)固定設置在所述罐體(11)內,且所述進水管(131)和所述出水管(132)均貫穿所述密封箱(134),所述密封箱(134)遠離所述進水管(131)的一側與所述罐體(11)的內壁之間設置有間隔。
6.如權利要求5所述的一種好氧池活性污泥強化裝置,其特征在于:所述密封箱(134)的頂側開設有多個流動槽(102),所述流動槽(102)內的側壁上開設有多個弧形凹槽(103);所述密封箱(134)頂側與地面的距離沿所述進水管(131)至所述出水管(132)的方向逐漸減小。
7.如權利要求6所述的一種好氧池活性污泥強化裝置,其特征在于:所述加熱機構(13)設置有多個,且多個加熱機構(13)關于所述罐體(11)的中心線交替排列。
8.如權利要求7所述的一種好氧池活性污泥強化裝置,其特征在于:所述加強艙(1)還包括污泥輸入管(14)和三個污泥輸出管(15),其中,所述污泥輸入管(14)貫穿所述罐體(11),并與之固定連接,所述污泥輸入管(14)位于所述罐體(11)外部的一端與現場好氧池(3)通過輸送管路相連通,所述污泥輸入管(14)位于所述罐體(11)內部的一端上固定設置有扁嘴噴頭(141);所述污泥輸出管(15)的一端固定設置在所述罐體(11)的周側上,并與之相連通,三個所述污泥輸出管(15)呈豎直排列的方式設置。
9.一種好氧池活性污泥強化方法,其特征在于,采用如權利要求8所述的好氧池活性污泥強化裝置,包括以下步驟:S1,將所述進水管(131)和所述出水管(132)與熱水循環設備相連通,使所述罐體(11)內的溫度保持在25-35℃,并將所述罐體(11)的內部與除臭設備相連通;S2,將所述現場好氧池(3)中的好氧活性污泥和污水通過所述污泥輸入管(14)輸送至所述罐體(11)內,所述好氧活性污泥和所述污水在所述罐體(11)內形成第一混合液,并對所述第一混合液靜置一段時間;S3,利用上方兩個所述污泥輸出管(15)將所述第一混合液上層的部分上清液排出,然后向所述罐體(11)內輸入自來水,所述自來水與所述罐體(11)內剩余的所述第一混合液融合形成第二混合液;S4,利用培養管(12)和輸送管道將多個所述培養罐(2)中的培養液輸送至所述罐體(11)內,使所述第二混合液滿足活性生物所需的生長環境;S5,使用曝氣設備對所述罐體(11)內的第二混合液進行曝氣;S6,對所述第二混合液進行靜置,再利用上方兩個所述污泥輸出管(15)將所述第二混合液上層的部分上清液排出,然后向所述罐體(11)內輸入好氧段進水,所述好氧段進水與所述罐體(11)內剩余的所述第二混合液融合形成第三混合液;S7,使用所述曝氣設備對所述罐體(11)內的第三混合液進行曝氣;S8,對所述第三混合液進行靜置,利用上方兩個所述污泥輸出管(15)將所述第三混合液上層的部分上清液排出,然后向所述罐體(11)內輸入好氧段進水,所述好氧段進水與所述罐體(11)內剩余的所述第三混合液融合形成第四混合液;S9,使用所述曝氣設備對所述罐體(11)內的第四混合液進行曝氣,對所述第四混合液中活性物質的含量進行檢測,若檢測結果符合標準,則利用下方的所述污泥輸出管(15)將所述第四混合液中的好氧活性污泥輸入至所述現場好氧池(3)內,若檢測結果符合標準,則重復S8-S9。
10.如權利要求9所述的一種好氧池活性污泥強化方法,其特征在于:在向所述罐體(11)內輸入所述好氧活性污泥、所述自來水或所述好氧段進水時以及將所述上清液或所述好氧活性污泥排出至所述罐體(11)的外部時,若所述罐體(11)內混合液的液位高度在單位時間內的變化值小于預設閾值,則進行管路異常報警。
發明內容
有鑒于此,本發明提出了一種好氧池活性污泥強化裝置及方法,能夠控制培養液添加至加強艙內的量,保障培養液對活性污泥強化環境的調節效果。
本發明的技術方案是這樣實現的:一方面,本發明提供了一種好氧池活性污泥強化裝置,包括加強艙和多個培養罐,其中,
所述加強艙包括罐體和培養管,所述培養管包括匯流管、多個分配管、活塞、多個密封瓣和彈性件,其中,
所述匯流管的一端固定設置在所述罐體上,并與其內部相連通,另一端固定設置有封堵板;
所述分配管的一端固定設置在所述匯流管的周側上,并與其內部相連通,另一端與所述培養罐通過輸送管路相連通;
所述活塞密封設置在所述匯流管內,并可沿其軸向進行滑動;
所述密封瓣位于所述活塞和所述封堵板之間,并可沿所述匯流管的軸向進行滑動,所述密封瓣和所述分配管均與所述培養罐一一對應;
所述彈性件用于抵持所述活塞,使所述活塞抵持所述密封瓣,以對所述分配管進行封堵。
在以上技術方案的基礎上,優選的,所述活塞包括活塞頭、活塞桿和限位板,其中,
所述活塞頭密封固定在所述匯流管內,并可沿其軸向進行滑動;
所述活塞桿固定設置在所述活塞頭靠近所述密封瓣的一側,所述活塞桿貫穿所述封堵板,并與所述封堵板和所述密封瓣滑動連接;
所述限位板固定設置在所述活塞桿遠離所述活塞頭的一端;
所述彈性件為壓縮彈簧,所述彈性件套在所述活塞桿上,且其兩端分別與所述封堵板和所述限位板相抵持。
更進一步優選的,所述密封瓣上固定設置有操作桿,所述操作桿貫穿所述封堵板,并與之滑動連接。
更進一步優選的,所述活塞頭靠近所述活塞桿的一側開設有儲存槽;
所述活塞還包括吸管,所述吸管固定設置在所述活塞桿和所述限位板內,且所述吸管的一端位于所述儲存槽內,另一端貫穿所述限位板。
在以上技術方案的基礎上,優選的,所述加強艙還包括加熱機構,所述加熱機構包括進水管、出水管、彎盤管和密封箱,其中,
所述進水管和所述出水管貫穿所述罐體,并與之固定連接,且所述進水管和所述出水管關于所述罐體的中心線對稱設置;
所述彎盤管位于所述罐體內,其兩端分別固定設置在所述進水管和所述出水管上,并與二者相連通;
所述密封箱固定設置在所述罐體內,且所述進水管和所述出水管均貫穿所述密封箱,所述密封箱遠離所述進水管的一側與所述罐體的內壁之間設置有間隔。
更進一步優選的,所述密封箱的頂側開設有多個流動槽,所述流動槽內的側壁上開設有多個弧形凹槽;
所述密封箱頂側與地面的距離沿所述進水管至所述出水管的方向逐漸減小。
更進一步優選的,所述加熱機構設置有多個,且多個加熱機構關于所述罐體的中心線交替排列。
更進一步優選的,所述加強艙還包括污泥輸入管和三個污泥輸出管,其中,
所述污泥輸入管貫穿所述罐體,并與之固定連接,所述污泥輸入管位于所述罐體外部的一端與現場好氧池通過輸送管路相連通,所述污泥輸入管位于所述罐體內部的一端上固定設置有扁嘴噴頭;
所述污泥輸出管的一端固定設置在所述罐體的周側上,并與之相連通,三個所述污泥輸出管呈豎直排列的方式設置。
第二方面,本發明提供了一種好氧池活性污泥強化方法,其特征在于,采用好氧池活性污泥強化裝置,包括以下步驟:
S1,將所述進水管和所述出水管與熱水循環設備相連通,使所述罐體內的溫度保持在25-35℃,并將所述罐體的內部與除臭設備相連通;
S2,將所述現場好氧池中的好氧活性污泥和污水通過所述污泥輸入管輸送至所述罐體內,所述好氧活性污泥和所述污水在所述罐體內形成第一混合液,并對所述第一混合液靜置一段時間;
S3,利用上方兩個所述污泥輸出管將所述第一混合液上層的部分上清液排出,然后向所述罐體內輸入自來水,所述自來水與所述罐體內剩余的所述第一混合液融合形成第二混合液;
S4,利用培養管和輸送管道將多個所述培養罐中的培養液輸送至所述罐體內,使所述第二混合液滿足活性生物所需的生長環境;
S5,使用曝氣設備對所述罐體內的第二混合液進行曝氣;
S6,對所述第二混合液進行靜置,再利用上方兩個所述污泥輸出管將所述第二混合液上層的部分上清液排出,然后向所述罐體內輸入好氧段進水,所述好氧段進水與所述罐體內剩余的所述第二混合液融合形成第三混合液;
S7,使用所述曝氣設備對所述罐體內的第三混合液進行曝氣;
S8,對所述第三混合液進行靜置,利用上方兩個所述污泥輸出管將所述第三混合液上層的部分上清液排出,然后向所述罐體內輸入好氧段進水,所述好氧段進水與所述罐體內剩余的所述第三混合液融合形成第四混合液;
S9,使用所述曝氣設備對所述罐體內的第四混合液進行曝氣,對所述第四混合液中活性物質的含量進行檢測,若檢測結果符合標準,則利用下方的所述污泥輸出管將所述第四混合液中的好氧活性污泥輸入至所述現場好氧池內,若檢測結果符合標準,則重復S8-S9。
在以上技術方案的基礎上,優選的,在向所述罐體內輸入所述好氧活性污泥、所述自來水或所述好氧段進水時以及將所述上清液或所述好氧活性污泥排出至所述罐體的外部時,若所述罐體內混合液的液位高度在單位時間內的變化值小于預設閾值,則進行管路異常報警。
本發明的一種好氧池活性污泥強化裝置及方法相對于現有技術具有以下有益效果:
(1)通過在匯流管內設置密封瓣和活塞,不僅可以對各個分配管的連通進行控制,還可以將匯流管內殘留的溶液進行回收,避免出現兩種培養液之間發生中和以及匯流管內殘留培養液滴入加強艙內影響活性污泥強化環境調節效果的問題,從而保障了活性污泥的強化效率;
(2)通過將盤彎管設置在密封箱內,可以避免盤彎管與污泥直接接觸而發生腐蝕,從而增長了加強艙的使用壽命;
(3)通過在活塞中設置吸管和儲存槽,可以提升匯流管內殘余培養液的回收效果,通過將密封箱的頂側設置為傾斜狀,可以提升污泥的流動效果,通過在密封箱上設置流動槽和弧形凹槽,不僅可以提升污泥與加熱機構的換熱效果,還可以影響污泥的流動速度,防止流動槽內產生污泥的堆積。
(發明人:褚波;馮均宇;姚洋洋;甘友利)






