公布日:2024.05.28
申請日:2024.04.08
分類號:C02F1/40(2023.01)I;C02F1/52(2023.01)I
摘要
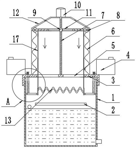
本發明公開了一種含油工業污水的處理裝置,涉及工業污水處理技術領域,包括處理筒和加藥裝置,所述處理筒頂部配設有筒蓋;還包括吸油機構、往復運動機構、升降驅動機構和油體回收機構,所述吸油機構設置在處理筒的內部,所述升降驅動機構設置在筒蓋上,且伸縮滾動件與升降驅動機構相配合;所述油體回收機構滑動設置在處理筒上。本發明吸油氈縱向往復運動,如此方便吸油氈在污水中上下往復運動,便于有效吸收污水不同深度位置的油液,并且在絲桿套驅動吸油氈上下往復運動過程中,吸油氈不斷伸縮,便于充分接觸污水中的油液進行吸收,操作便捷,且提升對污水中油液的處理效果。

權利要求書
1.一種含油工業污水的處理裝置,包括處理筒(1)和加藥裝置,所述處理筒(1)頂部配設有筒蓋(3);其特征在于,還包括:吸油機構,所述吸油機構設置在處理筒(1)的內部,所述吸油機構包括擠壓板(18)和吸油氈(13),所述擠壓板(18)設置有兩個,且對稱分布在處理筒(1)內,所述吸油氈(13)連接在兩個所述擠壓板(18)之間,所述吸油氈(13)為波浪狀;往復運動機構,所述往復運動機構包括斜導板(12)、波浪狀導軌(6)和伸縮滾動件,所述波浪狀導軌(6)設置有兩個,且對稱連接在筒蓋(3)兩側,所述斜導板(12)設置有兩塊,且分別連接在對應波浪狀導軌(6)頂部,所述伸縮滾動件配合設置在兩個所述波浪狀導軌(6)之間,且伸縮滾動件與擠壓板(18)配合連接;升降驅動機構,所述升降驅動機構設置在筒蓋(3)上,且伸縮滾動件與升降驅動機構相配合;油體回收機構,所述油體回收機構滑動設置在處理筒(1)上,且油體回收機構與升降驅動機構相配合。
2.根據權利要求1所述的一種含油工業污水的處理裝置,其特征在于,所述升降驅動機構包括伺服電機(10)、滾珠絲桿(7)和絲桿套(9),兩塊所述斜導板(12)的頂部之間連接有橫板,所述伺服電機(10)固定安裝在橫板上,所述滾珠絲桿(7)一端與伺服電機(10)主軸連接,另一端轉動連接在筒蓋(3)上,所述絲桿套(9)配合連接在滾珠絲桿(7)上,所述伸縮滾動件配合連接在絲桿套(9)外壁上。
3.根據權利要求2所述的一種含油工業污水的處理裝置,其特征在于,所述伸縮滾動件包括滾輪(8)、彈性伸縮體和聯動架(17),所述彈性伸縮體設置有兩組,且對稱分布在絲桿套(9)的兩側,所述滾輪(8)設置有兩個,兩組所述彈性伸縮體遠離絲桿套(9)的一端分別與對應的滾輪(8)連接,且滾輪(8)與對應的波浪狀導軌(6)相配合,所述筒蓋(3)上開設有條形通口(5),且條形通口(5)分布有兩個,所述聯動架(17)設置有兩個,且兩個所述聯動架(17)分別配合貫穿對應的條形通口(5),且聯動架(17)底部與對應的擠壓板(18)固定連接,頂部與對應的彈性伸縮體相配合。
4.根據權利要求3所述的一種含油工業污水的處理裝置,其特征在于,兩組所述彈性伸縮體均包括連接套筒(11)、伸縮滑桿(20)和第一彈簧(19),所述伸縮滑桿(20)一端滑動穿插在連接套筒(11)內,另一端與對應的滾輪(8)連接,所述連接套筒(11)遠離伸縮滑桿(20)的一端與絲桿套(9)連接,所述第一彈簧(19)連接在伸縮滑桿(20)和連接套筒(11)之間,所述聯動架(17)頂部連接在伸縮滑桿(20)上。
5.根據權利要求2所述的一種含油工業污水的處理裝置,其特征在于,所述油體回收機構包括回收滑盒(2)、彈性牽引繩(28)和定滑輪(21),所述回收滑盒(2)設置有兩個,且分別貫穿處理筒(1)的前后側壁,兩個所述回收滑盒(2)處于處理筒(1)外部的一端與處理筒(1)對應外壁之間均連接有第二彈簧(22),所述彈性牽引繩(28)設置有兩根,且兩根所述彈性牽引繩(28)的一端與絲桿套(9)連接,另一端與對應的回收滑盒(2)連接,所述定滑輪(21)設置有兩個,且分別固定設置在筒蓋(3)的前后兩側,所述彈性牽引繩(28)分別與對應的定滑輪(21)相配合。
6.根據權利要求1所述的一種含油工業污水的處理裝置,其特征在于,所述斜導板(12)頂部側壁上安裝有第一行程開關(26),所述波浪狀導軌(6)靠近底部位置設置有第二行程開關(27),且第一行程開關(26)和第二行程開關(27)均與伺服電機(10)電連接。
7.根據權利要求1所述的一種含油工業污水的處理裝置,其特征在于,所述加藥裝置設置有兩組,且分布在筒蓋(3)兩側,兩組所述加藥裝置均包括儲藥箱(4)、連接軟管(15)、出料管(23)和伸縮噴料管件;所述儲藥箱(4)固定設置在筒蓋(3)的邊緣,所述出料管(23)固定設置在儲藥箱(4)的底部一側,所述連接軟管(15)連接在出料管(23)的底部,所述伸縮噴料管件設置在連接軟管(15)的底部,且伸縮噴料管件還與對應的擠壓板(18)配合連接。
8.根據權利要求7所述的一種含油工業污水的處理裝置,其特征在于,所述伸縮噴料管件包括主滑管(14)和副滑管(25),所述副滑管(25)一端與對應的擠壓板(18)固定連接,另一端滑動穿插在主滑管(14)內,所述處理筒(1)的內壁上縱向開設有條形滑槽(24),所述主滑管(14)遠離副滑管(25)的一端滑動連接在條形滑槽(24)內,所述主滑管(14)遠離副滑管(25)的一端還與對應的連接軟管(15)連接。
9.根據權利要求7所述的一種含油工業污水的處理裝置,其特征在于,所述出料管(23)上設置有電磁閥(16)。
10.根據權利要求7所述的一種含油工業污水的處理裝置,其特征在于,所述連接軟管(15)為波紋伸縮軟管。
發明內容
本發明的目的在于提供一種含油工業污水的處理裝置,以解決現有技術中工業污水處理設備在處理污水中油液時操作不夠便捷,且處理效果不夠好的技術問題。
本發明所要解決的技術問題可以通過以下技術方案實現:
一種含油工業污水的處理裝置,包括處理筒和加藥裝置,所述處理筒頂部配設有筒蓋;還包括:
吸油機構,所述吸油機構設置在處理筒的內部,所述吸油機構包括擠壓板和吸油氈,所述擠壓板設置有兩個,且對稱分布在處理筒內,所述吸油氈連接在兩個所述擠壓板之間,所述吸油氈為波浪狀;
往復運動機構,所述往復運動機構包括斜導板、波浪狀導軌和伸縮滾動件,所述波浪狀導軌設置有兩個,且對稱連接在筒蓋兩側,所述斜導板設置有兩塊,且分別連接在對應波浪狀導軌頂部,所述伸縮滾動件配合設置在兩個所述波浪狀導軌之間,且伸縮滾動件與擠壓板配合連接;
升降驅動機構,所述升降驅動機構設置在筒蓋上,且伸縮滾動件與升降驅動機構相配合;
油體回收機構,所述油體回收機構滑動設置在處理筒上,且油體回收機構與升降驅動機構相配合。
作為本發明進一步的方案:所述升降驅動機構包括伺服電機、滾珠絲桿和絲桿套,兩塊所述斜導板的頂部之間連接有橫板,所述伺服電機固定安裝在橫板上,所述滾珠絲桿一端與伺服電機主軸連接,另一端轉動連接在筒蓋上,所述絲桿套配合連接在滾珠絲桿上,所述伸縮滾動件配合連接在絲桿套外壁上。
作為本發明進一步的方案:所述伸縮滾動件包括滾輪、彈性伸縮體和聯動架,所述彈性伸縮體設置有兩組,且對稱分布在絲桿套的兩側,所述滾輪設置有兩個,兩組所述彈性伸縮體遠離絲桿套的一端分別與對應的滾輪連接,且滾輪與對應的波浪狀導軌相配合,所述筒蓋上開設有條形通口,且條形通口分布有兩個,所述聯動架設置有兩個,且兩個所述聯動架分別配合貫穿對應的條形通口,且聯動架底部與對應的擠壓板固定連接,頂部與對應的彈性伸縮體相配合。
作為本發明進一步的方案:兩組所述彈性伸縮體均包括連接套筒、伸縮滑桿和第一彈簧,所述伸縮滑桿一端滑動穿插在連接套筒內,另一端與對應的滾輪連接,所述連接套筒遠離伸縮滑桿的一端與絲桿套連接,所述第一彈簧連接在伸縮滑桿和連接套筒之間,所述聯動架頂部連接在伸縮滑桿上。
作為本發明進一步的方案:所述油體回收機構包括回收滑盒、彈性牽引繩和定滑輪,所述回收滑盒設置有兩個,且分別貫穿處理筒的前后側壁,兩個所述回收滑盒處于處理筒外部的一端與處理筒對應外壁之間均連接有第二彈簧,所述彈性牽引繩設置有兩根,且兩根所述彈性牽引繩的一端與絲桿套連接,另一端與對應的回收滑盒連接,所述定滑輪設置有兩個,且分別固定設置在筒蓋的前后兩側,所述彈性牽引繩分別與對應的定滑輪相配合。
作為本發明進一步的方案:所述斜導板頂部側壁上安裝有第一行程開關,所述波浪狀導軌靠近底部位置設置有第二行程開關,且第一行程開關和第二行程開關均與伺服電機電連接。
作為本發明進一步的方案:所述加藥裝置設置有兩組,且分布在筒蓋兩側,兩組所述加藥裝置均包括儲藥箱、連接軟管、出料管和伸縮噴料管件;所述儲藥箱固定設置在筒蓋的邊緣,所述出料管固定設置在儲藥箱的底部一側,所述連接軟管連接在出料管的底部,所述伸縮噴料管件設置在連接軟管的底部,且伸縮噴料管件還與對應的擠壓板配合連接。
作為本發明進一步的方案:所述伸縮噴料管件包括主滑管和副滑管,所述副滑管一端與對應的擠壓板固定連接,另一端滑動穿插在主滑管內,所述處理筒的內壁上縱向開設有條形滑槽,所述主滑管遠離副滑管的一端滑動連接在條形滑槽內,所述主滑管遠離副滑管的一端還與對應的連接軟管連接。
作為本發明進一步的方案:所述出料管上設置有電磁閥。
作為本發明進一步的方案:所述連接軟管為波紋伸縮軟管。
本發明的有益效果:
1、本發明依靠伺服電機驅動滾珠絲桿旋轉,從而使得絲桿套帶動擠壓板和吸油氈縱向往復運動,如此方便吸油氈在污水中上下往復運動,便于有效吸收污水不同深度位置的油液,并且在絲桿套驅動吸油氈上下往復運動過程中,絲桿套通過彈性伸縮件連接的滾輪則沿著設置的波浪狀導軌滾動,從而使得彈性伸縮件橫向往復伸縮,從而便于帶動擠壓板橫向往復運動,由于吸油氈為波浪狀,故在擠壓板往復運動過程中可使得吸油氈不斷伸縮,便于吸油氈充分接觸污水中的油液進行吸收,操作便捷,且提升對污水中油液的處理效果。
2、本發明滾輪沿著波浪狀導軌向上滾動至對應位置時,絲桿套正好通過彈性牽引繩牽引拉扯分布的回收滑盒滑至處理筒內部,且處于吸油氈正下方,然后兩側的滾輪沿著對應的斜導板滾動,從而帶動分布的擠壓板向中間橫移靠攏,最終兩側的擠壓板將吸油氈充分壓扁,從而便于將升起的吸油氈中吸收的油液壓出,且落入回收盒內,實現有效回收,并且由于吸油氈疏水效果好,可有效減少回收的油液中水含量。
3、本發明設置的伸縮噴料管件與擠壓板連接,且伸縮噴料管件還通過可伸縮的連接軟管與儲藥箱的出料管連通,如此在擠壓板上下運動過程中,伸縮噴料管件便同步上下運動,方便引導聚合油液的絮凝劑或者相關藥劑充分分散到污水不同深度位置,方便混合,提升對油液處理的效果。
4、本發明伺服電機、滾珠絲桿、絲桿套以及滾輪等運動部件均分布在處理筒外部,可有效避免污水對運動部件造成腐蝕影響,延長裝置使用壽命。
(發明人:吳俊勇;付昌樂;王正華)






