公布日:2024.05.28
申請日:2024.04.07
分類號:C02F9/00(2023.01)I;B01D29/64(2006.01)I;C02F1/00(2023.01)N;C02F1/28(2023.01)N;C02F1/44(2023.01)N;C02F1/52(2023.01)N;C02F1/04(2023.01)N
摘要
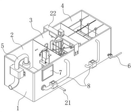
本發明公開了一種污水處理用分級式凈化池,包括設置為無蓋結構的凈化池主體,所述凈化池主體前側外表面固定安裝有控制面板,所述凈化池主體內部利用隔板依次分隔成沉淀池、反應池和過濾池,所述沉淀池外部固定安裝有用于注入污水的進水管,且所述過濾池前側固定安裝有用于排出凈化后水的排水管。該污水處理用分級式凈化池,采用新型的結構設計,設置自動加注機構,向沉淀池內部注入污水時,在水浮力的作用下使得浮力塊向上移動,從而利用浮力塊擠壓推動桿,使得推動桿推動活塞板在加注箱內部向上移動,將加注箱中的絮凝劑擠出,此結構可以根據注入污水的水位來自動加入對應量的絮凝劑,實現自動化,節省人員工作量。

權利要求書
1.一種污水處理用分級式凈化池,包括設置為無蓋結構的凈化池主體(1),所述凈化池主體(1)前側外表面固定安裝有控制面板(7),其特征在于,還包括:所述凈化池主體(1)內部利用隔板依次分隔成沉淀池(2)、反應池(3)和過濾池(4),所述沉淀池(2)外部固定安裝有用于注入污水的進水管(5),且所述過濾池(4)前側固定安裝有用于排出凈化后水的排水管(6),并且所述沉淀池(2)、反應池(3)和過濾池(4)之間通過輸送管(8)連通;所述沉淀池(2)內部安裝有用于自動添加與污水比例對應絮凝劑的自動加注機構,所述自動加注機構包括固定安裝在沉淀池(2)內部側壁的加注箱(9)和固定貫穿安裝在加注箱(9)上方的輸出管(10)及輸入管(11);所述反應池(3)內部設置有對反應污水加熱的加熱機構,所述加熱機構包括呈彎折狀結構的加熱管(24);所述過濾池(4)內部固定安裝有對污水進行最終過濾處理的過濾材料(32);所述輸出管(10)和輸入管(11)外部均安裝有單向閥,且所述加注箱(9)內部貼合滑動安裝有活塞板(12),并且所述活塞板(12)下表面固定安裝有用于推動其移動的推動桿(13);所述推動桿(13)與加注箱(9)之間組成貫穿式滑動結構,且所述推動桿(13)底端固定安裝有金屬制配重塊,并且所述推動桿(13)正下方設置有浮力塊(14),同時所述浮力塊(14)與固定安裝在沉淀池(2)內部的導向滑桿(15)之間組成貫穿式滑動結構;所述浮力塊(14)下表面固定安裝有兩根連接繩(16),且所述連接繩(16)另一端穿過轉動安裝在沉淀池(2)底部的導向滾輪(17)與清理板(18)之間固定連接;所述清理板(18)與沉淀池(2)底部之間組成滑動結構,且所述清理板(18)外表面與沉淀池(2)內部側壁之間固定安裝有復位彈簧(19);所述反應池(3)上方固定安裝有安裝架(22),且所述安裝架(22)下方轉動安裝有利用電機驅動的攪拌桿(23),并且所述安裝架(22)下表面前后兩側固定安裝有儲存氣囊(25);所述儲存氣囊(25)與對應位置的加熱管(24)之間組成連通結構,且所述加熱管(24)前端伸入沉淀池(2)內部,并且所述攪拌桿(23)上端同軸固定安裝有用于對儲存氣囊(25)擠壓的擠壓凸輪(26),攪拌桿(23)在轉動的過程中帶動上端的擠壓凸輪(26)同步轉動,利用擠壓凸輪(26)對兩側的儲存氣囊(25)進行擠壓,此時利用儲存氣囊(25)帶來的壓力變化使得沉淀池(2)中的污水在加熱管(24)中流動,從而利用沉淀池(2)中污水的預熱對反應池(3)進行加熱,加快整體的反應速度;所述擠壓凸輪(26)下方同軸固定安裝有主動錐齒輪(27),且所述主動錐齒輪(27)側面嚙合連接的有從動錐齒輪(28),并且所述從動錐齒輪(28)外部固定安裝有與過濾池(4)轉動連接的往復絲桿(29);所述往復絲桿(29)外部貫穿螺紋安裝有滑動塊(30),且所述滑動塊(30)下方固定安裝有刮動板(31),并且所述刮動板(31)貼合過濾材料(32)上表面,同時過濾池(4)內部底面固定安裝有水質監測器(33)。
2.根據權利要求1所述的一種污水處理用分級式凈化池,其特征在于:所述沉淀池(2)內部底面開設有與清理板(18)位置相互對應的收集槽(20),且所述收集槽(20)內部貫穿安裝有利用負壓清理臟污的負壓管(21)。
發明內容
本發明的目的在于提供一種污水處理用分級式凈化池,以解決上述背景技術中提出人工添加絮凝劑增加工作量、溫度低反應速度減慢的問題。
為實現上述目的,本發明提供如下技術方案:一種污水處理用分級式凈化池,包括設置為無蓋結構的凈化池主體,所述凈化池主體前側外表面固定安裝有控制面板,還包括:
所述凈化池主體內部利用隔板依次分隔成沉淀池、反應池和過濾池,所述沉淀池外部固定安裝有用于注入污水的進水管,且所述過濾池前側固定安裝有用于排出凈化后水的排水管,并且所述沉淀池、反應池和過濾池之間通過輸送管連通;
所述沉淀池內部安裝有用于自動添加與污水比例對應絮凝劑的自動加注機構,所述自動加注機構包括固定安裝在沉淀池內部側壁的加注箱和固定貫穿安裝在加注箱上方的輸出管及輸入管;
所述反應池內部設置有對反應污水加熱的加熱機構,所述加熱機構包括呈彎折狀結構的加熱管;
所述過濾池內部固定安裝有對污水進行最終過濾處理的過濾材料,所述過濾材料由上至下共設置有過濾網、吸附填料和返滲膜三層。
優選的,所述輸出管和輸入管外部均安裝有單向閥,且所述加注箱內部貼合滑動安裝有活塞板,并且所述活塞板下表面固定安裝有用于推動其移動的推動桿。
優選的,所述推動桿與加注箱之間組成貫穿式滑動結構,且所述推動桿底端固定安裝有金屬制配重塊,并且所述推動桿正下方設置有浮力塊,同時所述浮力塊與固定安裝在沉淀池內部的導向滑桿之間組成貫穿式滑動結構。
優選的,所述浮力塊下表面固定安裝有兩根連接繩,且所述連接繩另一端穿過轉動安裝在沉淀池底部的導向滾輪與清理板之間固定連接。
優選的,所述清理板與沉淀池底部之間組成滑動結構,且所述清理板外表面與沉淀池內部側壁之間固定安裝有復位彈簧。
優選的,所述沉淀池內部底面開設有與清理板位置相互對應的收集槽,且所述收集槽內部貫穿安裝有利用負壓清理臟污的負壓管。
優選的,所述反應池上方固定安裝有安裝架,且所述安裝架下方轉動安裝有利用電機驅動的攪拌桿,并且所述安裝架下表面前后兩側固定安裝有儲存氣囊。
優選的,所述儲存氣囊與對應位置的加熱管之間組成連通結構,且所述加熱管前端伸入沉淀池內部,并且所述攪拌桿上端同軸固定安裝有用于對儲存氣囊擠壓的擠壓凸輪。
優選的,所述擠壓凸輪下方同軸固定安裝有主動錐齒輪,且所述主動錐齒輪側面嚙合連接的有從動錐齒輪,并且所述從動錐齒輪外部固定安裝有與過濾池轉動連接的往復絲桿。
優選的,所述往復絲桿外部貫穿螺紋安裝有滑動塊,且所述滑動塊下方固定安裝有刮動板,并且所述刮動板貼合過濾材料上表面,同時過濾池內部底面固定安裝有水質監測器。
與現有技術相比,本發明的有益效果是:該污水處理用分級式凈化池,采用新型的結構設計,其具體內容如下:
1、設置自動加注機構,向沉淀池內部注入污水時,在水浮力的作用下使得浮力塊向上移動,從而利用浮力塊擠壓推動桿,使得推動桿推動活塞板在加注箱內部向上移動,將加注箱中的絮凝劑擠出,此結構可以根據注入污水的水位來自動加入對應量的絮凝劑,實現自動化,節省人員工作量;
進一步的,浮力塊在向上移動的過程中通過其下表面固定安裝的連接繩帶動清理板在沉淀池內部滑動,從而將沉淀池底部積攢的臟污刮入收集槽內部進行儲存,之后利用負壓管產生的負壓可以將收集槽中儲存的臟污一次性抽出,簡化工作人員清理沉淀池內部的操作。
2、經過沉淀的污水進入反應池中時與內部的化學藥劑反應,從而去除其中的有害物質,反應的過程中電機帶動攪拌桿轉動,使得融合更加充分,并且攪拌桿在轉動的過程中帶動擠壓凸輪轉動,利用擠壓凸輪對儲存氣囊進行擠壓,利用壓力使得沉淀池中的污水在加熱管中流動,從而利用沉淀池中的污水預熱對反應池加熱(工廠中的污水大多數是具有一定熱量的),加快整體的反應速度;
進一步的,擠壓凸輪在轉動的過程中帶動其下方的主動錐齒輪轉動,從而使得與主動錐齒輪嚙合連接的從動錐齒輪帶動往復絲桿轉動,往復絲桿在轉動的過程中通過其外部貫穿螺紋安裝的滑動塊帶動刮動板左右移動,清理過濾材料表面的雜質,避免堵塞;
更進一步的,過濾材料設置為三層結構,利用過濾網、吸附填料和返滲膜逐步進行過濾,充分過濾出污水中的雜質,并且過濾池內部安裝水質監測器,可以實時監測處理后污水的指標。
(發明人:余冬元;閆偉偉)






