公布日:2023.11.21
申請日:2023.09.05
分類號:C02F9/00(2023.01)I;B01D24/46(2006.01)I;C02F1/00(2023.01)N;C02F1/04(2023.01)N;C02F1/66(2023.01)N
摘要
本發明提供了一種工業高濃度廢水處理的減壓蒸餾設備及減壓蒸餾方法,該設備包括堿液罐、過濾罐、蒸餾釜、換熱器和成品罐,過濾罐包括罐體,罐體內沿軸向設置若干過濾機構,罐體的側壁上沿周向外凸形成環槽板,其內為容納腔,過濾機構包括:固定擋料柵格板;滑動裝配在容納腔內的滑動環板;與滑動環板固定連接的滑動擋料柵格板,三者間填滿濾料;固定在容納腔內的滑槽座,滑槽座上貫穿開設渦旋狀滑槽;設置于滑槽座和滑動環板之間的驅動組件,用于驅動滑動環板在容納腔內做渦旋軌跡運動,并對濾料進行多方向碰撞。本發明通過從外部對濾料進行多方向碰撞,使濾料間出現相對運動,使濾料得到充分摩擦清洗,同時確保濾料分布均勻且過濾效果保持良好。

權利要求書
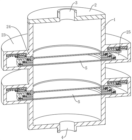
1.一種工業高濃度廢水處理的減壓蒸餾設備,包括依次設置的堿液罐、過濾罐、蒸餾釜、換熱器、成品罐和真空機組,所述過濾罐包括罐體(1),罐體(1)內沿軸向均勻設置若干過濾機構(5),其特征在于,罐體(1)的側壁上沿周向外凸形成環槽板(23),其內為與罐體(1)連通的容納腔(25),所述過濾機構(5)包括:固定擋料柵格板(8),其與罐體(1)的內側壁固定連接;滑動環板(13),其滑動裝配在容納腔(25)內且高度高于固定擋料柵格板(8);滑動擋料柵格板(14),其與滑動環板(13)的內側壁固定連接,所述固定擋料柵格板(8)、滑動環板(13)和滑動擋料柵格板(14)之間填滿濾料;滑槽座(20),其沿水平方向固定設置于容納腔(25)內,所述滑槽座(20)上貫穿開設渦旋狀滑槽;驅動組件,其傳動設置于滑槽座(20)和滑動環板(13)之間,且用于驅動滑動環板(13)在容納腔(25)內做渦旋軌跡運動,并對濾料進行擠壓、碰撞。
2.根據權利要求1所述的工業高濃度廢水處理的減壓蒸餾設備,其特征在于,所述驅動組件包括設置于滑槽座(20)中心處的電機(21),電機(21)的輸出端沿水平方向設置滑槽板(22),滑槽板(22)上沿其長度方向貫穿開設條形滑槽,渦旋狀滑槽和條形滑槽內滑動設置滑桿(19),滑桿(19)與滑動環板(13)固定連接。
3.根據權利要求1或2所述的工業高濃度廢水處理的減壓蒸餾設備,其特征在于,所述容納腔(25)內底部固定設置固定環板(6),固定擋料柵格板(8)與固定環板(6)固定連接,滑動環板(13)位于固定環板(6)的上方,固定環板(6)和滑動環板(13)之間滑動設置聯動板組件,固定環板(6)與聯動板組件之間及聯動板組件與滑動環板(13)之間均通過彈性繩彈性連接。
4.根據權利要求3所述的工業高濃度廢水處理的減壓蒸餾設備,其特征在于,所述聯動板組件包括沿豎向堆疊設置的若干聯動環板,相鄰兩個聯動環板之間滑動連接;固定環板(6)遠離濾料的一端及聯動環板遠離濾料的一端均設置阻擋環,相鄰兩個阻擋環之間及最高處的阻擋環與滑動環板(13)之間均通過彈性繩彈性連接。
5.根據權利要求4所述的工業高濃度廢水處理的減壓蒸餾設備,其特征在于,所述阻擋環上開設用于收納彈性繩的收納槽。
6.根據權利要求2所述的工業高濃度廢水處理的減壓蒸餾設備,其特征在于,所述容納腔(25)內靠近濾料的一端頂部固定設置延伸部(24),延伸部(24)沿罐體(1)周向布置,滑槽座(20)位于延伸部(24)遠離濾料的一側,滑動環板(13)的頂部與延伸部(24)的底部滑動配合。
7.根據權利要求6所述的工業高濃度廢水處理的減壓蒸餾設備,其特征在于,所述滑動環板(13)遠離濾料的一端頂部沿水平方向固定設置連接板(18),連接板(18)的頂部與滑桿(19)的底部固定連接;所述連接板(18)頂部與延伸部(24)的底部滑動配合。
8.根據權利要求2所述的工業高濃度廢水處理的減壓蒸餾設備,其特征在于,所述滑槽座(20)的底部中心處向上開設安裝槽,電機(21)設置于安裝槽內,電機(21)的輸出端豎直朝下。
9.根據權利要求1所述的工業高濃度廢水處理的減壓蒸餾設備,其特征在于,所述滑槽座(20)設置兩個,且對稱設置。
10.一種工業高濃度廢水處理的減壓蒸餾方法,其特征在于,使用如權利要求1-7任一項所述的減壓蒸餾設備,步驟如下:S1、輸送廢水,同時,通過堿液罐(100)輸送堿液,至過濾罐(200),過濾處理后,一起輸送至蒸餾釜(300);S2、開啟蒸餾釜(300)中的攪拌功能,將廢水和堿液攪拌均勻;S3、開啟真空機組(800),對蒸餾釜(300)抽負壓,減壓蒸餾得水蒸氣;S4、水蒸氣通過換熱器(400),冷凝成蒸餾水,由成品罐(500)收集;S5、蒸餾水由若干緩沖罐進一步收集完全。
發明內容
為解決背景技術中存在的問題,本發明提供了一種工業高濃度廢水處理的減壓蒸餾設備及減壓蒸餾方法,使位于內部的濾料得到充分的摩擦清洗,提升濾料整體的清理效果,確保濾料分布均勻、緊實且過濾效果保持良好。
為了實現上述目的,第一方面的,本發明提供技術方案如下:
一種工業高濃度廢水處理的減壓蒸餾設備,包括依次設置的堿液罐、過濾罐、蒸餾釜、換熱器、成品罐和真空機組,所述過濾罐包括罐體,罐體內沿軸向均勻設置若干過濾機構,所述罐體的側壁上沿周向外凸形成環槽板,其內為與罐體連通的容納腔,所述過濾機構包括:
固定擋料柵格板,其與罐體的內側壁固定連接;
滑動環板,其滑動裝配在容納腔內且高度高于固定擋料柵格板;
滑動擋料柵格板,其與滑動環板的內側壁固定連接,所述固定擋料柵格板、滑動環板和滑動擋料柵格板之間填滿濾料;
滑槽座,其沿水平方向固定設置于容納腔內,所述滑槽座上貫穿開設渦旋狀滑槽;
驅動組件,其傳動設置于滑槽座和滑動環板之間,且用于驅動滑動環板在容納腔內做渦旋軌跡運動,并對濾料進行擠壓、碰撞。
有益效果為:設置驅動組件,驅動滑動環板在容納腔內做渦旋軌跡運動,從外部對位于固定擋料柵格板、滑動環板和滑動擋料柵格板之間的濾料進行多方向碰撞、擠壓,使濾料間出現相對運動并產生摩擦,這樣便可在反沖洗時,使位于內部的濾料得到充分的摩擦清洗,從而提升濾料的清理效果;由于滑動環板對濾料層的多方向碰撞、擠壓是從外向內傳遞的,并未直接伸入濾料層中占據空間,因而也不會在濾料層中留下縫隙,確保濾料分布始終保持均勻、緊實的狀態,確保過濾效果始終保持良好。
進一步的,所述驅動組件包括設置于滑槽座中心處的電機,電機的輸出端沿水平方向設置滑槽板,滑槽板上沿其長度方向貫穿開設條形滑槽;渦旋狀滑槽和條形滑槽內滑動設置滑桿,滑桿與滑動環板固定連接。
有益效果為:電機開啟,即可驅動滑槽板以電機輸出端的中軸線為中心進行旋轉,從而帶動滑桿在條形滑槽內滑行的同時,也在渦旋狀滑槽內做渦旋軌跡運動,進而帶動滑動環板在容納槽內做渦旋軌跡運動,驅動穩定、可靠,確保滑動環板從外部對濾料層進行穩定而持續的多方向碰撞、擠壓。
進一步的,所述容納腔內底部固定設置固定環板,固定擋料柵格板與固定環板固定連接,滑動環板位于固定環板的上方,固定環板和滑動環板之間滑動設置聯動板組件,固定環板與聯動板組件之間及聯動板組件與滑動環板之間均通過彈性繩彈性連接。
有益效果為:通過上述技術方案,使濾料填滿固定擋料柵格板、固定環板、滑動擋料柵格板、滑動環板和聯動板組件之間的空間,滑動環板和聯動板組件均可聯動滑行,可分層對濾料進行穩定而持續的多方向碰撞、擠壓,使濾料分為多層并且層與層之間具有相對運動,在層與層相對運動時,內部的濾料之間產生摩擦,使位于內部的濾料得到更加充分的摩擦清洗,從而提升濾料整體的清理效果。
進一步的,所述聯動板組件包括沿豎向堆疊設置的若干聯動環板,相鄰兩個聯動環板之間滑動連接;
固定環板遠離濾料的一端及聯動環板遠離濾料的一端均設置阻擋環,相鄰兩個阻擋環之間及最高處的阻擋環與滑動環板之間均通過彈性繩彈性連接。
有益效果為:聯動板組件包括沿豎向堆疊設置且相互滑動的若干聯動環板,通過阻擋環和彈性繩限位、聯動,聯動滑行效果穩定、可靠的同時,對濾料分層更多,清洗效果更好。
進一步的,所述阻擋環上開設用于收納彈性繩的收納槽。
有益效果為:收納槽對彈性繩進行收納,確保彈性繩處于收縮狀態并收納進入收納槽中時,不會造成阻礙,相鄰的滑動環板與阻擋環及聯動環板與阻擋環能夠發生碰撞而改變滑行方向,確保聯動滑行效果穩定、可靠。
進一步的,所述容納腔內靠近濾料的一端頂部固定設置延伸部,延伸部沿罐體周向布置,滑槽座位于延伸部遠離濾料的一側,滑動環板的頂部與延伸部的底部滑動配合。
有益效果為:延伸部對滑動環板及滑槽座進行限位,確保結構布局合理、功能穩定。
進一步的,所述滑動環板遠離濾料的一端頂部沿水平方向固定設置連接板,連接板的頂部與滑桿的底部固定連接;所述連接板頂部與延伸部的底部滑動配合。
進一步的,所述滑槽座的底部中心處向上開設安裝槽,電機設置于安裝槽內,電機的輸出端豎直朝下。
進一步的,所述滑槽座設置兩個,且對稱設置。
有益效果為:兩個驅動力對稱布置,協同作用,使得驅動效果更加穩定、可靠。
第二方面的,本發明提供技術方案如下:
一種工業高濃度廢水處理的減壓蒸餾方法,使用上述的減壓蒸餾設備,步驟如下:
S1、輸送廢水,同時,通過堿液罐輸送堿液,至過濾罐,過濾處理后,一起輸送至蒸餾釜;
S2、開啟蒸餾釜中的攪拌功能,將廢水和堿液攪拌均勻;
S3、開啟真空機組,對蒸餾釜抽負壓,減壓蒸餾得水蒸氣;
S4、水蒸氣通過換熱器,冷凝成蒸餾水,由成品罐收集;
S5、蒸餾水由若干緩沖罐進一步收集完全。
有益效果為:先對廢水和堿液進行過濾處理,過濾掉大顆粒雜質,避免影響后續操作效果;減壓蒸餾前加堿液吸收廢水中的硫化氫,使活潑態的硫化氫轉化為穩態的無機鹽,防止溶解的硫化氫在減壓蒸餾過程中揮發到蒸餾水中,污染回用水;制造減壓環境進行蒸餾,濃縮廢水并減少廢水處理過程中有機物的揮發;換熱冷凝后,由成品罐收集蒸餾水,采用緩沖罐進一步收集,使蒸餾水基本被冷凝回收完全,防止水蒸氣進入真空機組中,有效的保護真空泵,提高蒸餾水回收率。
本申請具有以下有益效果:
1、本發明驅動組件用于驅動滑動環板在容納腔內做渦旋軌跡運動,從外部對濾料進行多方向碰撞、擠壓,使濾料間出現相對運動并產生摩擦,這樣便可在反沖洗時,使位于內部的濾料得到充分的摩擦清洗,從而提升濾料的清理效果;滑動環板對濾料層的多方向碰撞、擠壓是從外向內傳遞的,并未直接伸入濾料層中占據空間,因而不會在濾料層中留下縫隙,確保濾料分布始終保持均勻、緊實的狀態,確保過濾效果始終保持良好。
2、電機開啟,即可驅動滑槽板以電機輸出端的中軸線為中心進行旋轉,從而帶動滑桿在條形滑槽內滑行的同時,也在渦旋狀滑槽內做渦旋軌跡運動,進而帶動滑動環板在容納槽內做渦旋軌跡運動,驅動穩定、可靠,確保滑動環板從外部對濾料層進行穩定而持續的多方向碰撞、擠壓。
3、固定環板和滑動環板之間滑動設置聯動板組件,分層對濾料進行穩定而持續的多方向碰撞、擠壓,使濾料層與層之間具有相對運動,在層與層相對運動時,內部的濾料之間產生摩擦,使位于內部的濾料得到更加充分的摩擦清洗,從而提升濾料整體的清理效果;聯動板組件包括沿豎向堆疊設置且相互滑動的若干聯動環板,對濾料分層更多,清洗效果更好。
(發明人:陸僑治;程斯;占國仁;楚金田)






