公布日:2024.05.31
申請日:2024.03.29
分類號:C02F3/32(2023.01)I
摘要
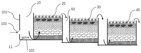
本發明提供一種生活污水生物處理系統,包括前置池及在前置池下游依次設置的至少三個凈化池,每一凈化池包括第一壁及與第一壁相對的溢流壁,在第一壁與溢流壁之間的容置空間內自下而上依次設置有空心火磚層、大火山石層、小火山石層、河沙層及植物凈化層,所述的第一壁底部設置有第一進水口,水流由第一進水口進入容置空間并自下而上經溢流壁流出,所述的前置池內設置有鯰魚,鯰魚密度:2~4尾/㎡,所述的河沙層設置有河蚌,河蚌包括第一蚌及第二蚌,第一蚌尺寸≥15cm,第二蚌尺寸≤4cm,第一蚌密度2~4個/㎡,第二蚌密度10~20個/㎡,所述的植物凈化層包括挺水植物,通過設置設置,可以有效對生活污水進行處理,特別是對COD具有特別良好的效果。

權利要求書
1.一種生活污水生物處理系統,包括前置池及在前置池下游依次設置的至少三個凈化池,其特征在于,每一凈化池包括第一壁及與第一壁相對的溢流壁,在第一壁與溢流壁之間的容置空間內自下而上依次設置有空心火磚層、大火山石層、小火山石層、河沙層及植物凈化層,所述的第一壁底部設置有第一進水口,水流由第一進水口進入容置空間并自下而上經溢流壁流出,所述的前置池內設置有鯰魚,鯰魚密度:2~4尾/㎡,所述的河沙層設置有河蚌,河蚌包括第一蚌及第二蚌,第一蚌尺寸≥15cm,第二蚌尺寸≤4cm,第一蚌密度2~4個/㎡,第二蚌密度10~20個/㎡,所述的植物凈化層包括挺水植物。
2.如權利要求1所述的生活污水生物處理系統,其特征在于,所述的空心火磚包括磚體,所述的磚體包括相對的第一面、第二面及貫通第一面與第二面的通孔,且在空心火磚層,其磚體按下述方式鋪設:相鄰的空心火磚之間間隔設置,并包括有5~25mm的間隙,相鄰磚體通孔的朝向垂直。
3.如權利要求2所述的生活污水生物處理系統,其特征在于,空心火磚層設置有若干層空心火磚,其中,包括鄰近大火山石層的頂層火磚層,在頂層火磚層中,至少50%的空心火磚的通孔呈垂直方向。
4.如權利要求1所述的生活污水生物處理系統,其特征在于,所述的空心火磚包括磚體,所述的磚體包括相對的第一面、第二面及貫通第一面與第二面的通孔,所述的空心火磚層包括一中心腔體,一進水管自凈化池外連通至中心腔體,所述的中心腔體包括腔體側壁及腔體頂壁,其中,腔體側壁由空心火磚堆疊形成,且形成腔體側壁的空心火磚的通孔朝向中心腔體,相鄰的空心火磚之間間隔設置,并包括有5~25mm的間隙。
5.如權利要求4所述的生活污水生物處理系統,其特征在于,所述的腔體頂壁為封閉結構。
6.如權利要求1所述的生活污水生物處理系統,其特征在于,在大火山石層設置有硝化菌,在小火山石層設置有硝化菌,在河沙層設置有反硝化菌。
7.如權利要求1所述的生活污水生物處理系統,其特征在于,在所述的大火山石層與小火山石層之間設置有隔離板,所述的隔離板設置有若干槽體結構,并在大火山石層與小火山石層之間的分隔面上形成空腔結構。
8.如權利要求7所述的生活污水生物處理系統,其特征在于,所述的隔離板包括板體,所述的板體包括朝向小火山石層的第一表面及朝向大火山石層的第二表面,同時,所述的板體包括若干第一槽及第二槽,所述的第一槽自第一表面向第二表面方向凹進,第二槽自第二表面向第一表面方向凹進,第一槽包括第一槽口及第一槽底,第二槽包括第二槽口及第二槽底,若,第一槽口直徑為D1,第一槽底直徑為D2,第二槽口直徑為d1,第二槽底直徑為d2,則有D1>d1,D2>d2。
9.如權利要求8所述的生活污水生物處理系統,其特征在于,在第一槽底設置有貫通第一表面與第二表面的第一板孔,以及,在第二槽底設置有貫通第一表面與第二表面的第二板孔,其中,第一板孔的直徑為0.6~2cm,第二板孔的直徑為2~6cm。
10.如權利要求9所述的生活污水生物處理系統,其特征在于,D1為小火山石直徑的30%~65%,d1為大火山石直徑的30%~65%,且所述的第一板孔僅設置在第一槽底,第二板孔僅設置在第二槽底。
發明內容
為此,本發明提供了一種生活污水生物處理系統以解決上述技術問題。
一種生活污水生物處理系統,包括前置池及在前置池下游依次設置的至少三個凈化池,每一凈化池包括第一壁及與第一壁相對的溢流壁,在第一壁與溢流壁之間的容置空間內自下而上依次設置有空心火磚層、大火山石層、小火山石層、河沙層及植物凈化層,所述的第一壁底部設置有第一進水口,水流由第一進水口進入容置空間并自下而上經溢流壁流出,所述的前置池內設置有鯰魚,鯰魚密度:2~4尾/㎡,所述的河沙層設置有河蚌,河蚌包括第一蚌及第二蚌,第一蚌尺寸≥15cm,第二蚌尺寸≤4cm,第一蚌密度2~4個/㎡,第二蚌密度10~20個/㎡,所述的植物凈化層包括挺水植物。
其中,所述的空心火磚包括磚體,所述的磚體包括相對的第一面、第二面及貫通第一面與第二面的通孔,且在空心火磚層,其磚體按下述方式鋪設:相鄰的空心火磚之間間隔設置,并包括有5~25mm的間隙,相鄰磚體通孔的朝向垂直。
其中,空心火磚層設置有若干層空心火磚,其中,包括鄰近大火山石層的頂層火磚層,在頂層火磚層中,至少50%的空心火磚的通孔呈垂直方向。
其中,所述的空心火磚包括磚體,所述的磚體包括相對的第一面、第二面及貫通第一面與第二面的通孔,所述的空心火磚層包括一中心腔體,一進水管自凈化池外連通至中心腔體,所述的中心腔體包括腔體側壁及腔體頂壁,其中,腔體側壁由空心火磚堆疊形成,且形成腔體側壁的空心火磚的通孔朝向中心腔體,相鄰的空心火磚之間間隔設置,并包括有5~25mm的間隙。
其中,所述的腔體頂壁為封閉結構。
其中,在大火山石層設置有硝化菌,在小火山石層設置有硝化菌,在河沙層設置有反硝化菌。
其中,在所述的大火山石層與小火山石層之間設置有隔離板,所述的隔離板設置有若干槽體結構,并在大火山石層與小火山石層之間的分隔面上形成空腔結構。
其中,所述的隔離板包括板體,所述的板體包括朝向小火山石層的第一表面及朝向大火山石層的第二表面,同時,所述的板體包括若干第一槽及第二槽,所述的第一槽自第一表面向第二表面方向凹進,第二槽自第二表面向第一表面方向凹進,第一槽包括第一槽口及第一槽底,第二槽包括第二槽口及第二槽底,若,第一槽口直徑為D1,第一槽底直徑為D2,第二槽口直徑為d1,第二槽底直徑為d2,則有D1>d1,D2>d2。
其中,在第一槽底設置有貫通第一表面與第二表面的第一板孔,以及,在第二槽底設置有貫通第一表面與第二表面的第二板孔,其中,第一板孔的直徑為0.6~2cm,第二板孔的直徑為2~6cm。
其中,D1為小火山石直徑的30%~65%,d1為大火山石直徑的30%~65%,且所述的第一板孔僅設置在第一槽底,第二板孔僅設置在第二槽底。
有益效果:本發明提供一種生活污水生物處理系統,包括前置池及在前置池下游依次設置的至少三個凈化池,每一凈化池包括第一壁及與第一壁相對的溢流壁,在第一壁與溢流壁之間的容置空間內自下而上依次設置有空心火磚層、大火山石層、小火山石層、河沙層及植物凈化層,所述的第一壁底部設置有第一進水口,水流由第一進水口進入容置空間并自下而上經溢流壁流出,所述的前置池內設置有鯰魚,鯰魚密度:2-4尾/㎡,所述的河沙層設置有河蚌,河蚌包括第一蚌及第二蚌,第一蚌尺寸≥15cm,第二蚌尺寸≤4cm,第一蚌密度2~4個/㎡,第二蚌密度10~20個/㎡,所述的植物凈化層包括挺水植物,通過設置設置,可以有效對生活污水進行處理,特別是對COD具有特別良好的效果。
(發明人:陳江凌;付淑惠;唐兆君;母康生;蔣燕;羅洪艷;王海燕;羅小靖;張菁)






