公布日:2023.12.01
申請日:2023.09.04
分類號:C02F3/02(2023.01)I;C02F3/12(2023.01)I;C02F1/00(2023.01)I;C02F3/34(2023.01)I;C02F11/02(2006.01)I
摘要
本發明公開了一種生物鏈污泥減量裝置及其使用方法,包括處理池和固定桿,所述固定桿設置有若干個,通過在處理池的內部設置復投機構、打散機構和曝氣機構,使得處理池在對污泥進行微生物消解減量的過程中,能夠通過復投機構、打散機構和曝氣機構的協同配合,促使殘余的污泥能夠被重新打撈并投入處理池內,進行重復消解減量工序,以便及加強裝置對污泥的減量效果,以及同步對處理池內部污水懸浮聚堆和重新投料的污泥進行打散,避免污泥與處理池內壁接觸再加之污泥之間相互附著,致使污泥不便與污水同步流動的問題。

權利要求書
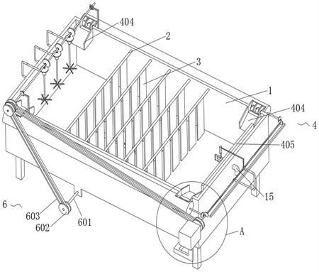
1.一種生物鏈污泥減量裝置,包括處理池(1)和固定桿(2),所述固定桿(2)設置有若干個,且若干個等距陣列固定設置于處理池(1)內腔前側和后側之間,其特征在于:所述固定桿(2)的底部固定連接有若干個微生物填料(3),所述處理池(1)內腔的一側設置有復投機構(4),所述復投機構(4)和處理池(1)之間設置有打散機構(5),所述打散機構(5)和處理池(1)之間設置有曝氣機構(6);所述復投機構(4)包括輸料筒(401),所述輸料筒(401)設置有兩個,且兩個輸料筒(401)分別固定設置于處理池(1)的前側和后側,所述輸料筒(401)內腔的一側通過軸承轉動連接有旋轉輥(402),且旋轉輥(402)的一端貫穿并延伸至輸料筒(401)的外部,所述旋轉輥(402)的表面且位于輸料筒(401)的內部固定連接有螺旋傳輸葉片(403),所述處理池(1)內腔前側和后側的兩側均固定連接有導料口(404),位于右側兩個所述導料口(404)之間固定連接有濾料網板(405),所述處理池(1)的前側通過支架固定連接有驅動電機(406),所述驅動電機(406)的輸出軸通過聯軸器固定連接有第一往復絲杠(407),所述第一往復絲杠(407)表面的前后側和旋轉輥(402)的一端均固定連接有第一錐齒輪(408),且相鄰兩個第一錐齒輪(408)為相互嚙合,所述第一往復絲杠(407)的表面螺紋連接有第一螺紋套(409),所述第一螺紋套(409)的一側通過支架彈性設置有刮料板(4091);所述處理池(1)的一側通過支架固定連接有第一滑槽板(7),所述第一滑槽板(7)的內部滑動連接有第一滑動塊(8),且第一滑動塊(8)的一側與第一螺紋套(409)的側面固定連接,所述第一螺紋套(409)的頂部通過支架固定連接有限位套筒(9),所述限位套筒(9)的內部滑動連接有伸縮活動桿(10),且伸縮活動桿(10)的底部與刮料板(4091)的頂部固定連接,所述伸縮活動桿(10)與限位套筒(9)內壁之間固定連接有復位彈簧(11);驅動電機(406)的輸出軸帶動第一往復絲杠(407)轉動,第一往復絲杠(407)表面的第一螺紋套(409)通過第一滑槽板(7)和第一滑動塊(8)的限位配合,帶動第一螺紋套(409)前后往復移動,第一螺紋套(409)移動時通過限位套筒(9)、伸縮活動桿(10)和復位彈簧(11)的配合帶動刮料板(4091)移動,刮料板(4091)對濾料網板(405)截留的殘余污泥進行集中刮拭,隨著刮料板(4091)的移動刮拭,刮料板(4091)逐漸與導料口(404)接觸,并隨著與導料口(404)的斜面的接觸,刮料板(4091)彈性收縮并持續推動殘余污泥進入導料口(404)內部,直至污泥進入輸料筒(401)內部;第一往復絲杠(407)轉動的同時,第一往復絲杠(407)還帶動第一錐齒輪(408)進行轉動,第一錐齒輪(408)與相鄰第一錐齒輪(408)嚙合,兩個相鄰第一錐齒輪(408)嚙合帶動旋轉輥(402)轉動,旋轉輥(402)帶動螺旋傳輸葉片(403)轉動,螺旋傳輸葉片(403)將輸料筒(401)內部的殘余污泥重新輸送至處理池(1)的內部,并重新對其進行微生物消解;所述打散機構(5)包括轉動桿(501),所述轉動桿(501)通過支架和軸承轉動設置于處理池(1)的頂部,所述轉動桿(501)的表面和第一往復絲杠(407)的表面均固定連接有第一皮帶輪(502),兩個所述第一皮帶輪(502)之間傳動連接有第一皮帶(503),所述轉動桿(501)的表面等距固定連接有若干個第二錐齒輪(504),所述處理池(1)的一側固定連接有若干個安裝支架(505),所述安裝支架(505)的一側通過軸承轉動連接有轉動輥(506),所述轉動輥(506)的表面固定連接有若干個攪動桿(507),所述轉動輥(506)的頂部固定連接有與第二錐齒輪(504)相嚙合的第三錐齒輪(508)。
2.根據權利要求1所述的生物鏈污泥減量裝置,其特征在于:所述曝氣機構(6)包括第二往復絲杠(601),所述第二往復絲杠(601)通過軸承轉動設置于處理池(1)的底部,所述第二往復絲杠(601)的表面和轉動桿(501)的表面均固定連接有第二皮帶輪(602),兩個所述第二皮帶輪(602)之間傳動連接有第二皮帶(603),所述第二往復絲杠(601)的表面螺紋連接有第二螺紋套(604),所述第二螺紋套(604)的一側固定連接有齒壓板(605),所述處理池(1)的底部通過軸承轉動連接有曝氣管(606),且曝氣管(606)的一端貫穿并延伸至處理池(1)的內部,所述曝氣管(606)的表面固定連接有與齒壓板(605)相嚙合的齒輪(607),所述曝氣管(606)的底部通過密封軸承轉動連通有通氣導管(608)。
3.根據權利要求2所述的生物鏈污泥減量裝置,其特征在于:所述處理池(1)的底部固定連接有第二滑槽板(12),所述第二滑槽板(12)的內部滑動連接有第二滑動塊(13),且第二滑動塊(13)的一側與第二螺紋套(604)的側面固定連接。
4.根據權利要求1所述的生物鏈污泥減量裝置,其特征在于:所述處理池(1)的兩側分別連通有進料管(14)和出料管(15)。
5.一種采用如權利要求3所述的生物鏈污泥減量裝置的生物鏈污泥減量方法,其特征在于:包括以下步驟:S1、通過進料管(14)將含有污泥的污水注入處理池(1)的內部,并經出料管(15)進行后續排放,污水流動過程中其懸浮的污泥會逐漸與微生物填料(3)接觸,并經微生物填料(3)攔截,微生物填料(3)攔截污泥并與污泥接觸后,其表面附著的微生物會逐漸對污泥進行消解,殘余污泥會伴隨污水流向濾料網板(405)處,并經濾料網板(405)攔截促使殘余污泥被截留;S2、啟動驅動電機(406),驅動電機(406)的輸出軸帶動第一往復絲杠(407)轉動,第一往復絲杠(407)表面的第一螺紋套(409)通過第一滑槽板(7)和第一滑動塊(8)的限位配合,帶動第一螺紋套(409)前后往復移動,第一螺紋套(409)移動時通過限位套筒(9)、伸縮活動桿(10)和復位彈簧(11)的配合帶動刮料板(4091)移動,刮料板(4091)對濾料網板(405)截留的殘余污泥進行集中刮拭,隨著刮料板(4091)的移動刮拭,刮料板(4091)逐漸與導料口(404)接觸,并隨著與導料口(404)的斜面的接觸,刮料板(4091)彈性收縮并持續推動殘余污泥進入導料口(404)內部,直至污泥進入輸料筒(401)內部;第一往復絲杠(407)轉動的同時,第一往復絲杠(407)還帶動第一錐齒輪(408)進行轉動,第一錐齒輪(408)與相鄰第一錐齒輪(408)嚙合,兩個相鄰第一錐齒輪(408)嚙合帶動旋轉輥(402)轉動,旋轉輥(402)帶動螺旋傳輸葉片(403)轉動,螺旋傳輸葉片(403)將輸料筒(401)內部的殘余污泥重新輸送至處理池(1)的內部,并重新對其進行微生物消解;S3、第一往復絲杠(407)轉動的同時,第一往復絲杠(407)還帶動第一皮帶輪(502)轉動,第一皮帶輪(502)與相鄰第一皮帶輪(502)和第一皮帶(503)傳動配合,并通過其傳動配合同步帶動轉動桿(501)轉動,轉動桿(501)轉動帶動若干個第二錐齒輪(504)旋轉,第二錐齒輪(504)與相鄰第三錐齒輪(508)嚙合,第三錐齒輪(508)轉動帶動轉動輥(506)旋轉,轉動輥(506)旋轉帶動攪動桿(507)進行轉動,攪動桿(507)旋轉將懸浮水面的污泥以及經輸料筒(401)重新投放污泥進行打散;S4、轉動桿(501)轉動的同時,轉動桿(501)還帶動第二皮帶輪(602)轉動,第二皮帶輪(602)與相鄰第二皮帶輪(602)和第二皮帶(603)傳動配合,帶動第二往復絲杠(601)轉動,第二往復絲杠(601)表面的第二螺紋套(604)通過第二滑槽板(12)和第二滑動塊(13)的限位配合而進行前后位移,第二螺紋套(604)移動帶動齒壓板(605)移動,齒壓板(605)與齒輪(607)嚙合,齒輪(607)嚙合轉動并帶動曝氣管(606)進行旋轉曝氣,曝氣時預先將外界氣泵與通氣導管(608)相連通。
6.根據權利要求5所述的生物鏈污泥減量方法,其特征在于:S2中,刮料板(4091)的表面開設有若干個濾孔,以便濾水和減小阻力,并且輸料筒(401)頂部的兩側均開設有與刮料板(4091)相配套使用的輸料口。
發明內容
針對現有技術的不足,本發明提供了一種生物鏈污泥減量裝置及其使用方法,解決了減量裝置在實際使用的過程中依舊存在有不足之處,如減量裝置缺乏重復投料機構,以至于污水中污泥減量過程中,會有少量污泥隨污水流走的問題。
為實現以上目的,本發明通過以下技術方案予以實現:一種生物鏈污泥減量裝置,包括處理池和固定桿,所述固定桿設置有若干個,且若干個等距陣列固定設置于處理池內腔前側和后側之間,所述固定桿的底部固定連接有若干個微生物填料,所述處理池內腔的一側設置有復投機構,所述復投機構和處理池之間設置有打散機構,所述打散機構和處理池之間設置有曝氣機構。
優選的,所述復投機構包括輸料筒,所述輸料筒設置有兩個,且兩個輸料筒分別固定設置于處理池的前側和后側,所述輸料筒內腔的一側通過軸承轉動連接有旋轉輥,且旋轉輥的一端貫穿并延伸至輸料筒的外部,所述旋轉輥的表面且位于輸料筒的內部固定連接有螺旋傳輸葉片,所述處理池內腔前側和后側的兩側均固定連接有導料口,位于右側兩個所述導料口之間固定連接有濾料網板,所述處理池的前側通過支架固定連接有驅動電機,所述驅動電機的輸出軸通過聯軸器固定連接有第一往復絲杠,所述第一往復絲杠表面的前后側和旋轉輥的一端均固定連接有第一錐齒輪,且相鄰兩個第一錐齒輪為相互嚙合,所述第一往復絲杠的表面螺紋連接有第一螺紋套,所述第一螺紋套的一側通過支架彈性設置有刮料板。
優選的,所述打散機構包括轉動桿,所述轉動桿通過支架和軸承轉動設置于處理池的頂部,所述轉動桿的表面和第一往復絲杠的表面均固定連接有第一皮帶輪,兩個所述第一皮帶輪之間傳動連接有第一皮帶,所述轉動桿的表面等距固定連接有若干個第二錐齒輪,所述處理池的一側固定連接有若干個安裝支架,所述安裝支架的一側通過軸承轉動連接有轉動輥,所述轉動輥的表面固定連接有若干個攪動桿,所述轉動輥的頂部固定連接有與第二錐齒輪相嚙合的第三錐齒輪。
優選的,所述曝氣機構包括第二往復絲杠,所述第二往復絲杠通過軸承轉動設置于處理池的底部,所述第二往復絲杠的表面和轉動桿的表面均固定連接有第二皮帶輪,兩個所述第二皮帶輪之間傳動連接有第二皮帶,所述第二往復絲杠的表面螺紋連接有第二螺紋套,所述第二螺紋套的一側固定連接有齒壓板,所述處理池的底部通過軸承轉動連接有曝氣管,且曝氣管的一端貫穿并延伸至處理池的內部,所述曝氣管的表面固定連接有與齒壓板相嚙合的齒輪,所述曝氣管的底部通過密封軸承轉動連通有通氣導管。
優選的,所述處理池的一側通過支架固定連接有第一滑槽板,所述第一滑槽板的內部滑動連接有第一滑動塊,且第一滑動塊的一側與第一螺紋套的側面固定連接。
優選的,所述第一螺紋套的頂部通過支架固定連接有限位套筒,所述限位套筒的內部滑動連接有伸縮活動桿,且伸縮活動桿的底部與刮料板的頂部固定連接,所述伸縮活動桿與限位套筒內壁之間固定連接有復位彈簧。
優選的,所述處理池的底部固定連接有第二滑槽板,所述第二滑槽板的內部滑動連接有第二滑動塊,且第二滑動塊的一側與第二螺紋套的側面固定連接。
優選的,所述處理池的兩側分別連通有進料管和出料管。
本發明還公開了一種生物鏈污泥減量方法,具體包括以下步驟:
S1、使用時,通過進料管將含有污泥的污水注入處理池的內部,并經出料管進行后續排放,污水流動過程中其懸浮的污泥會逐漸與微生物填料接觸,并經微生物填料攔截,微生物填料攔截污泥并與污泥接觸后,其表面附著的微生物會逐漸對污泥進行消解,殘余污泥會伴隨污水流向濾料網板處,并經濾料網板攔截促使殘余污泥被截留;
S2、隨后啟動驅動電機,驅動電機啟動其輸出軸帶動第一往復絲杠轉動,第一往復絲杠轉動其表面的第一螺紋套會通過第一滑槽板和第一滑動塊的限位配合,而帶動第一螺紋套進行前后往復移動,第一螺紋套移動通過限位套筒、伸縮活動桿和復位彈簧為媒介帶動刮料板移動,刮料板移動會對濾料網板截留的殘余污泥進行集中刮拭,隨著刮料板的移動刮拭,刮料板逐漸與導料口接觸,并隨著與其斜面的接觸,促使刮料板彈性收縮并持續推動殘余污泥進入導料口內部,直至污泥進入輸料筒內部,第一往復絲杠轉動同時第一往復絲杠還會帶動第一錐齒輪進行轉動,第一錐齒輪轉動會與相鄰第一錐齒輪嚙合,兩個相鄰第一錐齒輪嚙合帶動旋轉輥轉動,旋轉輥帶動螺旋傳輸葉片轉動,螺旋傳輸葉片轉動會將輸料筒內部的殘余污泥重新輸送至處理池的內部,并重新對其進行微生物消解;
S3、第一往復絲杠轉動同時,第一往復絲杠還會帶動第一皮帶輪轉動,第一皮帶輪轉動會與相鄰第一皮帶輪和第一皮帶傳動配合,并通過其傳動配合同步帶動轉動桿轉動,轉動桿轉動帶動若干個第二錐齒輪旋轉,第二錐齒輪轉動會與相鄰第三錐齒輪嚙合,第三錐齒輪轉動帶動轉動輥旋轉,轉動輥旋轉帶動攪動桿進行轉動,攪動桿旋轉會將懸浮水面的污泥以及經輸料筒重新投放污泥進行打散;
S4、轉動桿轉動同時轉動桿還會帶動第二皮帶輪轉動,第二皮帶輪轉動會與相鄰第二皮帶輪和第二皮帶傳動配合,并通過其傳動配合帶動第二往復絲杠轉動,第二往復絲杠轉動其表面的第二螺紋套會通過第二滑槽板和第二滑動塊的限位配合而進行前后位移,第二螺紋套移動帶動齒壓板移動,齒壓板移動會與齒輪嚙合,齒輪嚙合轉動帶動曝氣管進行旋轉曝氣,曝氣時預先將外界氣泵與通氣導管相連通;
優選的,S2中刮料板的表面開設有若干個濾孔,以便濾水和減小阻力,其次輸料筒頂部的兩側均開設有與刮料板相配套使用的輸料口。
(發明人:王海洋;蔣晨蕓)






