公布日:2024.06.04
申請日:2024.04.16
分類號:C02F1/00(2023.01)I;B01F27/70(2022.01)I;B01D29/03(2006.01)I
摘要
本發明提供高效生化纖維束膜一體化污水處理設備,輔助攪拌機構包括葉片、連桿和套環,葉片環繞于攪拌軸的兩端,連桿處于葉片之間,套環滑動套裝于連桿的外側,葉片呈弧形設置,葉片呈水平排布于攪拌軸的外側,葉片設有10-20個,葉片之間均設有連桿,連桿與葉片配套設置,連桿呈橫向排布,連桿外側均旋轉有套環,連桿呈圓柱狀,攪拌軸旋轉時,葉片和連桿同步旋轉,套環朝遠離變形層的一側滑動,變形層和側板整體回位,此時側板之間間距增大,側板側面的延伸桿同步滑動,使得延伸桿能夠于殼體內部呈水平滑動,在延伸桿滑動過程中能夠對污水形成水平輔助攪拌,利用上述步驟能夠對殼體內部污水形成多方位攪拌,提高攪拌效率。

權利要求書
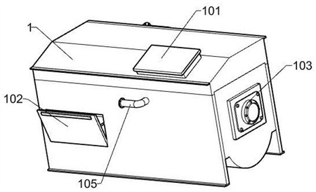
1.高效生化纖維束膜一體化污水處理設備,包括殼體(1),其特征在于:該殼體(1)的上端貫穿有進料斗(101),所述殼體(1)的正面通過鉸鏈鉸接有出料板(102),所述殼體(1)的兩側轉動有攪拌部件(103),所述攪拌部件(103)的內側旋轉有攪拌軸(2),所述殼體(1)的正面貫穿有進氣管(104),所述殼體(1)背面的兩端貫穿有出氣管(104),所述殼體(1)內部的上端安裝有格柵(106),所述殼體(1)內部的下端環繞有加熱管(107);殼體(1)和攪拌軸(2),殼體(1)內部開設有槽體,攪拌軸(2)呈橫向旋轉于槽體的內部,攪拌軸(2)的外側設有輔助攪拌機構;進料斗(101),進料斗(101)的上端活動嵌套對接有密封蓋,進料斗(101)的下端與格柵(106)呈垂直對應;出料板(102),殼體(1)靠近出料板(102)的一側開設有開口,出料板(102)處于殼體(1)正面的下端,出料板(102)通過鉸鏈呈90°擺動;攪拌部件(103),攪拌部件(103)包括電機和外殼,外殼包裹于電機的外側,電機通過電源線與電源回路連接,攪拌部件(103)的電機帶動攪拌軸(2)呈360°旋轉;格柵(106),格柵(106)與殼體(1)的槽體呈垂直對應;加熱管(107),加熱管(107)環繞于殼體(1)槽體內部的下端,加熱管(107)通過電源線與電源回路連接,加熱管(107)呈水平均勻排布;所述輔助攪拌機構包括葉片(201)、連桿(202)和套環(203),葉片(201)環繞于攪拌軸(2)的兩端,連桿(202)處于葉片(201)之間,套環(203)滑動套裝于連桿(202)的外側。
2.根據權利要求1所述的環保型污泥脫水干化回收裝置,其特征在于:所述葉片(201)呈弧形設置,葉片(201)呈水平排布于攪拌軸(2)的外側,葉片(201)設有10-20個,葉片(201)之間均設有連桿(202)。
3.根據權利要求1所述的環保型污泥脫水干化回收裝置,其特征在于:所述連桿(202)與葉片(201)配套設置,連桿(202)呈橫向排布,連桿(202)外側均旋轉有套環(203),連桿(202)呈圓柱狀,攪拌軸(2)旋轉時,葉片(201)和連桿(202)同步旋轉。
4.根據權利要求1所述的環保型污泥脫水干化回收裝置,其特征在于:所述套環(203)呈橢圓狀,套環(203)的兩端與連桿(202)呈滑動套裝,套環(203)于連桿(202)的外側呈旋轉滑動。
5.根據權利要求1所述的環保型污泥脫水干化回收裝置,其特征在于:所述輔助攪拌機構還包括側板(3)、變形層(301)和延伸桿(302),側板(3)鑲嵌于攪拌軸(2)的外側,變形層(301)鑲嵌于側板(3)之間,延伸桿(302)處于側板(3)遠離變形層(301)的一側。
6.根據權利要求5所述的環保型污泥脫水干化回收裝置,其特征在于:所述變形層(301)與套環(203)呈垂直對應;側板(3),側板(3)與套環(203)呈垂直對應,側板(3)每兩個呈一組,側板(3)每組均與變形層(301)配套設置,側板(3)每組組合呈“八”狀。
7.根據權利要求5所述的環保型污泥脫水干化回收裝置,其特征在于:所述延伸桿(302)排布于側板(3)的一側,延伸桿(302)與側板(3)配套設置。
8.根據權利要求1所述的環保型污泥脫水干化回收裝置,其特征在于:所述殼體(1)內壁上端的兩側安裝有支架(4),所述支架(4)的內側滑動對接有滑動架(401)。
9.根據權利要求8所述的環保型污泥脫水干化回收裝置,其特征在于:所述支架(4)的一端呈圓筒狀,該端與套環(203)呈垂直對應,支架(4)與格柵(106)的下端間隔1-2cm,支架(4)與滑動架(401)配套設置。
10.根據權利要求8所述的環保型污泥脫水干化回收裝置,其特征在于:所述滑動架(401)的兩端均呈圓球狀,滑動架(401)的上端直徑大于滑動架(401)下端直徑3-5cm,滑動架(401)滑動延伸至支架(4)的一端。
發明內容
為解決上述技術問題,本發明提供高效生化纖維束膜一體化污水處理設備,以解決上述背景技術中描述問題。
本發明高效生化纖維束膜一體化污水處理設備的目的與功效,由以下具體技術手段達成:高效生化纖維束膜一體化污水處理設備,包括殼體,該殼體的上端貫穿有進料斗,所述殼體的正面通過鉸鏈鉸接有出料板,所述殼體的兩側轉動有攪拌部件,所述攪拌部件的內側旋轉有攪拌軸,所述殼體的正面貫穿有進氣管,所述殼體背面的兩端貫穿有出氣管,所述殼體內部的上端安裝有格柵,所述殼體內部的下端環繞有加熱管。
進一步的,所述殼體內部開設有槽體,攪拌軸呈橫向旋轉于槽體的內部,攪拌軸的外側設有輔助攪拌機構。
進一步的,所述進料斗的上端活動嵌套對接有密封蓋,進料斗的下端與格柵呈垂直對應。
進一步的,所述殼體靠近出料板的一側開設有開口,出料板處于殼體正面的下端,出料板通過鉸鏈呈90°擺動。
進一步的,所述攪拌部件包括電機和外殼,外殼包裹于電機的外側,電機通過電源線與電源回路連接,攪拌部件的電機帶動攪拌軸呈360°旋轉。
進一步的,所述格柵與殼體的槽體呈垂直對應,格柵為高效生化纖維束膜材質。
進一步的,所述加熱管環繞于殼體槽體內部的下端,加熱管通過電源線與電源回路連接,加熱管呈水平均勻排布。
進一步的,所述輔助攪拌機構包括葉片、連桿和套環,葉片環繞于攪拌軸的兩端,連桿處于葉片之間,套環滑動套裝于連桿的外側。
進一步的,所述葉片呈弧形設置,葉片呈水平排布于攪拌軸的外側,葉片設有10-20個,葉片之間均設有連桿。
進一步的,所述連桿與葉片配套設置,連桿呈橫向排布,連桿外側均旋轉有套環,連桿呈圓柱狀,攪拌軸旋轉時,葉片和連桿同步旋轉。
進一步的,所述套環呈橢圓狀,套環的兩端與連桿呈滑動套裝,套環于連桿的外側呈旋轉滑動。
進一步的,所述輔助攪拌機構還包括側板、變形層和延伸桿,側板鑲嵌于攪拌軸的外側,變形層鑲嵌于側板之間,延伸桿處于側板遠離變形層的一側。
進一步的,所述變形層與套環呈垂直對應,變形層為橡膠材質。
進一步的,所述側板與套環呈垂直對應,側板每兩個呈一組,側板每組均與變形層配套設置,側板每組組合呈“八”狀,側板與變形層材質相同。
進一步的,所述延伸桿排布于側板的一側,延伸桿與側板配套設置。
進一步的,所述殼體內壁上端的兩側安裝有支架,所述支架的內側滑動對接有滑動架。
進一步的,所述支架的一端呈圓筒狀,該端與套環呈垂直對應,支架與格柵的下端間隔1-2cm,支架與滑動架配套設置。
進一步的,所述滑動架的兩端均呈圓球狀,滑動架的上端直徑大于滑動架下端直徑3-5cm,滑動架滑動延伸至支架的一端。
有益效果:1.攪拌軸于殼體的內部呈360°旋轉,攪拌軸旋轉時葉片和連桿同步旋轉,由于連桿呈橫向排布,并套環呈橢圓狀,套環的兩端與連桿呈滑動套裝,連桿于攪拌軸的外側旋轉,旋轉時產生離心力,使得套環能夠于連桿的外側呈垂直旋轉滑動,套環能夠朝遠離連桿的一側滑動延伸,隨著連桿的旋轉,套環能夠利用自身旋轉慣性,套環于連桿的外側呈360°旋轉滑動,進而輔助攪拌軸對殼體內部污水形成延伸攪拌,避免了現有污水處理設備在攪拌時,攪拌部件位置固定,無法在攪拌過程中形成延伸攪拌;2.當套環朝變形層的一側滑動時,變形層能夠呈彎曲變形,此時側板于攪拌軸一端的兩側收縮,側板兩側的間距縮短,側板能夠帶動延伸桿呈水平滑動,利用延伸桿的滑動,能夠對殼體內部的污水形成水平沖擊;3.隨后套環朝遠離變形層的一側滑動,變形層和側板整體回位,此時側板之間間距增大,側板側面的延伸桿同步滑動,使得延伸桿能夠于殼體內部呈水平滑動,在延伸桿滑動過程中能夠對污水形成水平輔助攪拌,利用上述步驟能夠對殼體內部污水形成多方位攪拌,提高攪拌效率;4.支架的一端呈圓筒狀,該端與套環呈垂直對應,方便套環處于攪拌軸上端時,套環能夠朝上沖擊至支架的下端,進而擠壓至滑動架的下端,輔助滑動架快速向上滑動,由于支架與格柵的下端間隔1-2cm,因此滑動架向上滑動后能夠擊打至格柵的下端,套環旋轉移動至滑動架的側面后,套環無法擊打至滑動架的下端,隨著攪拌軸的旋轉,套環能夠再次擊打至滑動架的下端,進而重復上述步驟,格柵內部粉塵能夠向下掉落至殼體的內部,防止格柵內部堵塞的情況。
(發明人:辛鈞啟;吳一兵;危瑞菊;涂一帆;涂一菲;涂國強;吳一福;敖小俊;鄧紅云;劉嗣耀;朱恩來;羅細茍;劉佳;馮智;朱雙霞;曾凡劍;袁春洪;陳孝強;鐘梅春;陳歡歡;李欣;童容英)






