公布日:2024.06.04
申請日:2024.04.30
分類號:C02F1/48(2023.01)I;C02F1/00(2023.01)I
摘要
本發明屬于污水處理技術領域,公開了一種移動式污水超導磁分離系統及分離方法,包括安裝平臺,所述安裝平臺表面中心處設置有超導磁體,所述超導磁體一端外側分別對稱設置有冷水機和氦氣壓縮機,所述超導磁體另一端外側中心處設置有空壓機;所述超導磁體內部活動連接有磁選腔,所述磁選腔靠近氦氣壓縮機的一端連接有前級過濾機構,所述磁選腔另一端連接有后級連接管,所述磁選腔內部設置有磁選腔腔體,所述磁選腔腔體兩端分別可拆卸連接有磁性過濾網。利用超導磁體分離污水中弱磁性雜質,磁體系統采用彎曲形超導磁體結構,解決在提供相同磁場區域的情況下,磁分離系統占地大,建造費用高等問題。

權利要求書
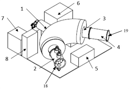
1.一種移動式污水超導磁分離系統,包括安裝平臺,其特征在于:所述安裝平臺表面中心處設置有超導磁體(1),所述超導磁體(1)一端外側分別對稱設置有冷水機(6)和氦氣壓縮機(7),所述超導磁體(1)另一端外側中心處設置有空壓機(5);所述超導磁體(1)包括超導線圈(9),所述超導線圈(9)外側設置有冷屏(10),所述冷屏(10)外側設置有外杜瓦(12),所述超導線圈(9)外側貫穿冷屏(10)和外杜瓦(12)連接有制冷機(11),所述超導線圈(9)內部還設置有室溫孔;所述室溫孔內部活動連接有磁選腔(3),所述磁選腔(3)靠近氦氣壓縮機(7)的一端連接有前級過濾機構(2),所述前級過濾機構(2)另一端設置有污水入口(18),所述前級過濾機構(2)內部設置有前級過濾網(16),所述前級過濾機構(2)頂部設置有高壓氣體連接閥(15),所述前級過濾機構(2)底部設置有廢棄物連接管(17),所述高壓氣體連接閥(15)通過管道連接于空壓機(5)的出氣端;所述廢棄物連接管(17)通過管道連接于收集裝置的收集口,所述磁選腔(3)另一端連接有后級連接管(4),所述磁選腔(3)內部設置有磁選腔腔體(13),所述磁選腔腔體(13)兩端分別可拆卸連接有磁性過濾網(14);所述后級連接管(4)遠離磁選腔(3)的一端設置有凈水出口(19),且所述凈水出口(19)通過管道連接于凈水池;所述超導磁體(1)整體呈弧形結構,所述超導磁體(1)內部的室溫孔角度為120°;所述安裝平臺表面還設置有電控柜(8)。
2.根據權利要求1所述的一種移動式污水超導磁分離系統,其特征在于:所述制冷機(11)設置于超導磁體(1)的弧頂位置,且所述制冷機(11)依次貫穿外杜瓦(12)和冷屏(10)通過螺釘連接于超導線圈(9),所述制冷機(11)另一端連接于氦氣壓縮機(7),所述氦氣壓縮機(7)還連接于冷水機(6)。
3.根據權利要求1所述的一種移動式污水超導磁分離系統,其特征在于:所述電控柜(8)還分別電性連接于超導磁體(1)、空壓機(5)、冷水機(6)和氦氣壓縮機(7)。
4.根據權利要求1所述的一種移動式污水超導磁分離系統,其特征在于:所述外杜瓦(12)的漏率小于10-8mbar·L/s。
5.根據權利要求1-4任一項所述的一種移動式污水超導磁分離系統的分離方法,其特征在于,包括以下步驟:在待處理的污水中混合磁粉;將混合有磁粉的污水通過管道連接于污水入口(18);通過前級過濾機構(2)的前級過濾網(16)將混合有磁粉的污水中的大顆粒廢棄物進行過濾;空壓機(5)提供高壓氣體經過管道由高壓氣體連接閥(15)進入前級過濾機構(2),將廢棄物由廢棄物連接管(17)排出;混合有磁粉的污水經過前級過濾機構(2)進入磁選腔(3),磁選腔(3)內的磁性過濾網(14)在超導磁體(1)的強磁場作用下磁化,將污水內的弱磁性、小顆粒物質吸附在磁性過濾網(14)上;凈化后的污水經過后級連接管(4)末端的凈水出口(19)排出;將磁選腔(3)從超導磁體(1)內部的室溫孔內移出,拆卸磁性過濾網(14)進行清洗。
發明內容
本發明的目的在于提供一種移動式污水超導磁分離系統及分離方法,以解決上述背景技術中提出的問題。
為實現上述目的,一方面本發明提供如下技術方案:
一種移動式污水超導磁分離系統,包括安裝平臺,所述安裝平臺表面中心處設置有超導磁體,所述超導磁體一端外側分別對稱設置有冷水機和氦氣壓縮機,所述超導磁體另一端外側中心處設置有空壓機;
所述超導磁體包括超導線圈,所述超導線圈外側設置有冷屏,所述冷屏外側設置有外杜瓦,所述超導線圈外側貫穿冷屏和外杜瓦連接有制冷機,所述超導線圈內部還設置有室溫孔;
所述室溫孔內部活動連接有磁選腔,所述磁選腔靠近氦氣壓縮機的一端連接有前級過濾機構,所述磁選腔另一端連接有后級連接管,所述磁選腔內部設置有磁選腔腔體,所述磁選腔腔體兩端分別可拆卸連接有磁性過濾網;
所述安裝平臺表面還設置有電控柜。
進一步優選地,所述前級過濾機構一端連接于磁選腔,所述前級過濾機構另一端設置有污水入口,所述前級過濾機構內部設置有前級過濾網,所述前級過濾機構頂部設置有高壓氣體連接閥,所述前級過濾機構底部設置有廢棄物連接管。
進一步優選地,所述高壓氣體連接閥通過管道連接于空壓機的出氣端;所述廢棄物連接管通過管道連接于收集裝置的收集口。
進一步優選地,所述后級連接管遠離磁選腔的一端設置有凈水出口,且所述凈水出口通過管道連接于凈水池。
進一步優選地,所述超導磁體整體呈弧形結構,所述超導磁體內部的室溫孔角度為120°。
進一步優選地,所述制冷機設置于超導磁體的弧頂位置,且所述制冷機依次貫穿外杜瓦和冷屏通過螺釘連接于超導線圈,所述制冷機另一端連接于氦氣壓縮機,所述氦氣壓縮機還連接于冷水機。冷屏外表面包裹多層絕熱,降低室溫端對超導線圈的熱輻射。氦氣壓縮機與制冷機配合用于提供超導線圈低溫環境,冷水機為氦氣壓縮機進行降溫。
進一步優選地,所述電控柜還分別電性連接于超導磁體、空壓機、冷水機和氦氣壓縮機。
進一步優選地,所述外杜瓦的漏率小于10-8mbar·L/s。
另一方面,本發明還提供了一種移動式污水超導磁分離系統的分離方法,包括以下步驟:
在待處理的污水中混合磁粉;
將混合有磁粉的污水通過管道連接于污水入口;
通過前級過濾機構的前級過濾網將混合有磁粉的污水中的大顆粒廢棄物進行過濾;
空壓機提供高壓氣體經過管道由高壓氣體連接閥進入前級過濾機構,將廢棄物由廢棄物連接管排出;
混合有磁粉的污水經過前級過濾機構進入磁選腔,磁選腔內的磁性過濾網在超導磁體的強磁場作用下磁化,將污水內的弱磁性、小顆粒物質吸附在磁性過濾網上;
凈化后的污水經過后級連接管末端的凈水出口排出;
將磁選腔從超導磁體內部的室溫孔內移出,拆卸磁性過濾網進行清洗。
與現有技術相比,本發明的有益效果是:
本發明設計的一種移動式污水超導磁分離系統及分離方法,利用超導磁體分離污水中弱磁性雜質,磁體系統采用彎曲形超導磁體結構,解決在提供相同磁場區域的情況下,磁分離系統占地大,建造費用高等問題。本發明將整體系統集成一體固定于安裝平臺,可使用卡車等機械實現快速移動,解決突發水污染處理難度大等問題。超導磁分離借助強磁場,對導磁性不同的物質進行分離,結合磁粉可以大幅度提升凈化效率。
(發明人:馬鵬;劉偉;李超;張弛;張文濤;高偉;李勇;蘭賢輝;周濤;葛正福;陳傳)






