公布日:2023.11.24
申請日:2023.10.23
分類號:C02F7/00(2006.01)I;H02J7/35(2006.01)I
摘要
本發明涉及污水處理技術領域,具體涉及基于光伏發電的環保污水處理系統,提出如下技術方案:包括氣管和與氣管相連通的曝氣盤,以及用于調節氣泡大小的調節機構,包括固定安裝在曝氣盤內部底面的外罩,所述外罩的內部設有套設在轉軸外部的內罩,所述內罩通過對稱安裝的滑桿與驅動槽滑動配合,和用于增加曝氣效率的增速機構,包括套接在轉軸表面的主齒輪,所述主齒輪的外表面嚙合連接有多組從動齒,所述從動齒的底面固定安裝有與曝氣盤轉動連接有旋轉桿,所述旋轉桿的表面固定安裝有多組柔性繩,所述柔性繩的表面設有多組刺尖。本發明通過各個零部件之間的配合使用,使得污水的曝氣效率能夠大大提高,提高污水的處理效率。

權利要求書
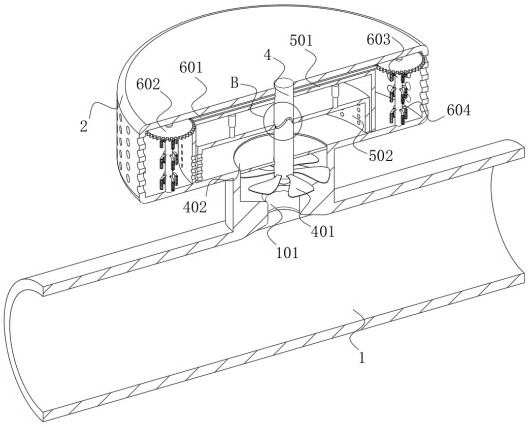
1.基于光伏發電的環保污水處理系統,包括氣管(1)和與氣管(1)相連通的曝氣盤(2),所述氣管(1)與外部設置的鼓風機相連通,其特征在于,還包括活動安裝在曝氣盤(2)上端的刮板(3),所述曝氣盤(2)的內部活動連接有轉軸(4),所述轉軸(4)的表面環繞開設有驅動槽(411),且驅動槽(411)呈波浪狀結構,并且轉軸(4)的上端與刮板(3)固定連接;以及用于調節氣泡大小的調節機構(5),包括固定安裝在曝氣盤(2)內部底面的外罩(501),所述外罩(501)的內部設有套設在轉軸(4)外部的內罩(502),所述內罩(502)通過對稱安裝的滑桿(503)與驅動槽(411)滑動配合;和用于增加曝氣效率的增速機構(6),包括套接在轉軸(4)表面的主齒輪(601),所述主齒輪(601)的外表面嚙合連接有多組從動齒(602),所述從動齒(602)的底面固定安裝有與曝氣盤(2)轉動連接的旋轉桿(603),所述旋轉桿(603)的表面固定安裝有多組柔性繩(604),所述柔性繩(604)的表面設有多組刺尖(605);所述外罩(501)通過對稱設置的兩組彈性伸縮桿與內罩(502)固定連接,且外罩(501)套設在轉軸(4)的表面;所述外罩(501)和內罩(502)的表面均開設有出氣孔,且開設在外罩(501)和內罩(502)表面的出氣孔初始位置相對應。
2.根據權利要求1所述的基于光伏發電的環保污水處理系統,其特征在于,所述氣管(1)的內部開設有加速槽(101),且加速槽(101)呈工字型結構。
3.根據權利要求1所述的基于光伏發電的環保污水處理系統,其特征在于,所述刮板(3)靠近曝氣盤(2)的一側等距安裝有多組凸桿(301),且凸桿(301)與曝氣盤(2)表面的圓孔尺寸相適配。
4.根據權利要求2所述的基于光伏發電的環保污水處理系統,其特征在于,所述轉軸(4)的下端固定安裝有扇葉(401),且扇葉(401)位于氣管(1)的內部,所述扇葉(401)的上方設有套接在轉軸(4)表面的防水透氣板(402),且防水透氣板(402)卡接在氣管(1)的內壁。
5.根據權利要求4所述的基于光伏發電的環保污水處理系統,其特征在于,包括用于為鼓風機提供動力源的光伏控制系統,光伏控制系統包括太陽能光伏板、光伏充放電控制器、蓄電池、逆變器、PLC控制器、遠程監控器和直流隔離電源,以及交流負載和直流負載,所述太陽能光伏板的輸出端與光伏充放電控制器的輸入端電性連接,所述光伏充放電控制器的輸出端與蓄電池的輸入端電性連接,所述蓄電池的輸出端與光伏充放電控制器、逆變器和直流隔離電源的輸入端電性連接。
6.根據權利要求5所述的基于光伏發電的環保污水處理系統,其特征在于,所述逆變器的輸出端與PLC控制器和直流負載的輸入端電性連接,且逆變器用于將光伏產生的直流電轉換為交流電,用于交流負載供電。
7.根據權利要求6所述的基于光伏發電的環保污水處理系統,其特征在于,所述直流隔離電源的輸出端與直流負載的輸入端電性連接,且直流隔離電源用于將光伏充放電控制器輸出的浮動的直流電壓轉換為穩定的24V直流電壓并作用于直流負載。
8.根據權利要求7所述的基于光伏發電的環保污水處理系統,其特征在于,所述PLC控制器輸出端與交流負載、直流負載和遠程監控器的輸入端電性連接,且PLC控制器用于讀取光伏充放電控制器信息,并上傳至遠程監控器,實現對光伏系統的遠程監控。
發明內容
針對現有技術所存在的上述缺點,本發明提供了基于光伏發電的環保污水處理系統,能夠有效地解決現有技術中曝氣設備結構單一,導致曝氣效率低下的問題。
為實現以上目的,本發明通過以下技術方案予以實現:
本發明提供基于光伏發電的環保污水處理系統,包括氣管和與氣管相連通的曝氣盤,所述氣管與外部設置的鼓風機相連通,還包括活動安裝在曝氣盤上端的刮板,所述曝氣盤的內部活動連接有轉軸,所述轉軸的表面環繞開設有驅動槽,且驅動槽呈波浪狀結構,并且轉軸的上端與刮板固定連接;以及用于調節氣泡大小的調節機構,包括固定安裝在曝氣盤內部底面的外罩,所述外罩的內部設有套設在轉軸外部的內罩,所述內罩通過對稱安裝的滑桿與驅動槽滑動配合;和用于增加曝氣效率的增速機構,包括套接在轉軸表面的主齒輪,所述主齒輪的外表面嚙合連接有多組從動齒,所述從動齒的底面固定安裝有與曝氣盤轉動連接的旋轉桿,所述旋轉桿的表面固定安裝有多組柔性繩,所述柔性繩的表面設有多組刺尖。
進一步地,所述氣管的內部開設有加速槽,且加速槽呈工字型結構。
進一步地,所述刮板靠近曝氣盤的一側等距安裝有多組凸桿,且凸桿與曝氣盤表面的圓孔尺寸相適配。
進一步地,所述轉軸的下端固定安裝有扇葉,且扇葉位于氣管的內部,所述扇葉的上方設有套接在轉軸表面的防水透氣板,且防水透氣板卡接在氣管的內壁。
進一步地,所述外罩通過對稱設置的兩組彈性伸縮桿與內罩固定連接,且外罩套設在轉軸的表面。
進一步地,所述外罩和內罩的表面均開設有出氣孔,且開設在外罩和內罩表面的出氣孔初始位置相對應。
進一步地,還包括用于為鼓風機提供動力源的光伏控制系統,光伏控制系統包括太陽能光伏板、光伏充放電控制器、蓄電池、逆變器、PLC控制器、遠程監控器和直流隔離電源,以及交流負載和直流負載,所述太陽能光伏板的輸出端與光伏充放電控制器的輸入端電性連接,所述光伏充放電控制器的輸出端與蓄電池的輸入端電性連接,所述蓄電池的輸出端與光伏充放電控制器、逆變器和直流隔離電源的輸入端電性連接。
進一步地,所述逆變器的輸出端與PLC控制器和直流負載的輸入端電性連接,且逆變器用于將光伏產生的直流電轉換為交流電,用于交流負載供電。
進一步地,所述直流隔離電源的輸出端與直流負載的輸入端電性連接,且直流隔離電源用于將光伏充放電控制器輸出的浮動的直流電壓轉換為穩定的24V直流電壓并作用于直流負載。
進一步的,所述PLC控制器輸出端與交流負載、直流負載和遠程監控器的輸入端電性連接,且PLC控制器用于讀取光伏充放電控制器信息,并上傳至遠程監控器,實現對光伏系統的遠程監控。
有益效果
本發明提供的技術方案,與已知的公有技術相比,具有如下有益效果:
一、本發明通過設置調節機構,進而在氣管內部通氣的過程中,通過扇葉的轉動,帶動表面開設有驅動槽的轉軸同步轉動,使得與驅動槽滑動配合的內罩開始上下移動,通過內罩和外罩表面開設的出氣孔的錯位,改變氣泡的大小,提高曝氣的效率。
二、本發明通過設置增速機構,進而在轉軸的轉動下,利用主動齒與從動齒之間的相互配合,使得旋轉桿開始轉動,帶動其表面設有刺尖的柔性繩開始轉動,使得經過出氣孔出來的氣泡能夠再次被刺尖戳破,同時并在旋轉桿的轉動下,使得水流能夠跟隨旋轉桿轉動,進而實現二次提高曝氣效率的目的。
(發明人:紀偉潔;孫森林;馬繼華;王晶瑩)






