申請日2013.08.20
公開(公告)日2014.01.08
IPC分類號C02F9/08
摘要
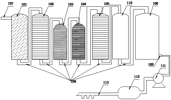
本實用新型實施例公開了一種香水用純凈水處理及自動輸送裝置,包括通過管道依次連接的石英砂過濾器,活性炭過濾器,保安過濾器,反滲透過濾裝置,二次石英砂過濾器,混合床以及蓄水罐,前一級組件的底端設有出口與后一級組件的頂端設有的入口相連,活性炭過濾器的側壁上設置有原水進水口,蓄水罐的側壁下端設置有純凈水出水口,純凈水出水口以下依次連接純水泵,紫外線殺菌器以及設置有多個出水口的出水管道。本實用新型用于通過低壓復合膜反滲透裝置和混合床以及其他多級過濾裝置對原水進行純化處理,降低了生產成本,提高了水處理的效率,同時使純凈水從自動輸送的水泵泵出,并采用紫外線殺菌器進行殺菌,確保了用于生產香水的純水的無菌性。
權利要求書
1.一種香水用純凈水處理及自動輸送裝置,其特征在于,包括通過管道(109)依次連接的石英砂過濾器(101),活性炭過濾器(102),保安過濾器(103),反滲透過濾裝置(104),二次石英砂過濾器(105),混合床(110)以及蓄水罐(106),前一級組件的底端設有出口與后一級組件的頂端設有的入口相連,所述活性炭過濾器的側壁上設置有原水進水口(107),所述蓄水罐(106)的側壁下端設置有純凈水出水口(108),純凈水出水口(108)以下依次連接純水泵(111),紫外線殺菌器(112)以及設置有多個出水口的出水管道(113)。
2.根據權利要求1所述的香水用純凈水處理及自動輸送裝置,其特征在于,所述反滲透過濾裝置進一步包括,若干低壓復合膜,包覆低壓復合膜的外殼,用于將經過保安過濾器預處理的水泵進低壓復合膜的高壓泵,以及用于檢測水的電導率,壓力以及水流量的電器控制系統。
3.根據權利要求1或2所述的香水用純凈水處理及自動輸送裝置,其特征在于,所述混合床由一定比例的陰、陽樹脂均勻混合裝在一個圓柱型密閉容器中組成。
4.根據權利要求1至2任一所述的香水用純凈水處理及自動輸送裝置,其特征在于,在所述石英砂過濾器前設置阻垢劑計量泵。
5.根據權利要求1至2任一所述的香水用純凈水處理及自動輸送裝置,其特征在于,所述紫外線殺菌器(112)的功率為21-30瓦,每小時處理水量為1-2噸。
說明書
一種香水用純凈水處理及自動輸送裝置
技術領域
本實用新型屬于香水生產技術領域,特別地涉及一種香水用純凈水處理及自動輸送裝置。
背景技術
隨著人們生活水平的提高,對香水的需求也越來越大。制造香水的原料如酒精、香精和水必須純凈,不能帶有雜質,所以使用前要經過預處理,這樣才能保證產品外觀清澄、氣味醇和、香氣圓潤。生產香水的水多采用蒸餾水,去離子水或脫去礦物質的軟水。香水中的水既可以降低香水的生產成本又可使揮發性下降,使得留香相對持久一些。
但是對于大規模的香水生產廠家來說,蒸餾水和去離子水的造價成本更高,若采用蒸餾水或去離子水進行香水的制備生產,將無形中增加香水制造的成本。同時,純凈水若需要儲存一段時間再進行香水的制造,則有可能水質已經有細菌滋生,而采用人工取用儲存罐中的水則有可能引入二次污染。
故,針對目前現有技術中存在的上述缺陷,實有必要進行研究,以提供一種方案低成本以制造高品質的純水的裝置,解決香水用水生產成本較高的問題,同時能夠實現純水的自動化輸送及殺菌處理。
實用新型內容
為解決上述問題,本實用新型的目的在于提供一種香水用純凈水處理裝置,用于通過低壓復合膜反滲透裝置和混合床以及其他多級過濾裝置對原水進行純化處理,從而獲得電導率在2us/cm以下的適用于香水制造的純水,降低了生產成本,提高了水處理的效率,同時使純凈水從自動輸送的水泵泵出,并采用紫外線殺菌器進行殺菌,確保了用于生產香水的純水的無菌性。
為實現上述目的,本實用新型的技術方案為:
一種香水用純凈水處理及自動輸送裝置,包括通過管道依次連接的石英砂過濾器,活性炭過濾器,保安過濾器,反滲透過濾裝置,二次石英砂過濾器,混合床以及蓄水罐,前一級組件的底端設有出口與后一級組件的頂端設有的入口相連,所述活性炭過濾器的側壁上設置有原水進水口,所述蓄水罐的側壁下端設置有純凈水出水口,純凈水出水口以下依次連接純水泵,紫外線殺菌器以及設置有多個出水口的出水管道。
優選地,所述反滲透過濾裝置進一步包括,若干低壓復合膜,包覆低壓復合膜的外殼,用于將經過保安過濾器預處理的水泵進低壓復合膜的高壓泵,以及用于檢測水的電導率,壓力以及水流量的電器控制系統。
優選地,所述混合床由一定比例的陰、陽樹脂均勻混合裝在一個圓柱型密閉容器中組成。
優選地,在所述石英砂過濾器前設置阻垢劑計量泵。
優選地,所述紫外線殺菌器的功率為21-30瓦(W),每小時處理水量為1-2噸(T)。
與現有技術相比,本實用新型具有以下有益效果:
(1)采用多道多種類型的過濾裝置對原水進行純化處理,使得從反滲透過濾裝置出來的水的電導率在10us/cm以下,從混合床出來的水的導電率控制在2us/cm以下;
(2)采用美國陶氏公司的低壓復合膜作為反滲透膜元件,使得反滲透過濾裝置的整機脫鹽率在98%以上。
(3)經處理后的純水可通過水泵以及出水管道設置的多個出水口直接與香水制備容器相連,將純水直接輸入至需要的制備容器中,極大的提高了生產的自動化及減小了二次污染的可能性;
(4)在水泵與出水管道之間設置紫外線殺菌器,可直接殺死純水因此靜之在蓄水罐中可能產生的細菌,有效的保證了水質的高品質。







