申請日2013.08.21
公開(公告)日2014.04.09
IPC分類號C02F9/04
摘要
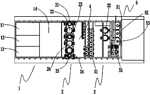
本實用新型公開了一種移動式電力專用水處理裝置,包括儲水系統、增壓系統、過濾系統、檢修通道和加藥系統,其中,儲水系統,包括用于初步過濾的過濾水箱,及用于精密過濾的超濾水箱,及用于儲存干凈水的一級純水箱和二級純水箱;增壓系統包括原水增壓泵,二級高壓泵,一級純水增壓泵,一級高壓泵;過濾系統包括疊片式過濾器,精密過濾器,超濾模組,保安過濾器;加藥系統包括殺菌劑加藥系統,還原劑加藥系統,阻垢劑加藥系統;所述的殺菌劑加藥系統通過管路往過濾水箱加入殺菌劑,還原劑加藥系統通過管路往超濾水箱中加入還原劑。本實用新型主要電力設備領域。
權利要求書
1.一種移動式電力專用水處理裝置,包括儲水系統、增壓系統、過濾系統、檢修通道和加藥系統,其中,
儲水系統,包括用于初步過濾的過濾水箱,及用于精密過濾的超濾水箱,及用于儲存干凈水的一級純水箱和二級純水箱;
增壓系統包括原水增壓泵,二級高壓泵,一級純水增壓泵,一級高壓泵,供水增壓泵直接從二級純水箱取水后給用水點進行供水;
過濾系統包括疊片式過濾器,精密過濾器,超濾模組,保安過濾器;
加藥系統包括殺菌劑加藥系統,還原劑加藥系統,阻垢劑加藥系統;
其特征在于:所述的殺菌劑加藥系統通過管路往過濾水箱加入殺菌劑,還原劑加藥系統通過管路往超濾水箱中加入還原劑。
2.根據權利要求1所述的一種移動式電力專用水處理裝置,其特征在于:所述的增壓系統與超濾模組之間,超濾模組與精密過濾器之間均有檢修通道。
3.根據權利要求1所述的一種移動式電力專用水處理裝置,其特征在于:所述的過濾水箱與超濾水箱之間按水流方向依次安裝有原水增壓泵、還原劑加藥系統、精密過濾器、超濾模組。
4.根據權利要求1所述的一種移動式電力專用水處理裝置,其特征在于:所述的超濾水箱與一級純水箱之間按水流方向依次安裝有原水增壓泵、阻垢劑加藥系統、保安過濾器、一級高壓泵。
5.根據權利要求1所述的一種移動式電力專用水處理裝置,其特征在于:所述的一級純水箱和二級純水箱管路之間安裝有二級高壓泵。
6.根據權利要求1所述的一種移動式電力專用水處理裝置,其特征在于:所述的二級純水箱的容量大于一級純水箱的容量。
7.根據權利要求1所述的一種移動式電力專用水處理裝置,其特征在于:所述的原水增壓泵,二級高壓泵,一級純水增壓泵,一級高壓泵上均設置有急停開關。
8.根據權利要求1所述的一種移動式電力專用水處理裝置,其特征在于:所述的原水增壓泵,二級高壓泵,一級純水增壓泵,一級高壓泵、供水增壓泵及過濾水箱,超濾水箱,一級純水箱、二級純水箱的進出口均配有軟接頭。
9.根據權利要求1所述的一種移動式電力專用水處理裝置,其特征在于:所述的過濾水箱,超濾水箱,一級純水箱、二級純水箱均設置有液位上下限報警裝置。
說明書
一種移動式電力專用水處理裝置
技術領域
本實用新型涉及電力設備領域,尤其涉及一種移動式電力專用水處理裝置。
背景技術
隨著我國超高壓、大容量輸電線路建設快速增長,且對供電可靠性要求越來越高,采用傳統的常規的人工沖洗作業方法,不僅作業人員勞動強度大,條件艱苦,在短期內動員大量的人力物力,而且效率較低,難于滿足電網長期穩定的要求,所以采用直升機帶電水沖洗作業具有極大的市場前景,目前直升機進行注水時,必須要飛到河邊或者有水源的地方進行注水,對于地理位置的限制特別高,而且因為戶外的水中雜質較多,對于清洗電線效果并不理想,容易對電線造成二次污染,造成直升機野外作業半徑小,效率低,能源消耗大。
實用新型內容
本實用新型公開了,用以解決現有技術的不足。
為解決上述問題,本實用新型的技術解決方案是:
一種移動式電力專用水處理裝置,包括儲水系統、增壓系統、過濾系統、檢修通道和加藥系統,其中,
儲水系統,包括用于初步過濾的過濾水箱,及用于精密過濾的超濾水箱,及用于儲存干凈水的一級純水箱和二級純水箱;
增壓系統包括原水增壓泵,二級高壓泵,一級純水增壓泵,一級高壓泵,供水增壓泵直接從二級純水箱取水后給用水點進行供水。
過濾系統包括疊片式過濾器,精密過濾器,超濾模組,保安過濾器;
加藥系統包括殺菌劑加藥系統,還原劑加藥系統,阻垢劑加藥系統;
所述的殺菌劑加藥系統通過管路往過濾水箱加入殺菌劑,還原劑加藥系統通過管路往超濾水箱中加入還原劑。
所述的增壓系統與超濾模組之間,超濾模組與精密過濾器之間均有檢修通道。
所述的過濾水箱與超濾水箱之間按水流方向依次安裝有原水增壓泵、還原劑加藥系統、精密過濾器、超濾模組。
所述的超濾水箱與一級純水箱之間按水流方向依次安裝有原水增壓泵、阻垢劑加藥系統、保安過濾器、一級高壓泵。
所述的一級純水箱和二級純水箱管路之間安裝有二級高壓泵。
所述的二級純水箱的容量大于一級純水箱的容量。
所述的原水增壓泵,二級高壓泵,一級純水增壓泵,一級高壓泵上均設置有急停開關。
所述的原水增壓泵,二級高壓泵,一級純水增壓泵,一級高壓泵、供水增壓泵及過濾水箱,超濾水箱,一級純水箱、二級純水箱的進出口均配有軟接頭。
所述的過濾水箱,超濾水箱,一級純水箱、二級純水箱均設置有液位上下限報警裝置。
本實用新型的有益效果是:通過此移動式電力專用水處理裝置,可以將戶外河流中的水進行凈化處理,并可以儲存已處理后的干凈的水,可提供直升機在野外對電線清洗作業時的清洗用水,保證直升機戶外用水的清潔,增大了直升機野外作業半徑,提高了直升機野外作業效率高,降低了能源損耗。







