申請日2014.10.19
公開(公告)日2015.02.25
IPC分類號C02F3/00
摘要
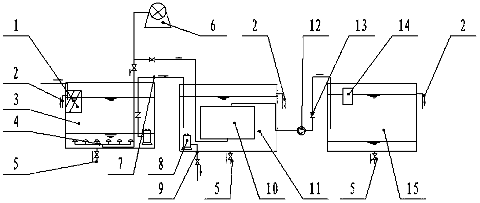
本實用新型公開了一種污水處理后的水質生物檢測池,包括依次通過管道連接的格柵、提升泵、排泥泵、膜組件和回水池,還包括鼓風機、調節池、鼓風機、調節池、膜生物反應池、回水池;所述調節池內包括提升泵、格柵、溢流口和泄流口;調節池內有包括提升泵、格柵、溢流口和泄流口;膜生物反應池內有膜組件(膜反應器),用來凈化水質,回水池內裝有包括生物檢測片檢測水質;生物檢測片上有顯示屏來顯示水質情況。本實用新型占地小,投資少,處理效果好,管理方便,且用途廣泛,除一般生活污水處理廠,一些工廠也可使用。

權利要求書
1.一種污水處理后的水質生物檢測池,其特征在于:包括鼓風機、調節池、膜生物反應 池、回水池;所述調節池內包括提升泵、格柵、溢流口和泄流口;所述膜生物反應池包括排 泥泵、膜組件溢流口和泄流口;所述回水池包括生物檢測片、溢流口和泄流口;所述提升泵 安裝在調節池;所述排泥泵安裝在膜生物反應池;所述泄流口均在每個池子的下方;所述溢 流口均在每個池子的右上方高于水面8cm-15cm處。
2.根據權利要求1所述的一種污水處理后的水質生物檢測池,其特征在于:所述格柵位 于污水入口處,將污水中的雜物濾出,每1-2天清除一次。
3.根據權利要求1所述的一種污水處理后的水質生物檢測池,其特征在于:所述鼓風機 經過風道在調節池泄流口出設有6個鼓風口,并且經過風道連接到膜生物反應池的膜組件下 方。
4.根據權利要求1所述的一種污水處理后的水質生物檢測池,其特征在于:所述提升泵 通過水管道與排泥泵相連,所述膜組件上方設有出水口,經過水管道接入回水池內。
5.根據權利要求1所述的一種污水處理后的水質生物檢測池,其特征在于:所述生物檢 測片安裝在回水池,生物檢測片上有顯示屏幕。
說明書
一種污水處理后的水質生物檢測池
技術領域
本實用新型屬于生物檢測類,具體涉及一種污水處理后的水質生物檢測池。
背景技術
水是生命之源,凈化污水是目前生活中一項很重要的工作。一般生活污水、工業廢水以 及河水中含有碳水化合物、蛋白質、油脂、木質素等有機物質,以及含有一些有毒物質,這 些污染物可造成水中溶解氧減少,影響魚類和其它水生物的生長,對人體健康也有危害,故 而不能直接排放或者飲用,即使在經過處理之后,我們也需要進行檢測以達到人體衛生安全 標準,國家在安全衛生方面對檢測水質也提出了很高的要求。
因此設計一種污水處理后的水質生物檢測池來檢測水質情況,目前也有一些檢測處理的 水池,但占地面積大,投資高,處理效果不是很好。總結這些缺點之后,設計一種具有占地 少,投資低的污水處理后的水質生物檢測池。
發明內容
為了解決上述存在的問題,本實用新型提供一種占地小,投資少,處理效果好,管理方 便的污水處理后的水質生物檢測池。
本實用新型是通過以下技術方案實現:
一種污水處理后的水質生物檢測池,包括鼓風機、調節池、膜生物反應池、回水池;所 述調節池內包括提升泵、格柵、溢流口和泄流口;所述膜生物反應池包括排泥泵、膜組件溢 流口和泄流口;所述回水池包括生物檢測片、溢流口和泄流口;所述提升泵安裝在調節池; 所述排泥泵安裝在膜生物反應池;所述泄流口均在每個池子的下方;所述溢流口均在每個池 子的右上方高于水面8cm-15cm處。
作為本實用新型的進一步優化方案,所述格柵位于污水入口處,將污水中的雜物濾出, 每1-2天清除一次。
作為本實用新型的進一步優化方案,所述鼓風機經過風道在調節池泄流口出設有6個鼓 風口,并且經過風道連接到膜生物反應池的膜組件下方。
作為本實用新型的進一步優化方案,所述提升泵通過水管道與排泥泵相連,所述膜組件 上方設有出水口,經過水管道接入回水池內。
作為本實用新型的進一步優化方案,所述生物檢測片安裝在回水池左側,生物檢測片上 有顯示屏幕。
與現有的技術相比,本實用新型的有益效果是:本實用新型占地小,投資少,處理效果 好,管理方便,且用途廣泛,除一般生活污水處理廠,一些工廠也可使用。






