申請日2013.08.21
公開(公告)日2014.03.05
IPC分類號C02F1/52
摘要
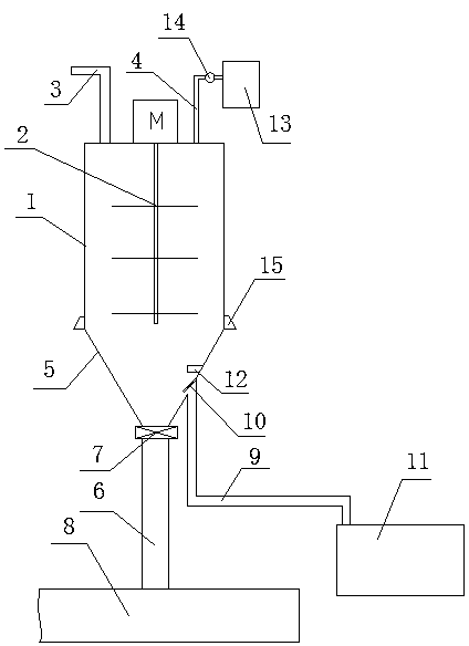
本實用新型公開了一種自動化污泥浮除裝置,包括罐體,罐體內設置有攪拌器,罐體上端一側設有污水進管,另一側設有絮凝劑進管,所述罐體的底部設有導流部,導流部底部設有排污泥管,排污泥管與導流部連通,排污泥管上設置有第一電磁閥,排污泥管的出口下方對應設置有排泥槽,排污泥管一側的導流部底部設有排水管,排水管與導流部連通,排水管的入口處設置有第二電磁閥,排水管的出口連接集水池,第二電磁閥上側的導流部內壁上設有濁度傳感器,攪拌器、第一電磁閥、第二電磁閥及濁度傳感器均與控制器連接。本實用新型能快速有效的分離上浮污泥與清水,結構簡單,自動化程度高,操作簡便且控制精確,生產效率高,上浮污泥與清水分離效果好。
權利要求書
1.一種自動化污泥浮除裝置,包括罐體(1),罐體內設置有攪拌器(2),罐體(1)上端一側設有污水進管(3),另一側設有絮凝劑進管(4),其特征在于:所述罐體(1)的底部設有導流部(5),導流部底部設有排污泥管(6),排污泥管與導流部連通,排污泥管上設置有第一電磁閥(7),排污泥管的出口下方對應設置有排泥槽(8),排污泥管一側的導流部底部設有排水管(9),排水管與導流部連通,排水管的入口處設置有第二電磁閥(10),排水管的出口連接集水池(11),第二電磁閥上側的導流部內壁上設有濁度傳感器(12),攪拌器(2)、第一電磁閥、第二電磁閥及濁度傳感器均與控制器連接。
2.根據權利要求1所述的自動化污泥浮除裝置,其特征在于:絮凝劑進管與絮凝劑儲罐(13)連通,絮凝劑進管上設有計量泵(14)。
3.根據權利要求2所述的自動化污泥浮除裝置,其特征在于:所述計量泵與控制器連接。
4.根據權利要求1或2或3所述的自動化污泥浮除裝置,其特征在于:罐體底部的側圍上均布有若干裝配耳(15)。
5.根據權利要求1或2或3所述的自動化污泥浮除裝置,其特征在于:所述導流部呈漏斗狀。
說明書
自動化污泥浮除裝置
技術領域
本實用新型涉及污水處理技術領域,特別涉及一種自動化污泥浮除裝置。
背景技術
目前養殖場廢水處理一般采用氯化鋁、氯化鐵等常規的絮凝劑,處理時間長,用量大,處理效率低,絮凝效果也不佳,絮凝處理后的污泥沉在底部,污泥與清水分離不便。申請號200720117259.X的實用新型專利公開了一種絮凝裝置,包括罐體、集水筒、管式反應器、集水系統、布水系統、沖泥系統、吸泥系統、加藥裝置和混合裝置,罐體內腔中部豎直設置一集水筒,集水筒下方為集泥筒,沿罐體內壁一周設置排污槽,管式反應器由管道組成,螺旋圍繞在集水筒周圍,每層管道呈六邊形設置,集水系統設置在管式反應器上方與集水筒相連通,管式反應器的下方設置布水系統、沖泥系統和吸泥系統。螺旋形管式反應器,每層管道六邊形設置,增長污水與絮凝劑的反應時間,能夠使污水與絮凝劑充分反應。該裝置中的布水系統能夠使污水均勻流動,充分利用裝置空間,使得絮體分離效果更好。該裝置存在的缺點為結構復雜,絮凝處理后的污泥沉在底部,污泥與清水分離不便的缺陷。此外,該裝置自動化程度低,僅靠工人經驗進行加藥、排水、排泥等操作,準確度不高,且效率低。
為了克服氯化鋁、氯化鐵等常規的絮凝劑在處理養殖場廢水時存在的缺陷,使用能使絮凝體上浮的絮凝劑,但是常規的絮凝裝置都是針對絮凝體上沉形成的污泥設計開發的,無法適用于絮凝體上浮形成污泥與清水的分離,且常規的絮凝裝置自動化程度低,僅靠工人經驗進行加藥、排水、排泥等操作,準確度不高,且效率低,因此,亟需開發一種適合上浮污泥與清水分離的自動化程度高的裝置。
發明內容
本實用新型的目的在于提供一種適用于上浮污泥與清水分離的自動化污泥浮除裝置,能快速有效的分離上浮污泥與清水,結構簡單,自動化程度高,操作簡便且控制精確,生產效率高,上浮污泥與清水分離效果好。
本實用新型解決其技術問題所采用的技術方案是:
一種自動化污泥浮除裝置,包括罐體,罐體內設置有攪拌器,罐體上端一側設有污水進管,另一側設有絮凝劑進管,所述罐體的底部設有導流部,導流部底部設有排污泥管,排污泥管與導流部連通,排污泥管上設置有第一電磁閥,排污泥管的出口下方對應設置有排泥槽,排污泥管一側的導流部底部設有排水管,排水管與導流部連通,排水管的入口處設置有第二電磁閥,排水管的出口連接集水池,第二電磁閥上側的導流部內壁上設有濁度傳感器,攪拌器、第一電磁閥、第二電磁閥及濁度傳感器均與控制器連接。
本實用新型是針對絮凝后的上浮污泥與清水進行分離的裝置,罐體的底部設有導流部,導流部能起到有效的導流作用,先能將絮凝后的清水導流入排水管排出,清水排完后,則用于將上浮的污泥匯集至排污泥管,并排至排泥槽。本實用新型控制排泥、排水的均為電磁閥,方便與控制器連接進行集中控制,自動化程度高,操作簡便且控制精確,生產效率高;第二電磁閥上側的導流部內壁上設有濁度傳感器,濁度傳感器能檢測清水濁度,當清水排放水位下降時,上部的污泥也隨之下降,當污泥接近濁度傳感器時,這時清水的濁度較大,濁度傳感器接收數據反饋給控制器,控制器能及時作出判斷,關閉第二電磁閥,同時打開第一電磁閥,進行排泥,克服了人工開關閥門操作存在的準確性不高、效率低下的問題。
作為優選,絮凝劑進管與絮凝劑儲罐連通,絮凝劑進管上設有計量泵。
作為優選,所述計量泵與控制器連接。
作為優選,罐體底部的側圍上均布有若干裝配耳。裝配耳的設置,便于整個裝置的安裝和定位。
作為優選,所述導流部呈漏斗狀。
本實用新型的有益效果是:適用于上浮污泥與清水的分離,能快速有效的分離上浮污泥與清水,結構簡單,自動化程度高,操作簡便且控制精確,生產效率高,上浮污泥與清水分離效果好。







