申請日2013.08.21
公開(公告)日2014.03.12
IPC分類號C02F1/28; B01J20/34; B01J20/20
摘要
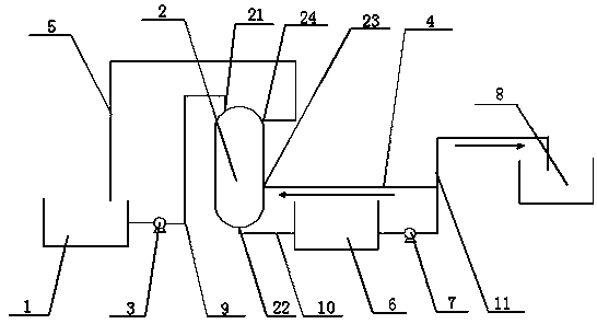
本實用新型公開了一種污水連續處理系統,其創新點在于:包括污水池、活性炭塔、水泵、反沖洗管、沉淀池、外排池;所述活性炭塔塔頂設置入水口,入水口通過管道連接污水池,入水口和污水池之間設有水泵,所述活性炭塔塔底設有出水口,出水口通過另一管道連接沉淀池,所述沉淀池通過外排管道連接外排池,沉淀池和外排池之間設有水泵,所述活性炭塔上還設置有反沖洗進水口和反沖洗出水口,所述反沖洗進水口通過反沖洗進水管連接外排管道,所述反沖洗出水口通過反沖洗出水管連接污水池,在活性炭塔上增設反沖洗進出水口,當活性炭堵塞時,通過反沖洗管道,對活性炭塔進行沖洗,避免活性炭堵塞,對污水進行連續處理,提高污水處理效率及質量。
權利要求書
1.一種污水連續處理系統,其特征在于:包括污水池、活性炭塔、水泵、反沖洗管、沉淀池、外排池;所述活性炭塔塔頂設置入水口,入水口通過管道連接污水池,入水口和污水池之間設有水泵,所述活性炭塔塔底設有出水口,出水口通過另一管道連接沉淀池,所述沉淀池通過外排管道連接外排池,沉淀池和外排池之間設有水泵,所述活性炭塔上還設置有反沖洗進水口和反沖洗出水口,所述反沖洗進水口通過反沖洗進水管連接外排管道,所述反沖洗出水口通過反沖洗出水管連接污水池。
說明書
一種污水連續處理系統
技術領域
本實用新型涉及一種污水連續處理系統。
背景技術
活性炭吸附塔是處理有機廢氣、臭味處理效果最好的凈化設備。活性炭吸附是有效的去除水的臭味、天然和合成溶解有機物、微污染物質等的措施。大部分比較大的有機物分子、芳香族化合物、鹵代炔等能牢固地吸附在活性炭表面上或空隙中,并對腐殖質、合成有機物和低分子量有機物有明顯的去除效果.活性炭吸附作為深度凈化工藝,經常用于廢水的末級處理,也可用于生產用水、生活用水的純化處理。
污水中存在一定量的產品,需要利用活性炭塔提留吸收,但是活性炭使用一段時間后,吸附了大量的吸附質,逐步趨向飽和,喪失了工作能力,嚴重時將穿透濾層,因此應進行活性炭的再生或更換。
發明內容
本實用新型的目的在于針對現有技術中的不足,提供一種能是活性炭塔連續工作,提高活性炭吸收效果的污水連續處理系統。
為解決上述技術問題,本實用新型的技術方案為:
一種污水連續處理系統,其創新點在于:包括污水池、活性炭塔、水泵、反沖洗管、沉淀池、外排池;所述活性炭塔塔頂設置入水口,入水口通過管道連接污水池,入水口和污水池之間設有水泵,所述活性炭塔塔底設有出水口,出水口通過另一管道連接沉淀池,所述沉淀池通過外排管道連接外排池,沉淀池和外排池之間設有水泵,所述活性炭塔上還設置有反沖洗進水口和反沖洗出水口,所述反沖洗進水口通過反沖洗進水管連接外排管道,所述反沖洗出水口通過反沖洗出水管連接污水池。
本實用新型的有益效果:通過在活性炭塔上增設反沖進出水口,當活性炭堵塞或吸附能力減弱時,利用現有的泵,通過反沖洗管道,對活性炭塔進行沖洗,避免活性炭堵塞,對污水進行連續處理,提高污水處理效率及質量。







