申請日2014.10.20
公開(公告)日2016.10.19
IPC分類號C02F11/00
摘要
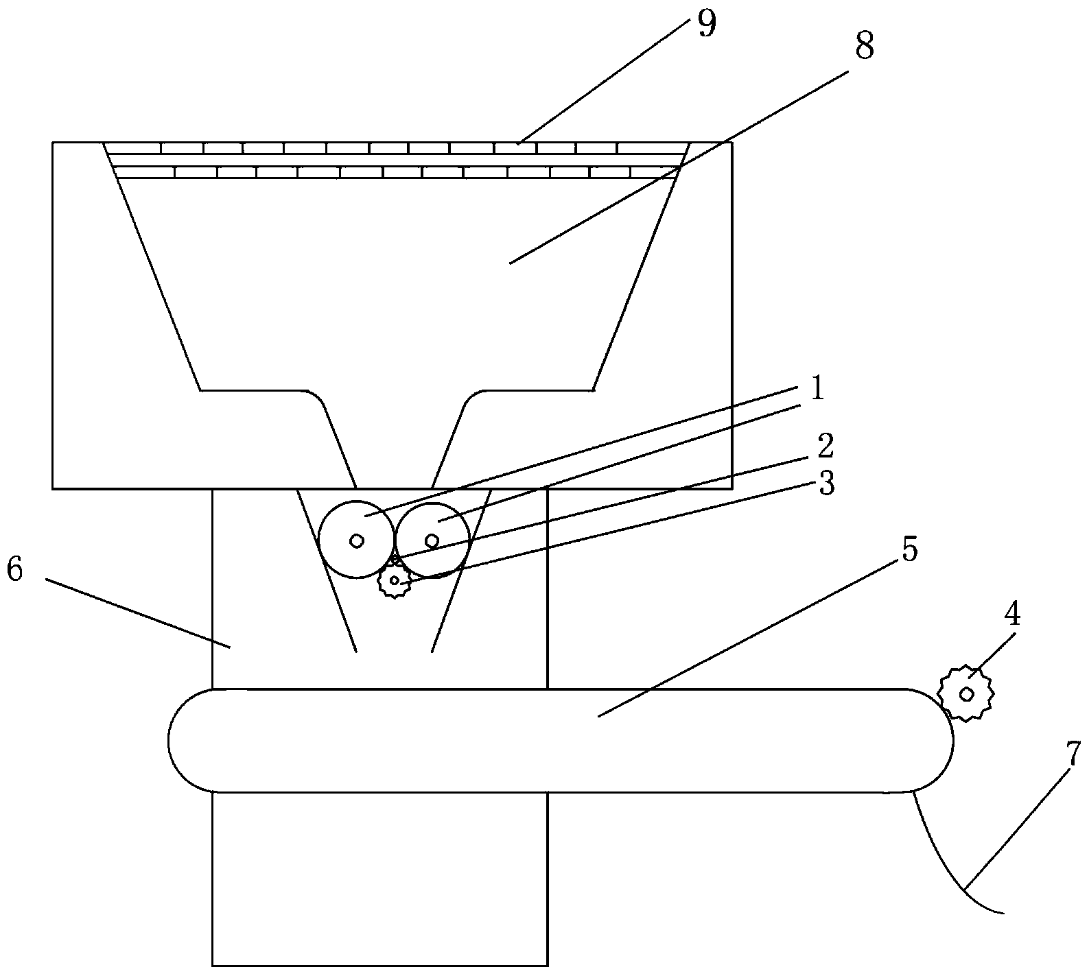
本發明公開一種污泥細化設備,其用于對污泥進行細壓處理,其特征在于:包括集料倉,所述集料倉底部設有多組輥筒,所述集料倉頂部設有雙層過濾網,所述雙層過濾網上層孔徑大于下層孔徑;所述輥筒底部設有傳送帶,所傳送帶頂部的設有用于擠壓污泥成片狀的污泥輥壓筒。
權利要求書
1.一種污泥細化設備,其用于對污泥進行細壓處理,其特征在于:包括集料倉,所述集料倉底部設有多組輥筒,所述集料倉頂部設有雙層過濾網,所述雙層過濾網上層孔徑大于下層孔徑;所述輥筒底部設有傳送帶,所述傳送帶端部設有用于擠壓污泥成片狀的污泥輥壓筒,
所述污泥細化設備中的多組輥筒包括兩個粗輥壓筒,所述粗輥壓筒中間設有調節輥壓筒,所述調節輥壓筒下部設有一個花鍵輥壓筒,所述粗輥壓筒、調節輥壓筒和花鍵輥壓筒相互相切接壤。
2.根據權利要求1所述的污泥細化設備,其特征在于:所述粗輥壓筒,調節輥壓筒和花鍵輥壓筒均活動固定在固定板上。
說明書
污泥細化設備
技術領域
本發明涉及一種污水處理設備,特別是涉及一種污泥細化設備。
背景技術
目前在污水處理過程中,均會產生一種副產物,污泥。污泥的成分包括多種物質,包括細菌菌體,膠體和各種微生物,目前,我國的城市污泥排放量達到千萬噸,而且每年還以10%的速度在增長,這無疑給環境帶來很大的負擔和壓力。現有的城市污泥,含有有機物,氮,鉀等微量元素。有機物未經過穩定化的處理,很容易腐爛。從而營養元素與重金屬物質也會造成二次污染。
因此,這就需要對污泥進行水處理,目前的處理方法是,包括重力沉降,機械脫水和超聲波脫水。重力沉降可以使得污泥固含物重量提高2%-5%,而機械脫水通常需要較為復雜的設備,而超聲波脫水方式較為科學。
現有的技術中公開有了超聲波對污泥進行脫水的方法,但是簡單的超聲波脫水法,對于除去水分有一定效果,但是由于污泥中雜物繁多,因此,簡單的超聲波脫水法對于后期的污泥處理和資源回收再利用是不利的。
因此,這就需要一種對污泥預先處理的設備以解決污泥雜質多,顆粒度不均衡的缺陷。
發明內容
本發明的目的是提供一種過污泥進行細壓處理,以解決現有技術中的污泥處理污泥雜質多,顆粒度不均勻的缺陷。
本發明中的設備方案是這樣實現的:一種污泥細化設備,其用于對污泥進行細壓處理,其特征在于:包括集料倉,所述集料倉底部設有多組輥筒,所述集料倉頂部設有雙層過濾網,所述雙層過濾網上層孔徑大于下層孔徑;所述輥筒底部設有傳送帶,所傳送帶頂部的設有用于擠壓污泥成片狀的污泥輥壓筒
本發明的總體構思是:通過采用污泥進行輥壓,使得污泥顆粒更加緊湊,雜質粒度變小更均勻后,便于后續的污泥處理。
本發明中,作為進一步的改進,所述污泥細化設備中的輥筒包括兩個粗輥壓筒,所述粗輥壓筒中間設有調節輥壓筒,所述調節輥壓筒下部設有一個花鍵輥壓筒,所述粗輥壓筒,調節輥壓筒和花鍵輥壓筒相互相切接壤。
發明中,作為上述技術方案的進一步改進,所述粗輥壓筒,調節輥壓筒和花鍵輥壓筒均活動固定在固定板上。
本發明與現有技術相比,具有如下有益效果:
1.本發明中,可以將污泥的顆粒度均衡到處理級別水平,顆粒度差別率小于±0.02mm,并且能夠對污泥中的雜質進行細化,有利于后期污泥的處理。
2.本發明可以有效的減少污泥的雜質。
3.本發明制作成本低,便于本行業推廣和運用。







