申請日2013.08.22
公開(公告)日2014.02.12
IPC分類號C02F11/12
摘要
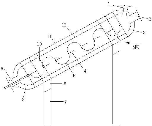
膠粘短纖維生產污泥廢料烘干機,包括機殼,機殼內設有料斗,機殼的上端設有上封頭,上封頭中間設有加料口,機殼的下端設有下封頭,下封頭中間設有出料口,料斗的上端圍繞加料口與上封頭內壁密封固定,料斗的下端圍繞出料口與下封頭內壁密封固定,料斗內設有電熱體,電熱體的一端從出料口延伸出來,電熱體在料斗中的部分波浪彎曲,上封頭表面設有出氣口,出氣口延伸到料斗中;機殼的一側下面設有兩根支架上面設有旋轉齒輪,機殼上設有兩圈定位齒輪,定位齒輪卡在旋轉齒輪中,電熱體波浪彎曲的中間部位設有抄板,抄板向著加料口端延伸。本實用新型,廢料與電熱提接觸面積大,時間長,廢料在料斗中旋轉,烘干均勻、快速。
權利要求書
1.膠粘短纖維生產污泥廢料烘干機,其特征是包括機殼,機殼內設有料斗,機殼的上端設有上封頭,上封頭中間設有加料口,機殼的下端設有下封頭,下封頭中間設有出料口,料斗的上端圍繞加料口與上封頭內壁密封固定,料斗的下端圍繞出料口與下封頭內壁密封固定,料斗內設有電熱體,電熱體的一端從出料口延伸出來,電熱體在料斗中的部分波浪彎曲,上封頭表面設有出氣口,出氣口延伸到料斗中。
2.根據權利要求1所述的膠粘短纖維生產污泥廢料烘干機,其特征是所述機殼的一側下面設有兩根支架,靠近上封頭的一根支架比靠近下封頭的支架高,支架上面設有旋轉齒輪,機殼上設有兩圈定位齒輪,定位齒輪卡在旋轉齒輪中,旋轉齒輪通過傳動構件連接電機。
3.根據權利要求1所述的膠粘短纖維生產污泥廢料烘干機,其特征是所述電熱體波浪彎曲的中間部位設有抄板,抄板向著加料口端延伸。
4.根據權利要求1所述的膠粘短纖維生產污泥廢料烘干機,其特征是所述電熱體延伸出料斗的一端設有電源插頭。
說明書
膠粘短纖維生產污泥廢料烘干機
技術領域
本實用新型涉及膠粘短纖維生產污泥廢料烘干機,它是一種將潮濕的污泥狀廢料烘干的設備,屬于化工設備領域。
背景技術
膠粘短纖維生產過程中會產生大量的酸堿性廢水,廢水中含有顆粒物,經過污水處理后,產生大量的污泥,傳統的做法是將污泥填埋,定會對環境造成一定的損害,將污泥廢料燃燒,轉化成可被環境分解利用的小分子,是一種比較環境友好的處理方式,但是污泥廢料在燃燒前需要將污泥廢料進行干燥處理,以便于燃燒的順利進行,傳統的廢料烘干就讓廢料直接通過料斗,烘干的效率低,使得廢料的烘干很不均勻,烘干過程熱源浪費。
發明內容
為了解決上述存在的問題,本實用新型公開了一種膠粘短纖維生產污泥廢料烘干機,本烘干機能將廢料充分均勻干燥,烘干的效果好,烘干熱源的利用率高。
膠粘短纖維生產污泥廢料烘干機,包括機殼,機殼內設有料斗,機殼的上端設有上封頭,上封頭中間設有加料口,機殼的下端設有下封頭,下封頭中間設有出料口,料斗的上端圍繞加料口與上封頭內壁密封固定,料斗的下端圍繞出料口與下封頭內壁密封固定,料斗內設有電熱體,電熱體的一端從出料口延伸出來,電熱體在料斗中的部分波浪彎曲,上封頭表面設有出氣口,出氣口延伸到料斗中。
所述機殼的一側下面設有兩根支架,靠近上封頭的一根支架比靠近下封頭的支架高,支架上面設有旋轉齒輪,機殼上設有兩圈定位齒輪,定位齒輪卡在旋轉齒輪中,旋轉齒輪通過傳動構件連接電機。
所述電熱體波浪彎曲的中間部位設有抄板,抄板向著加料口端延伸。
所述電熱體延伸出料斗的一端設有電源插頭。
本實用新型,廢料加入到料斗中,在重力作用下,從傾斜的料斗中向下移動,與電熱體接觸,廢料中的水分被熱蒸發,形成干燥廢料,從出料口排出,電熱體彎曲可以增大與廢料的接觸面積,加快烘干,提高烘干效率,抄板能減慢廢料在料斗中的流淌速度,延長與電熱體的接觸時間,使得烘干更徹底。







