申請日2013.08.22
公開(公告)日2014.03.05
IPC分類號C02F1/72
摘要
本實用新型公開了一種含硫化物廢水催化氧化反應器,屬于污水處理設備技術領域,旨在解決現有的處理含硫化物廢水設備結構繁復,污水處理效果差的問題。它采用的反應器是內裝設有催化劑填料床、催化劑填料床上填充有高度為0.8~1.2m的催化劑的催化氧化反應器,廢水集儲池的廢水提升泵所連的廢水輸送管連接到催化氧化反應器頂部,催化氧化反應器內位于催化劑填料床下部裝設有風機送風管連接的曝氣頭,催化氧化反應器頂部還裝連有雙氧水加藥機構的氧化劑輸送管、并在反應器頂部溢流口上裝連有處理水排出管,處理水排出管連接著處理水集水池。其結構簡單實用,適用于處理石油化工、染料、農藥、醫藥等工業含硫化物廢水。
權利要求書
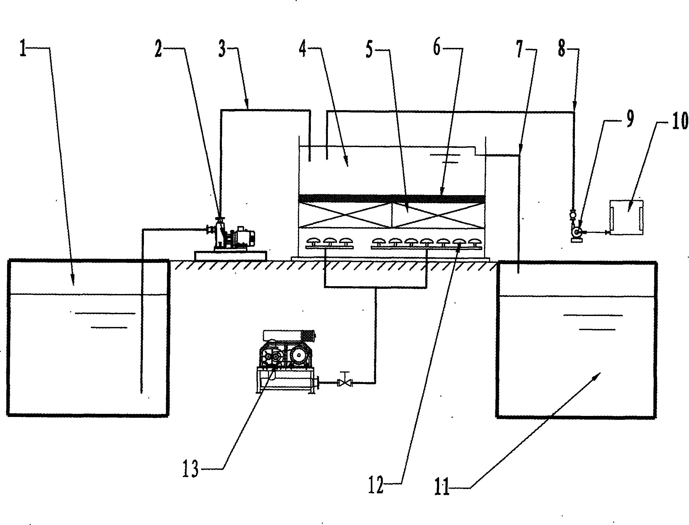
1.一種含硫化物廢水催化氧化反應器,它設有廢水集儲池(1)、廢水輸送泵(2)、廢水輸送管(3)、反應器、氧化劑加藥機構、處理水排出管(7)、處理水集水池(10),其特征是,還設有風機(11),反應器是內裝設有催化劑填料床(5)、催化劑填料床(5)上填充有高度為0.8~1.2m的催化劑(6)的催化氧化反應器(4),催化氧化反應器(4)內位于催化劑填料床(5)下部裝設有風機(13)送風管連接的曝氣頭(12),廢水集儲池(1)的廢水提升泵(2)所連的廢水輸送管(3)連接到催化氧化反應器(4)的頂部,催化氧化反應器(4)的頂部還裝有雙氧水加藥機構的氧化劑輸送管(8)并在頂部溢流口上裝連有處理水排出管(7),處理水排出管(7)連接著處理水集水池(11)。
2.根據權利要求1所述的含硫化物廢水催化氧化反應器,其特征是,氧化劑加藥機構為雙氧水氧化劑加藥機構,它包括雙氧水儲罐(10)、雙氧水輸送泵(9)和氧化劑輸送管(8),雙氧水儲罐(10)上裝設有雙氧水輸送泵(9)并由所連的氧化劑輸送管(8)連接催化氧化反應器(4)。
說明書
含硫化物廢水催化氧化反應器
技術領域
本實用新型屬于污水處理設備技術領域中一種處理含硫化物廢水的設備。
背景技術
在石油化工、染料、農藥、醫藥等行業中常有含硫化物廢水排出,對水生生 物有較強的殺生能力,在通風不利的條件下還會對操作人員產生毒害作用。此外, 廢水中的硫化物還會和水中的鉄類金屬發生反應,使水質發黑發臭,對環境造成 污染。隨著工業生產的日益發展,對污水設備尤其是處理含硫化物廢水設備的技 術要求也越來越高。在公知技術中,現有的處理含硫化物廢水主要有汽提法、混 凝沉淀法、生化法、氧化法等,尤其是氧化法,所采用的設備是污水集水池、污 水提升泵、污水輸送管、反應器、反應后污水排出裝置等連接組成,反應器在 175~350℃和壓力在6MPa的條件下,利用溶解在廢水中的氧氣去除廢水中的硫 化物,或是直接加入雙氧水等氧化劑進行氧化反應,但受其構造所限,其結構繁 復,污水處理的效果差,達不到國家對污水排放的標準,易造成二次環境污染。
實用新型內容
為了克服現有技術的不足,解決現有的處理含硫化物廢水設備結構繁復,污 水處理效果差的問題。本實用新型之目的是提供一種結構簡單實用,污水處理效 果好,能達到國家對污水排放標準,不造成二次環境污染的新式廢水處理設備。
本實用新型解決上述問題,所采用的技術方案是:
一種含硫化物廢水催化氧化反應器,它設有:廢水集儲池、廢水提升泵、廢 水輸送管、反應器、氧化劑加藥機構、處理水集水池、處理水排出管和風機,反 應器是內裝設有催化劑填料床、催化劑填料床上填充有高度為0.8~1.2m的催化 劑的催化氧化反應器,廢水集儲池的廢水提升泵所連的廢水輸送管連接到催化氧 化反應器頂部,催化氧化反應器內位于催化劑填料床下部裝設有風機送風管連接 的曝氣頭,催化氧化反應器頂部還裝連有雙氧水加藥機構的氧化劑輸送管、并在 反應器頂部溢流口上裝連有處理水排出管,處理水排出管連接著處理水集水池。
上述含硫化物廢水催化氧化反應器,所述氧化劑加藥機構為雙氧水氧化劑加 藥機構,它包括:雙氧水儲罐、雙氧水輸送泵和氧化劑輸送管,雙氧水儲罐上裝 設有雙氧水輸送泵并由所連的氧化劑輸送管連接催化氧化反應器。或是其它氧化 劑如臭氧、二氧化氯、液態氯、次氯酸鈉、次氯酸鈣、過氧化鈣的加藥機構。
本實用新型使用時,按照設計要求,裝連到設定位置,接通電源,便能進行 含硫化物廢水催化氧化反應處理作業。它既能去除廢水中所含硫化物、又能去除 COD,還能去除部分廢水色度,使處理水指標達到排放要求,或是根據需要進行二 次利用。
由于本實用新型設計采用了上述技術方案,有效地解決了現有含硫廢水處理 設備結構繁復,污水處理效果差的問題。亦經過中海油東營石化有限公司等用于 石油煉制廢水處理實際應用,廢水中硫化物去除率達90~96%,COD去除率達27~ 33%,試用結果表明,它與現有技術相比,具有結構簡單實用,污水處理效果好, 不造成二次環境污染等優點,適用于處理石油化工、染料、農藥、醫藥等工業含 硫化物廢水。







