申請日2013.08.23
公開(公告)日2014.03.26
IPC分類號C02F1/72
摘要
本實用新型公開了一種用于提高廢水可生化性的水處理設備,包括池體、池體支架及反應桶,所述池體底部設置進水口,所述池體上部設置出水口,其中進水口上部連接超微米氣泡進氣口,所述反應桶設置在所述池體內部的幾何中心處。本實用新型不僅具有結構簡單,操作方便的優點,而且具有制造成本低,工藝流程簡單,使用壽命長,操作維護方便,處理效果穩定等優點。
權利要求書
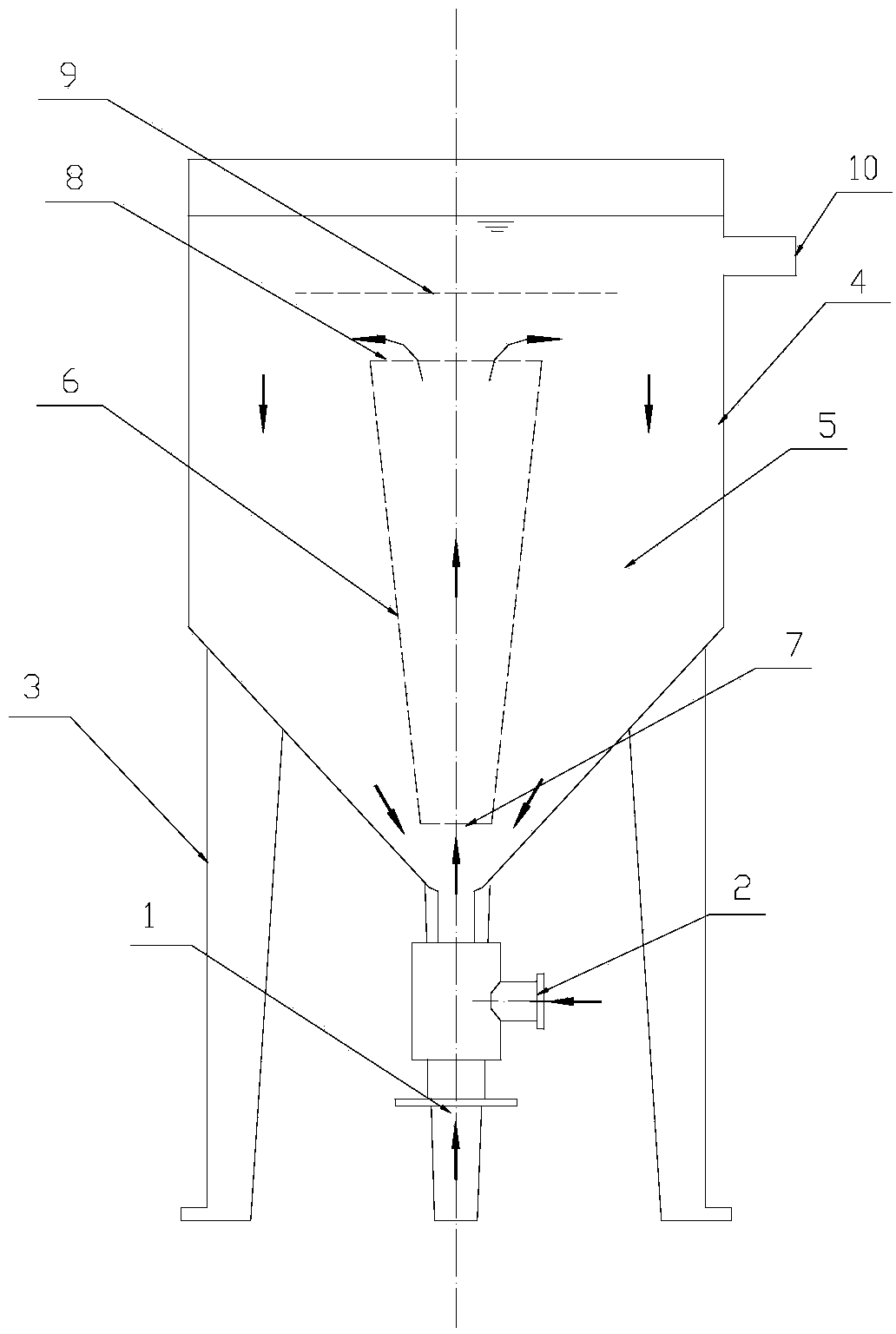
1.一種用于提高廢水可生化性的水處理設備,包括池體(4)、池體支架(3)及反應桶(6),所述池體(4)底部設置進水口(1),所述池體(4)上部設置出水口(10),其特征在于,其中進水口(1)上部連接超微米氣泡進氣口(2),所述反應桶(6)設置在所述池體(4)內部的幾何中心處。
2.根據權利要求1所述的水處理設備,其特征在于,所述池體(4)還包括強氧化填料床(5)和折流板(9),其中所述強氧化填料床(5)位于所述反應桶(6)外圍,所述折流板(9)安裝在所述反應桶(6)上方。
3.根據權利要求1所述的水處理設備,其特征在于,所述反應桶(6)上部設置反應桶上口(8),下部設置反應桶下口(7)。
4.根據權利要求2所述的水處理設備,其特征在于,其特征在于,所述強氧化填料床(5)裝有10-15毫米的圓形固體顆粒裝填料。
5.根據權利要求1所述的水處理設備,其特征在于, 所述超微米氣泡進氣口(2)為T型水管。
說明書
用于提高廢水可生化性的水處理設備
技術領域
本實用新型涉及一種環保水處理技術領域,尤其是涉及一種用于提高廢水可生化性的水處理設備。
背景技術
有機廢水特別是高鹽高濃度有機廢水處理,一直是國內眾多環保工作者及管理部門關注的難題。隨著我國化學工業的快速發展,各種新型的化工產品被應用到各行各業,特別是醫藥、化工、電鍍、印染等污染工業中,在提高產品質量、品質的同時也帶來了日益嚴重的環境污染問題,主要表現在:廢水中有機污染物濃度高、結構穩定、生化性差,常規工藝難以實現達標排放,且處理成本高,給企業節能減排帶來極大的壓力。
實用新型內容
為了克服現有技術缺點,本實用新型提供了一種用于提高廢水可生化性的水處理設備。
本實用新型提供一種用于提高廢水可生化性的水處理設備,包括池體、池體支架及反應桶,所述池體底部設置進水口,所述池體上部設置出水口,其中進水口上部連接超微米氣泡進氣口,所述反應桶設置在所述池體內部的幾何中心處;
進一步地,所述池體還包括強氧化填料床和折流板,其中所述強氧化填料床位于所述反應桶外圍,所述折流板安裝在所述反應桶上方;
進一步地,所述反應桶上部設置反應桶上口,下部設置反應桶下口;
進一步地,所述強氧化填料床裝有10-15毫米的圓形固體顆粒裝填料;
進一步地,所述超微米氣泡進氣口為T型水管。
由于采用了上述技術方案,本實用新型的有益效果是,反應速率快,作用有機污染物質范圍廣,工藝流程簡單、使用壽命長、投資費用少、操作維護方便、運行成本低、處理效果穩定。處理過程中只消耗少量的填料。填料只需定期添加無需更換,添加直接投入即可。廢水經該設備處理后無需再加鐵鹽等混凝劑,COD去除率高,并且不會對水造成二次污染;具有良好的混凝效果,色度、COD去除率高,同時可在很大程度上提高廢水的可生化性,該方法可以達到化學沉淀除磷的效果,還可以通過還原除重金屬;對已建成未達標的高濃度有機廢水處理工程,用該技術作為已建工程廢水的預處理,在降解COD的同時提高廢水的可生化性,可確保廢水處理后穩定達標排放,也可對生化后廢水進行深度處理。







