申請日2013.08.23
公開(公告)日2014.01.15
IPC分類號C02F9/14
摘要
本發明涉及一種污水凈化器及其使用方法,污水凈化器包括用于進行污水凈化的容器,所述容器上端設有進水口的排氣口,容器下端設有與氧化塘相連的排水口;所述容器內通過支架自上而下依次分隔設置有微生物處理層、曝氣層、吸附過濾層、排水層;所述曝氣層中設有曝氣管并通過導氣管與設于容器外的鼓風機連通。本發明的有益效果在于:利用好氧微生物降解處理污水與物理吸附過濾污水兩種方式的結合,有效提高污水處理效率;而且與現有采用序批式活性污泥法(SBR)的好氧曝氣污水處理池相比具有投資少、占地面積小、運行費用低等優點。
權利要求書
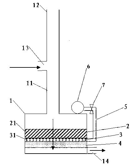
1.一種污水凈化器,包括用于進行污水凈化的容器,其特征在于:所述容器上端設有進水口和排氣口,容器下端設有排水口;所述容器內通過支架自上而下依次分隔設置有微生物處理層、曝氣層、吸附過濾層、排水層,所述曝氣層中設有曝氣管,所述曝氣管通過導氣管與設于容器外的鼓風機連通。
2.根據權利要求1所述的污水凈化器,其特征在于:所述容器上端連通有一豎直布置的管道,所述管道最上端開設有排氣口,管道中部開設有與厭氧發酵池的出水口相連的污水進水口。
3.根據權利要求1所述的污水凈化器,其特征在于:所述微生物處理層盛放有固體好氧微生物接菌劑。
4.根據權利要求1所述的污水凈化器,其特征在于:所述曝氣層中均勻布置有表面布滿微小出氣孔的曝氣管,所述曝氣管通過導氣管與設于容器外的鼓風機連通。
5.根據權利要求1或4任一權利要求所述的污水凈化器,其特征在于:所述導氣管上設置有控制通氣量大小的電控調節閥。
6.一種污水器使用方法,包括如權利要求4所述的污水凈化器,其特征在于:包括下列步驟:
(1)在微生物處理層盛放固體好氧微生物接菌劑;
(2)打開污水進水口的進水開關,使污水通入容器中;
(3)啟動鼓風機以使空氣通過導氣管進入曝氣層中的曝氣管,并在曝氣管表面的微小出氣孔上排放出大量小氣泡;
(4)開啟容器下端的排水口,使污水通過排水口流出。
7.根據權利要求6所述的一種污水器使用方法,其特征在于步驟(4)所述排水口與氧化塘相連,以將處理后的污水進一步凈化,實現達標排放。
說明書
污水凈化器及其使用方法
技術領域
本發明涉及水處理裝置領域,具體地說是一種污水凈化器及其使用方法。
背景技術
當今世界淡水資源匱,對于污水的處理再利用是節約用水的重要手段。然而,目前畜禽養殖場的糞便污水絕大部分只經厭氧發酵處理,處理后的沼液后直接排放。這樣做不僅造成水資源的浪費,而且引起畜禽養殖場周邊的水質環境嚴重富營養化,破壞生態環境。市場上提供的污水處理設備,成本高昂、使用復雜,并不完全適用于我國數目眾多的中小型畜禽養殖企業。
發明內容
針對上述問題,本發明目的在于提供一種結構簡單、使用方便、成本低廉,且能夠快速、有效地解決畜禽養殖場中未徹底處理的低濃度糞便污水及淡水養殖場中養殖污水的一種污水凈化器。
本發明解決技術問題所采用的第一技術方案是:一種污水凈化器,包括用于進行污水凈化的容器,所述容器上端設有進水口和排氣口,容器下端設有排水口;所述容器內通過支架自上而下依次分隔設置有微生物處理層、曝氣層、吸附過濾層、排水層,所述曝氣層中設有曝氣管,所述曝氣管通過導氣管與設于容器外的鼓風機連通。
進一步的,所述容器上端連通有一豎直布置的管道,所述管道最上端開設有排氣口,管道中部開設有與厭氧發酵池的出水口相連的污水進水口。
進一步的,所述微生物處理層盛放有固體好氧微生物接菌劑。
進一步的,所述曝氣層中均勻布置有表面布滿微小出氣孔的曝氣管,所述曝氣管通過導氣管與設于容器外的鼓風機連通。
進一步的,所述導氣管上設置有控制通氣量大小的電控調節閥。
本發明還提供了一種污水器使用方法:包括下列步驟:
(1) 在微生物處理層盛放固體好氧微生物接菌劑;
(2) 打開污水進水口的進水開關,使污水通入容器中;
(3) 啟動鼓風機以使空氣通過導氣管進入曝氣層中的曝氣管,并在曝氣管表面的微小出氣孔上排放出大量小氣泡;
(4) 開啟容器下端的排水口,使污水通過排水口流出。
進一步的,在步驟(4)中所述排水口與氧化塘相連,以將處理后的污水進一步凈化,實現達標排放。
本發明的有益效果在于:利用好氧微生物降解處理污水與物理吸附過濾污水兩種方式的結合,有效提高污水處理效率;而且與現有的采用序批式活性污泥法 (SBR)的好氧曝氣污水處理池相比具有投資少、占地面積小、運行費用低等優點。該裝置使用方便,通過該污水凈化器后的污水再通入氧化塘,可將處理后的污水進一步凈化,實現達標排放。







