申請日2014.11.03
公開(公告)日2015.01.21
IPC分類號C02F9/14; C02F103/24; C02F103/30
摘要
本發明涉及一種蠕動床及利用其處理廢水的方法,該蠕動床為多級串聯結構,并包括一級預處理單元、二級生物處理單元及三級深度處理單元,一級預處理單元內設有第一污泥沉淀區、進水管及第一排泥管,二級生物處理單元內設置有生物載體、曝氣系統、第二污泥沉淀區及第二排泥管,三級深度處理單元設有第三污泥沉淀區、加藥系統、排水管及第三排泥管。需要處理的污水經過一級預處理單元、二級生物處理單元及三級深度處理單元三次處理后經檢測直接達到一級A標準。本發明是根據污水中污染物的種類采用不同的高效微生物菌種進行復配,并將不同功能的生物逐級固定在高分子多孔彈性載體中,實現了污水生物處理從無序到有序,從混合菌群到專業化菌群處理過程的轉變。
權利要求書
1.一種蠕動床,其特征在于,該蠕動床為多級串聯結構,且該蠕動床包括一級預處理單元、二級生物處理單元及三級深度處理單元,該一級預處理單元內設有第一污泥沉淀區,其上并設置有進水管及第一排泥管,該二級生物處理單元內設置有多級串聯的生物載體,該生物載體下方設置有曝氣系統,該曝氣系統下方設有第二污泥沉淀區及第二排泥管,該三級深度處理單元內設有第三污泥沉淀區,且其上設置有加藥系統、排水管及第三排泥管。
2.如權利要求1所述的蠕動床,其特征在于,該串聯結構為環形或長方形串聯結構。
3.如權利要求1所述的蠕動床,其特征在于,該串聯結構的級數為十級,其中一、三、五、七、九級為升流式,二、四、六、八、十級為降流式。
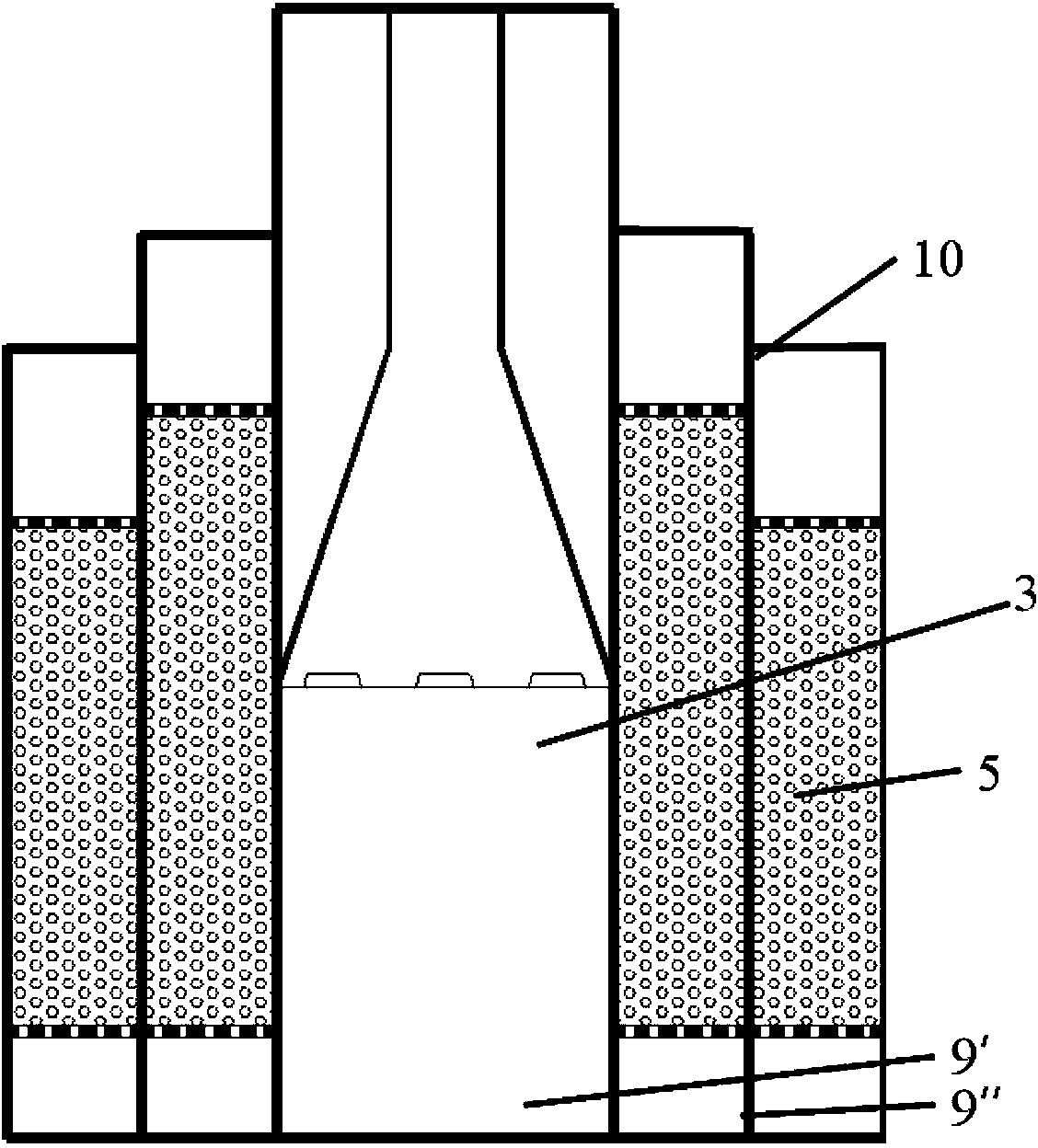
4.如權利要求1所述的蠕動床,其特征在于,該二級生物處理單元內分別固定有兩層沖孔板,且上、下層沖孔板之間填充有生物載體,下層沖孔板上面鋪設有曝氣系統。
5.如權利要求4所述的蠕動床,其特征在于,該曝氣系統為具有穿孔的曝氣管。
6.如權利要求4所述的蠕動床,其特征在于,該生物載體為高分子多孔彈性塊體,其密度為25kg/m3。
7.如權利要求1所述的蠕動床,其特征在于,該生物載體根據需要處理的廢水水質逐級固定有不同功能的微生物菌。
8.如權利要求7所述的蠕動床,其特征在于,該微生物菌為ZHB11、ZHB22、ZHB35或ZHB35M,其投加量為0.5-1kg/m3生物載體。
9.一種利用權利要求1-8所述的蠕動床處理廢水的方法,其特征在于,包括以下步驟:
1)根據需要處理的廢水中污染物的種類按一定的次序將相應的微生物菌固定到不同級的生物載體上并于10℃-50℃下進行培養10-30天,其中微生物菌的投加量為0.5-1kg/m3生物載體;
2)需要處理的廢水由一級預處理單元的進水管進入,經過第一污泥沉淀區的沉淀,出水上升自流到二級生物處理單元,污泥由第一排泥管排出;
3)一級的出水依次進入二級生物處理單元的十級進行生物處理,經過第二污泥沉淀區的沉淀,出水上升自流到三級深度處理單元,污泥由第二排泥管排出;
4)二級的出水進入三級深度處理單元并通過加藥系統添加化學藥劑進行深度處理,經過第三污泥沉淀區的沉淀,出水由排水管排出并經檢測達到一級A標準,污泥由第三排泥管排出。
10.如權利要求9所述的方法,其特征在于,該廢水為洗滌廢水、油脂類廢水、石油廢水、煤化工廢水、印染廢水、表面活性劑廢水、皮革廢水或制藥廢水;該化學藥劑為FeSO4、PAC、PAM或CaCO3。
說明書
蠕動床及利用其處理廢水的方法
技術領域
本發明涉及化工技術領域,尤其涉及一種蠕動床及利用其處理廢水的方法。
背景技術
目前處理工業廢水的傳統活性污泥法主要有氧化溝工藝、A2/O工藝、SBR工藝、CASS工藝和接觸氧化工藝等。這類處理工藝存在的主要問題是處理后的水質不能穩定達到《污水綜合排放標準》GB8978-1996的一級標準。主要原因是活性污泥法處理工藝容易受水質水量變化沖擊,一旦系統遭到破壞,恢復起來需要漫長的過程。而污水處理廠的污水來源是連續的,沒有條件進行長時間停運養生。因此,利用傳統活性污泥法進行水質水量變化大的工業廢水是不能穩定達標的。MBR膜生物反應器是近幾年發展起來的污水處理新工藝,適用于城鎮生活污水處理和氨氮較低且生化性好的工業廢水處理。但它的運行成本高,脫氮能力差,在推廣應用方面受到了限值。
蠕動床是針對不同的污水選用不同功能的高效復配微生物,應用固定化微生物技術,將生物分別固定在多級串聯的蠕動床多孔彈性載體內,載體給生物提供了一個安心工作,世代繁衍的場所,保證了不同工序優勢菌種的純度和生物的濃度,經過多級串聯工序化處理,達到既能適應水質水量變化的條件,又能實現長周期穩定達標運行的目的。
發明內容
有鑒于此,本發明的目的在于提供一種蠕動床及利用其處理廢水的方法。
為達到上述目的,本發明提供一種蠕動床,該蠕動床為多級串聯結構,且該蠕動床包括一級預處理單元、二級生物處理單元及三級深度處理單元,該一級預處理單元內設有第一污泥沉淀區,其上并設置有進水管及第一排泥管,該二級生物處理單元內設置有多級串聯的生物載體,該生物載體下方設置有曝氣系統,該曝氣系統下方設有第二污泥沉淀區及第二排泥管,該三級深度處理單元上設置有加藥系統、排水管、第三污泥沉淀區及第三排泥管。
進一步地,其中該串聯結構為環形或長方形串聯結構。
進一步地,其中該串聯結構的級數為十級,其中一、三、五、七、九級為升流式,二、四、六、八、十級為降流式。
進一步地,其中該二級生物處理單元內分別固定有兩層沖孔板,且上、下層沖孔板之間填充有生物載體,下層沖孔板上面鋪設有曝氣系統。
進一步地,其中該曝氣系統為具有穿孔的曝氣管,其在載體的下部,池體的中部,達到既給載體鼓氣充氧,又不攪動下層污泥的目的。
進一步地,其中該生物載體為高分子多孔彈性塊體,其密度為25kg/m3。空白載體(未固定微生物菌的載體)比水略輕,浮于水面,當固定好微生物菌之后,載體比水略重,沉于水底,當曝氣時,在氣水作用下呈蠕動狀態,因此,在沒有反沖洗系統的情況下蠕動床不會堵塞。
進一步地,其中該生物載體根據需要處理的污水水質逐級固定有不同功能的微生物菌。
進一步地,其中該微生物菌為ZHB11、ZHB22、ZHB35或ZHB35M,其投加量為0.5-1kg/m3生物載體。針對蠕動床處理的不同的處理水質,微生物的類型差別非常大。當進水水質環境發生變化時,微生物的營養條件、溫度、pH等條件改變,會導致細菌群落組成發生改變,能夠適應進水環境的功能菌類快速富集發揮主要作用,從而可以提高生物反應區的抗沖擊性,從而促進蠕動床內污染物的降解去除。
進一步地,其中該生物載體中根據需要處理的廢水水質逐級固定有不同功能的微生物菌。
進一步地,其中該微生物菌的投加量為0.5-1kg/m3生物載體(一次投加,正常運行后,不需要補加)。
本發明進一步提供一種利用上述蠕動床處理廢水的方法,包括以下步驟:
1)根據需要處理的廢水中污染物的種類按一定的次序將相應的微生物菌固定到不同級的生物載體上并于10℃-50℃下進行培養10-30天,其中微生物菌的投加量為0.5-1kg/m3生物載體;
2)需要處理的廢水由一級預處理單元的進水管進入,經過第一污泥沉淀區的沉淀,出水上升自流到二級生物處理單元,污泥由第一排泥管排出;
3)一級的出水依次進入二級生物處理單元的十級進行生物處理,經過第二污泥沉淀區的沉淀,出水上升自流到三級深度處理單元,污泥由第二排泥管排出;
4)二級的出水進入三級深度處理單元并通過加藥系統添加化學藥劑進行深度處理,經過第三污泥沉淀區的沉淀,出水由排水管排出并經檢測達到一級A標準,污泥由第三排泥管排出。
進一步地,其中該廢水為洗滌廢水、油脂類廢水、石油廢水、煤化工廢水、印染廢水、表面活性劑廢水、皮革廢水或制藥廢水;該化學藥劑為FeSO4、PAC(聚合氯化鋁)、PAM(聚丙烯酰胺)或CaCO3。
本發明相對于現有技術具有的有益效果為:
1、本發明所提供的利用蠕動床處理廢水的方法,其是根據污水中污染物的種類采用不同的高效生物菌種進行復配,并將不同功能的生物逐級固定在高分子多孔彈性載體中,實現了污水生物處理從無序到有序,從游擊到專業化菌群處理過程的轉變;
2、本發明所提供的利用蠕動床處理廢水的方法,其生物處理中沒有污泥回流系統,避免了污泥膨脹和臭味產生;
3、本發明所提供的蠕動床,其沒有反沖洗系統。因為生物載體下方設置有曝氣系統,固定化微生物菌后的載體平均密度為1.00與水的密度十分接近,生物載體在池內呈懸浮蠕動狀態,污水在運行過程中,同時進行著氣水反沖洗,因此沒有固定的反沖洗系統而不會堵塞;
4、本發明所提供的蠕動床,其由于特殊的結構及曝氣形式,使得泥水在蠕動床內分離,不需要另建二沉池。







