申請日2013.08.28
公開(公告)日2015.03.18
IPC分類號E04D13/16; E04D13/14
摘要
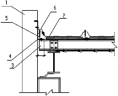
一種鋼結構工程屋面與女兒墻連接處防水處理結構,包括女兒墻、屋面外板,所述女兒墻與檁條間設置有鋼板折件,所述鋼板折件一端固定于檁條上另一端固定于女兒墻上,所述屋面外板通過固定座與鋼板折件和檁條連接,所述屋面外板和鋼板折件上方設置泛水板,所述泛水板一端和女兒墻連接一端通過自攻螺釘與屋面外板連接;所述的鋼板折件為“L”型;所述泛水板和屋面外板之間設置密封膠泥;所述泛水板和女兒墻直間設置水泥砂漿。本發明由于采用了以上的結構,牢固性強,防水效果好。
權利要求書
1.一種鋼結構工程屋面與女兒墻連接處防水處理結構,包括女兒墻、屋面外板,其特征在于,所述女兒墻與檁條間設置有鋼板折件,所述鋼板折件一端固定于檁條上另一端固定于女兒墻上, 所述屋面外板通過固定座與鋼板折件和檁條連接,所述屋面外板和鋼板折件上方設置泛水板,所述泛水板一端和女兒墻連接一端通過自攻螺釘與屋面外板連接。
2.根據權利要求1所述的鋼結構工程屋面與女兒墻連接處防水處理結構,所述的鋼板折件為“L”型。
3.根據權利要求1所述的鋼結構工程屋面與女兒墻連接處防水處理結構,所述泛水板和屋面外板之間設置密封膠泥。
4.根據權利要求1所述的鋼結構工程屋面與女兒墻連接處防水處理結構,所述泛水板和女兒墻之間設置水泥砂漿。
說明書
鋼結構工程屋面與女兒墻連接處防水處理結構
技術領域
本發明涉及一種鋼結構工程屋面與女兒墻連接處防水處理結構。
背景技術
現有的鋼結構工程屋面與女兒墻連接處防水處理技術大多采用屋面頂與女兒墻連接處使用防水建材覆蓋,多數屋面板防水處理在使用1-2年后普遍出現屋面漏水現象。
發明內容
本發明解決的技術問題是提供一種防水效果好的鋼結構工程屋面與女兒墻連接處防水處理結構。
本發明為解決上述問題而采用的技術方案是:
一種鋼結構工程屋面與女兒墻連接處防水處理結構,包括女兒墻、屋面外板,所述女兒墻與檁條間設置有鋼板折件,所述鋼板折件一端固定于檁條上另一端固定于女兒墻上, 所述屋面外板通過固定座與鋼板折件和檁條連接,所述屋面外板和鋼板折件上方設置泛水板,所述泛水板一端和女兒墻連接一端通過自攻螺釘與屋面外板連接;
所述的鋼板折件為“L”型;
所述泛水板和屋面外板之間設置密封膠泥;
所述泛水板和女兒墻直間設置水泥砂漿。
本發明由于采用了以上的結構,牢固性強,防水效果好。







