申請日2015.08.20
公開(公告)日2016.02.17
IPC分類號C02F9/02
摘要
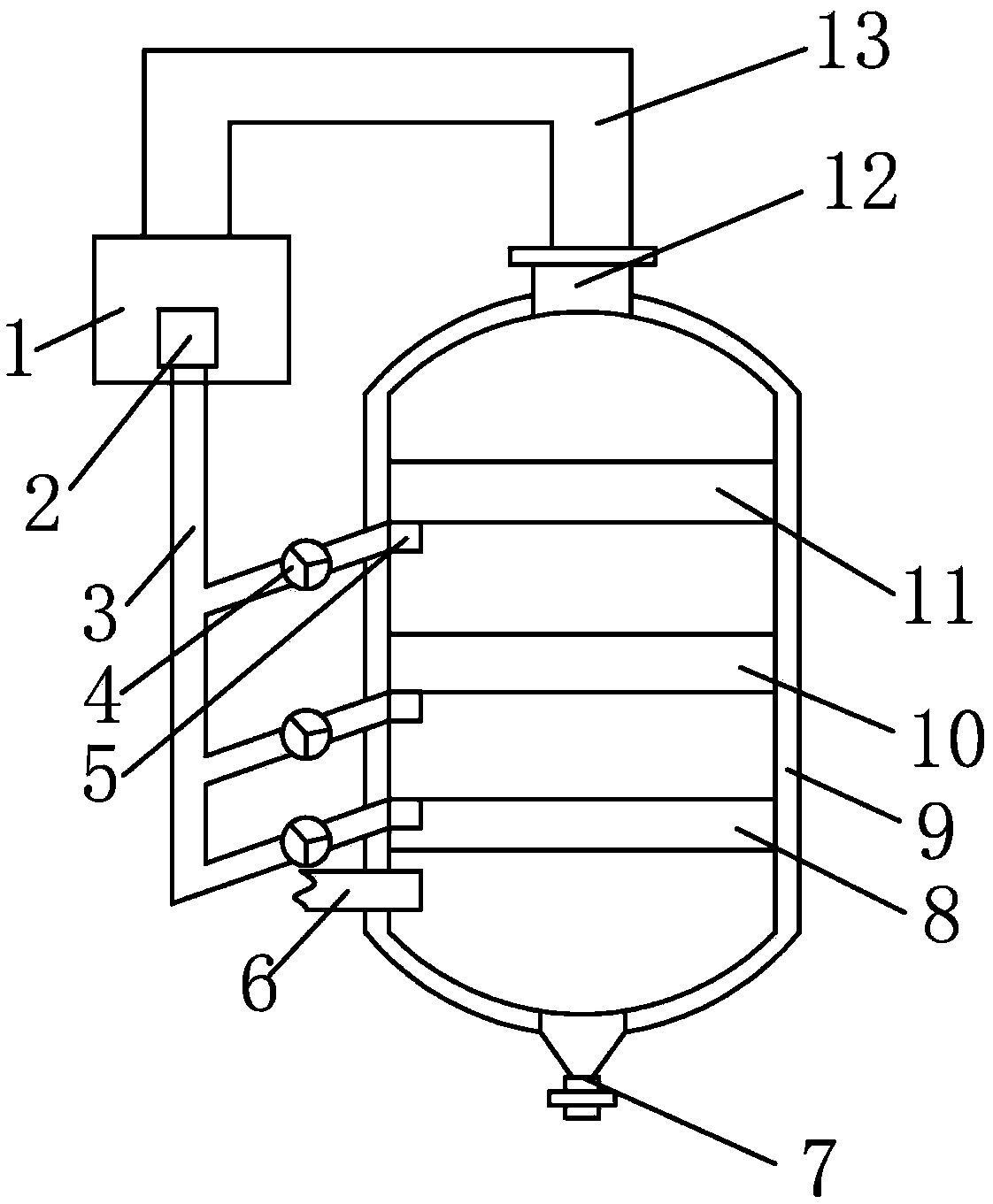
本實用新型公開了一種污水多重過濾裝置,包括處理罐,以及設置在處理罐內底部的一級過濾器,及設置在處理罐內中部的二級過濾器,及設置在處理罐內上部的三級過濾器,所述一級過濾器采用次微米級活性炭濾芯,所述二級過濾器采用逆滲透膜過濾器,所述三級過濾器由濾料層、硅砂層、沸石層和細砂層組成,且依次自下往上設置;所述處理罐頂端設有出水口,出水口通過水管連接凈水罐,凈水罐內設有水泵,水泵通過反沖洗管與處理罐連接,位于處理罐內的反沖洗管上設有高壓噴頭。本實用新型的有益效果是:通過設置的一級過濾器、二級過濾器和三級過濾器可有效地過濾污水中的雜質以及細菌等危害人體的物質。
權利要求書
1.一種污水多重過濾裝置,包括處理罐,以及設置在處理罐內底部的一級過濾器,及設置在處理罐內中部的二級過濾器,及設置在處理罐內上部的三級過濾器,其特征在于,所述一級過濾器采用次微米級活性炭濾芯,所述二級過濾器采用逆滲透膜過濾器,所述三級過濾器由濾料層、硅砂層、沸石層和細砂層組成,且依次自下往上設置;所述處理罐頂端設有出水口,出水口通過水管連接凈水罐,凈水罐內設有水泵,水泵通過反沖洗管與處理罐連接,位于處理罐內的反沖洗管上設有高壓噴頭。
2.根據權利要求1所述的一種污水多重過濾裝置,其特征在于,所述一級過濾器下部設有污水進口。
3.根據權利要求1所述的一種污水多重過濾裝置,其特征在于,所述處理罐底部設有污泥出口。
4.根據權利要求1所述的一種污水多重過濾裝置,其特征在于,所述反沖洗管上靠近高壓噴頭處設有增壓泵。
說明書
一種污水多重過濾裝置
技術領域
本實用新型涉及污水處理技術領域,具體涉及一種污水多重過濾裝置。
背景技術
目前的污水處理裝置一般都比較龐大和復雜,通常的設備是用滲透法和濾料超濾法及其它方法處理,其場地龐大,工序復雜,需要的費用較多,不易推廣。此外,現有的污水過濾器再長期使用后,雜質會粘附在過濾層上,導致過濾孔被堵塞,出現污水處理效果不佳等問題。
實用新型內容
本實用新型的目的在于提供一種污水多重過濾裝置,以解決上述背景技術中提出的問題。
為實現上述目的,本實用新型提供如下技術方案:
一種污水多重過濾裝置,包括處理罐,以及設置在處理罐內底部的一級過濾器,及設置在處理罐內中部的二級過濾器,及設置在處理罐內上部的三級過濾器,所述一級過濾器采用次微米級活性炭濾芯,所述二級過濾器采用逆滲透膜過濾器,所述三級過濾器由濾料層、硅砂層、沸石層和細砂層組成,且依次自下往上設置;所述處理罐頂端設有出水口,出水口通過水管連接凈水罐,凈水罐內設有水泵,水泵通過反沖洗管與處理罐連接,位于處理罐內的反沖洗管上設有高壓噴頭。
作為本實用新型進一步的方案:所述一級過濾器下部設有污水進口。
作為本實用新型再進一步的方案:所述處理罐底部設有污泥出口。
作為本實用新型再進一步的方案:所述反沖洗管上靠近高壓噴頭處設有增壓泵。
本實用新型的有益效果是:通過設置的一級過濾器、二級過濾器和三級過濾器可有效地過濾污水中的雜質以及細菌等危害人體的物質,通過反沖洗管可清除粘附在一級過濾器、二級過濾器和三級過濾器底部的雜質,防止雜質堵塞過濾孔。







