申請日2015.08.20
公開(公告)日2015.12.30
IPC分類號C02F1/62; C02F1/28
摘要
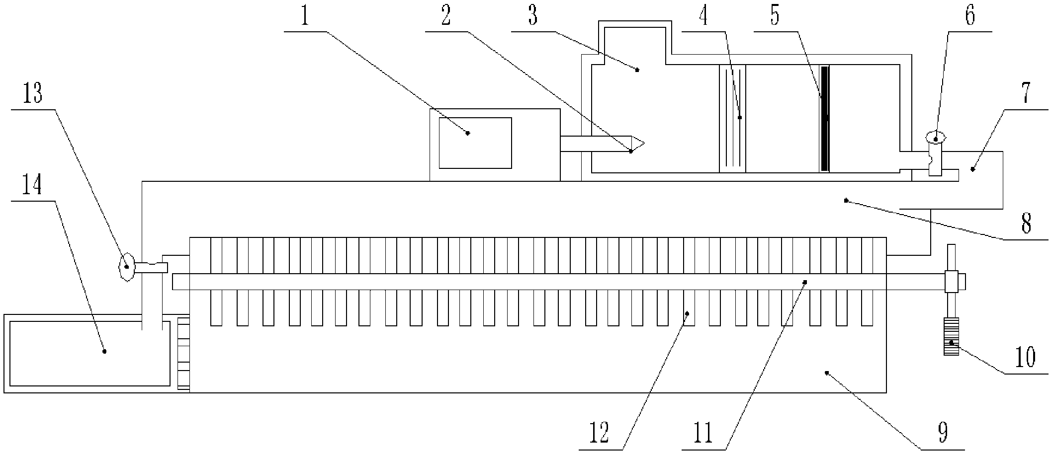
本實用新型公開了一種從污水中提取重金屬的裝置,包括檢測顯示屏、重金屬檢測裝置、輸入箱,所述檢測顯示屏輸入端連接著重金屬檢測裝置輸出端,所述重金屬檢測裝置設置在輸入箱內部,所述輸入箱內部安裝著粗過濾層,所述粗過濾層右邊設置有細過濾層,所述輸入箱輸出口連接著輸入閥門,所述輸入閥門右端連接著輸送管道輸入端,所述輸送管道輸出端連接著吸附箱輸入端,所述吸附箱(8)下方連接著活性炭箱。本實用新型通過重金屬檢測裝置檢測污水的重金屬含量,并用活性炭有效的吸附污水中的重金屬,凈化過程沒有有害物的輸出,既環保、成本低又效率高。
權利要求書
1.一種從污水中提取重金屬的裝置,包括檢測顯示屏(1)、重金屬檢測裝 置(2)、輸入箱(3),其特征在于:所述檢測顯示屏(1)輸入端連接著重金屬檢 測裝置(2)輸出端,所述重金屬檢測裝置(2)設置在輸入箱(3)內部,所述輸入 箱(3)內部安裝著粗過濾層(4),所述粗過濾層(4)右邊設置有細過濾層(5), 所述輸入箱(3)輸出口連接著輸入閥門(6),所述輸入閥門(6)右端連接著輸 送管道(7)輸入端,所述輸送管道(7)輸出端連接著吸附箱(8)輸入端,所 述吸附箱(8)下方連接著活性炭箱(9)。
2.根據權利要求1所述的一種從污水中提取重金屬的裝置,其特征在于: 所述活性炭箱(9)內安裝著切換活性炭桿(11),所述切換活性炭桿(11)右 端安裝切換活性炭把手(10)。
3.根據權利要求2所述的一種從污水中提取重金屬的裝置,其特征在于: 所述切換活性炭桿(11)上安裝了活性炭(12),所述吸附箱(8)輸入端設置 有輸出閥門(13)。
4.根據權利要求3所述的一種從污水中提取重金屬的裝置,其特征在于: 所述輸出閥門(13)輸入端連接著回收水箱(14)輸入端,所述回收水箱(14) 放置在活性炭箱(9)的左側。
說明書
一種從污水中提取重金屬的裝置
技術領域
本實用新型涉及一種提取重金屬的裝置,具體涉及一種從污水中提取重金 屬的裝置,屬于提取重金屬領域。
背景技術
礦冶、機械制造、化工、電子、儀表等工業中的許多生產過程中都產生重 金屬廢水,這些廢水嚴重影響著兒童和成人的身體健康乃至生命,若人體吸取 了過多的重金屬會危及生命,所以這些污水需要重金屬的提取及凈化。現在從 污水中提取的重金屬的方法有很多,如化學沉淀法、電解法、溶劑萃取分離、 生物處理法等。這些方法有很高的凈化效率,但是有很多缺點,比如化學沉淀 法往往出水濃度達不到要求,需作進一步處理,否則會造成二次污染。電解法 不適用于處理較低濃度的含重金屬離子的廢水,不適合廣泛使用。因為這些種 種的不足,以至于無法滿足現在工廠的要求,需要投資重金來處理重金屬的凈 化問題,這樣既成本變得非常高并且效果也變得很差。
針對上述不足,需要設計和開發一種從污水中提取重金屬的裝置,效率高, 能夠更方便、更實用。
實用新型內容
為了解決上述存在的問題,本實用新型提供一種從污水中提取重金屬的裝 置。不僅效率高而且使用起來也非常實用。
本發明的目的是通過以下技術手段實現的:
一種從污水中提取重金屬的裝置,包括檢測顯示屏、重金屬檢測裝置、輸 入箱,所述檢測顯示屏輸入端連接著重金屬檢測裝置輸出端,所述重金屬檢測 裝置設置在輸入箱內部,所述輸入箱內部安裝著粗過濾層,所述粗過濾層右邊 設置有細過濾層,所述輸入箱輸出口連接著輸入閥門,所述輸入閥門右端連接 著輸送管道輸入端,所述輸送管道輸出端連接著吸附箱輸入端,所述吸附箱(8) 下方連接著活性炭箱。
作為本實用新型的進一步優化方案,所述活性炭箱內安裝著切換活性炭桿, 所述切換活性炭桿右端安裝切換活性炭把手。
作為本實用新型的進一步優化方案,所述切換活性炭桿上安裝了活性炭, 所述吸附箱輸入端設置有輸出閥門。
作為本實用新型的進一步優化方案,所述輸出閥門輸入端連接著回收水箱 輸入端,所述回收水箱放置在活性炭箱的左側。
與現有的技術相比,本實用新型的有益效果是:本實用新型通過重金屬檢 測裝置檢測污水的重金屬含量,并用活性炭有效的吸附污水中的重金屬,凈化 過程沒有有害物的輸出,既環保、成本低又效率高。







