申請日2015.08.20
公開(公告)日2015.11.25
IPC分類號C02F9/14
摘要
本發明提供種一種高低并列式難降解廢水高效處理裝置,由氣浮分離區(25)、曝氣鐵炭區(26)、厭氧區(27)、好氧區(28)、回流混合區(30)、缺氧區(31)及沉降分離區(29)組成。氣浮分離區與曝氣鐵炭區等高,厭氧區與好氧區等高,回流混合區、缺氧區及沉降分離區等高,上述等高區與等高區之間的空間高度依次分別降低20~50cm,形成推動水質流動的位差;好氧出水、厭氧部分泥水、沉降分離單元氣提回流水在回流混合單元混合后,自然流進缺氧單元。本發明耦合氣浮分離和曝氣鐵炭技術對原水進行預處理、組合優化厭氧、好氧、缺氧工藝進行深度處理,具有效率高、操作成本低、加工容易、操作簡便等特點,易于推廣應用。
權利要求書
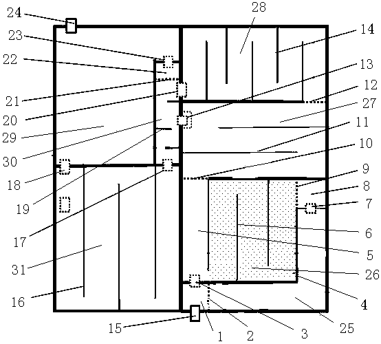
1.一種高低并列式難降解廢水處理裝置,其特征在于,由氣浮分離區(25)、曝氣鐵炭區(26)、厭氧區(27)、好氧區(28)、回流混合區(30)、缺氧區(31)及沉降分離區(29)組成,它們的空間排列為回流混合區(30)置于中間,氣浮分離區(25)、曝氣鐵炭區(26)、厭氧區(27)、好氧區(28)、沉降分離區(29)及缺氧區(31)在其四周依次排列,氣浮分離區(25)與曝氣鐵炭區(26)等高,厭氧區(27)與好氧區(28)等高,回流混合區(30)、缺氧區(31)及沉降分離區(29)等高,上述等高區與等高區之間的空間高度依次分別降低20~50cm,形成推動水質流動的位差,厭氧區(27)、好氧區(28)和沉降分離區(29)分別開有流向回流混合區(30)的第一過流口(13)、第二過流口(20)和第三過流口(23),回流混合區(30)開有自然流進缺氧區(31)的第四過流口(17),其中,氣浮分離區(25)上設有原水及藥劑加入口(15),氣浮分離區(25)通過第一過流堰(9)與曝氣鐵炭區(26)連通,曝氣鐵炭區(26)通過第二過流堰(10)與厭氧區(27)連通,厭氧區(27)通過第三過流堰(12)與好氧區(28)連通,缺氧區(31)通過第五過流口(18)與布設有出水口(24)的沉降分離區(29)連通。
2.根據權利要求1所述的一種高低并列式難降解廢水處理裝置,其特征在于,氣浮分離區(25)對應原水及藥劑加入口(15)和第一過流堰(9)位置的兩端分別布設有氣提回流混合區(1)和氣提混合區(8),氣提回流混合區(1)和氣提混合區(8)的底部設置有曝氣部件;其中,氣提回流混合區(1)通過第四過流堰(2)與氣浮分離區(25)連通,通過回流過水孔(3)與曝氣鐵炭區(26)連通;氣提混合區(8)通過第六過流口(7)與氣浮分離區(25)連通。
3.根據權利要求1所述的一種高低并列式難降解廢水處理裝置,其特征在于,曝氣鐵炭區(26)通過第一折流板(6)分隔成若干單元格,曝氣鐵炭區(26)與氣提回流混合區(1)通過回流過水孔(3)連通的一個單元格為沉渣分離區(5),其余單元格為填料裝填區(4),其中,曝氣鐵炭區(26)通過沉渣分離區(5)上的第二過流堰(10)與厭氧區(27)連通。
4.根據權利要求3所述的一種高低并列式難降解廢水處理裝置,其特征在于,填料裝填區(4)的支撐板(34)上布設曝氣頭(33)和鋪設有鐵屑和焦炭填料(32),支撐板(34)下面布設沖洗噴嘴(35)。
5.根據權利要求1所述的一種高低并列式難降解廢水處理裝置,其特征在于,厭氧區(27)、好氧區(28)和缺氧區(31)分別設置第二折流板(11)、第三折流板(14)和第四折流板(16)將它們分隔若干首尾相接的區域,其內懸掛柔性填料。
6.根據權利要求2所述的一種高低并列式難降解廢水處理裝置,其特征在于,在第三過流口(23)與回流混合區(30)之間設置氣提回流區(22),氣提回流區(22)通過第五過流堰(21)與回流混合區(30)連通,底部設有曝氣部件。
7.根據權利要求1所述的一種高低并列式難降解廢水處理裝置,其特征在于,回流混合區(30)內設置混合折流板(19)。
8.根據權利要求1所述的一種高低并列式難降解廢水處理裝置,其特征在于,第一過流口(13)為可調控的,由過水孔與可升降的閘板組成。
9.根據權利要求6所述的一種高低并列式難降解廢水處理裝置,其特征在于,回流過流孔(3)、第二過流口(20)、第三過流口(23)、第四過流口(17)、第五過流口(18)和第六過流口(7),其開孔高度均在靜態時流出方液面下10-20cm范圍內,第一過流堰(9)、第三過流堰(12)、第四過流堰(2)和第五過流堰(21)的高度與靜態時流出方的液面一致。
說明書
一種高低并列式難降解廢水處理裝置
技術領域
本發明涉及污水處理設備,具體地說是一種高低并列式難降解廢水處理裝置。
背景技術
難降解有機污水中難降解有機污染物具有化學結構穩定和難生物降解特性,能夠在環境及生物體內中長時間存在和富集,進而對生態環境和人類健康造成嚴重威脅。然而,目前對難降解有機廢水,特別是高濃度難降解有機廢水的處理技術還很不成熟。
目前,國內外對難降解有機廢水的處理方法主要有物化法、氧化法和生物法。物化法處理難降解有機廢水的方法主要有吸附法、萃取法、蒸餾法和各種膜處理技術等。氧化法就是用化學氧化劑處理有機廢水可提高廢水可生化性,或直接氧化降解廢水中有機物使之穩定化。常用的氧化劑有O3、H2O2、KMnO4等。而隨著化學氧化法研究的深入,通過光輻射、電、聲、催化劑等方法產生活性極強的自由基(如·OH),相對于早期的常規氧化反應,把這類反應稱為高級氧化技術,具有反應能力強、效率高、適應性廣等特點。生物法是目前應用最廣泛的一種有機廢水處理方法,對于難降解有機廢水,傳統的活性污泥、生物膜法、厭氧法等處理效果欠佳。研究實現難降解有機廢水的生物處理主要有兩類途徑:一類是以投加有效降解的微生物或工程菌、酶以及投加營養物和基質類似物的生物強化技術;另一類是采用添加粉末活性炭活性污泥工藝以及組合厭氧/好氧工藝等優化組合的生物處理工藝。
以上闡述的這些技術均存在各自的特點和優勢,但從應用的情況來看,也明顯存在自身的不足:或處理效率低,或設備建設和維護費用高,或運行費用高,或工藝復雜、占地面積大等。因此,開發難降解廢水處理效率高、應用性廣、投資少、占地小、運行費用低、操作管理易的污水處理設備是十分必要的。
發明內容
本發明的目的在于克服現有難降解污水處理技術中存在的種種不足,提供一種處理效率高、適應性廣、投資少、占地小、運行費用低和操作管理易的高低并列式難降解廢水處理裝置。
本發明提供的一種高低并列式難降解廢水處理裝置,由氣浮分離區、曝氣鐵炭區、厭氧區、好氧區、回流混合區、缺氧區及沉降分離區組成,它們的空間排列為回流混合區置于中間,氣浮分離區、曝氣鐵炭區、厭氧區、好氧區、沉降分離區及缺氧區在其四周依次排列,氣浮分離區與曝氣鐵炭區等高,厭氧區與好氧區等高,回流混合區、缺氧區及沉降分離區等高,上述等高區與等高區之間的空間高度依次分別降低20~50cm,形成推動水質流動的位差,厭氧區、好氧區和沉降分離區分別開有流向回流混合區的第一過流口、第二過流口和第三過流口,回流混合區開有自然流進缺氧區的第四過流口,其中,氣浮分離區上設有原水及藥劑加入口,氣浮分離區通過第一過流堰與曝氣鐵炭區連通,曝氣鐵炭區通過第二過流堰與厭氧區連通,厭氧區通過第三過流堰與好氧區連通,缺氧區通過第五過流口與布設有出水口的沉降分離區連通。
氣浮分離區對應原水及藥劑加入口和第一過流堰位置的兩端分別布設有氣提回流混合區和氣提混合區,氣提回流混合區和氣提混合區的底部設置有曝氣部件;其中,氣提回流混合區通過第四過流堰與氣浮分離區連通,通過回流過水孔與曝氣鐵炭區間連通;氣提混合區通過第六過流口與氣浮分離區連通。
另外,曝氣鐵炭區通過第一折流板分隔成若干單元格,曝氣鐵炭區與氣提回流混合區通過回流過水孔連通的一個單元格為沉渣分離區,其余單元格為填料裝填區,其中,曝氣鐵炭區通過沉渣分離區上的第二過流堰與厭氧區連通;填料裝填區的支撐板上布設曝氣頭和鋪設有鐵屑和焦炭填料,支撐板下面布設沖洗噴嘴;厭氧區、好氧區和缺氧區分別設置第二折流板、第三折流板和第四折流板將它們分隔若干首尾相接的區域,其內懸掛柔性填料;在第三過流口與回流混合區之間設置氣提回流區,氣提回流區里設置混合折流板,底部設有曝氣部件。
本發明耦合氣浮分離和曝氣鐵炭技術對原水進行預處理、組合優化厭氧、好氧、缺氧工藝進行深度處理,具有效率高、操作成本低、加工容易、操作簡便等特點,易于推廣應用。







