申請日2015.08.20
公開(公告)日2016.01.20
IPC分類號C02F9/10; C02F1/44; C02F1/08; C02F103/18
摘要
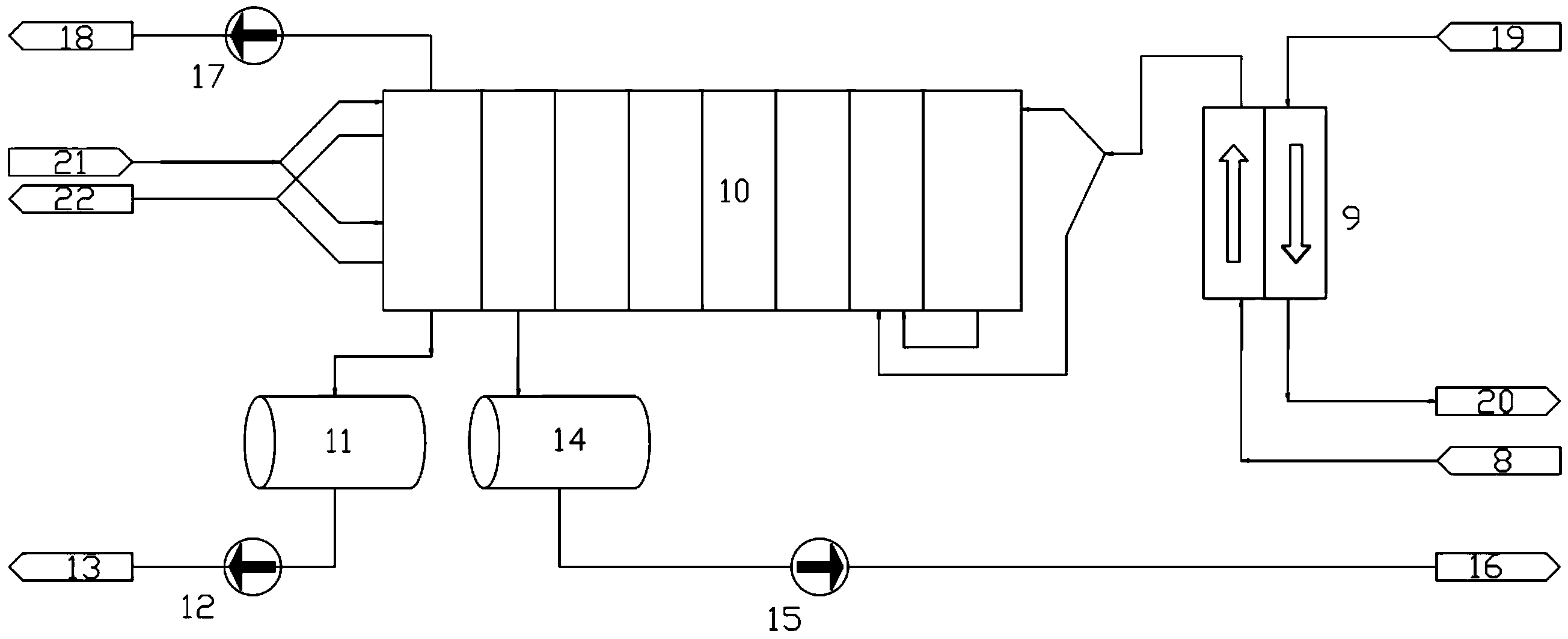
本實用新型公開了一種用于脫硫廢水濃縮處理的膜蒸餾系統,其目的在于提供一種結構簡單、安裝維護方便、操作運行安全、占地面積小、運行成本低廉、可充分利用低溫余熱資源等特點的用于脫硫廢水濃縮處理的膜蒸餾系統,本實用新型所述系統包括依次相連的脫硫廢水儲罐、砂濾器、保安過濾器、超濾膜組件、超濾產水罐、板式預熱器和膜蒸餾組件;所述膜蒸餾組件產水側出口連接有膜蒸餾產水罐,所述膜蒸餾組件濃水側出口連接有膜蒸餾濃水罐,所述膜蒸餾組件氣體出口接通大氣。
權利要求書
1.一種用于脫硫廢水濃縮處理的膜蒸餾系統,其特征在于:所述系統包括依次相連的脫硫廢水儲罐、砂濾器、保安過濾器、超濾膜組件、超濾產水罐、板式預熱器和膜蒸餾組件;所述膜蒸餾組件產水側出口連接有膜蒸餾產水罐,所述膜蒸餾組件濃水側出口連接有膜蒸餾濃水罐,所述膜蒸餾組件氣體出口接通大氣。
2.根據權利要求1所述的用于脫硫廢水濃縮處理的膜蒸餾系統,其特征在于:所述脫硫廢水儲罐與所述砂濾器之間設有進水泵。
3.根據權利要求1所述的用于脫硫廢水濃縮處理的膜蒸餾系統,其特征在于:所述膜蒸餾產水罐經膜蒸餾產水泵通向系統外。
4.根據權利要求1所述的用于脫硫廢水濃縮處理的膜蒸餾系統,其特征在于:所述膜蒸餾濃水罐經膜蒸餾濃水泵通向系統外。
5.根據權利要求1所述的用于脫硫廢水濃縮處理的膜蒸餾系統,其特征在于:所述膜蒸餾組件氣體出口經真空泵通向大氣。
6.根據權利要求1所述的用于脫硫廢水濃縮處理的膜蒸餾系統,其特征在于,所述膜蒸餾組件包括3-6個依次設置的蒸餾模塊,每個所述蒸餾模塊中PTFE 膜與冷凝壁交替排列。
說明書
一種用于脫硫廢水濃縮處理的膜蒸餾系統
技術領域
本實用新型涉及廢水脫硫處理領域,特別是涉及一種用于脫硫廢水濃縮處理的膜蒸餾系統。
背景技術
電廠脫硫廢水主要含有Na+、K+、Ca2+、Mg2+、Cl-、SO42-、F-、NO3-、重金屬以及懸浮物等多種污染物,具有成分十分復雜、結垢性強、腐蝕性強的特點。
目前脫硫廢水處理常規方法采用的三聯箱絮凝沉淀工藝只能去除其中的懸浮物和絕大部分的重金屬離子,而傳統的熱法處理技術又存在易結垢、易腐蝕、運行成本和投資成本均很高的問題。
膜蒸餾技術是一種采用疏水微孔膜以膜兩側蒸汽壓差為傳質驅動力的膜分離過程,是將膜技術和蒸發技術結合起來的新型膜技術,膜蒸餾技術具有膜法和蒸發法共同的優點,應用在脫硫廢水濃縮處理領域較有優勢。
發明內容
本實用新型的目的在于彌補現有脫硫廢水濃縮處理技術的不足,在保證較現有技術運行費用低廉、操作簡單方便、運行可靠的前提下,提供一種用于脫硫廢水濃縮處理的膜蒸餾系統。
為達上述目的,本實用新型一種用于脫硫廢水濃縮處理的膜蒸餾系統,所述系統包括依次相連的脫硫廢水儲罐、砂濾器、保安過濾器、超濾膜組件、超濾產水罐、板式預熱器和膜蒸餾組件;所述膜蒸餾組件產水側出口連接有膜蒸餾產水罐,所述膜蒸餾組件濃水側出口連接有膜蒸餾濃水罐,所述膜蒸餾組件氣體出口接通大氣。
其中所述脫硫廢水儲罐與所述砂濾器之間設有進水泵。
其中所述膜蒸餾產水罐經膜蒸餾產水泵通向系統外。
其中所述膜蒸餾濃水罐經膜蒸餾濃水泵通向系統外。
其中所述膜蒸餾組件氣體出口經真空泵通向大氣。
其中所述膜蒸餾組件包括3-6個依次設置的蒸餾模塊,每個蒸餾模塊中 PTFE膜與冷凝壁交替排列。
本實用新型用于脫硫廢水濃縮處理的膜蒸餾系統與現有技術不同之處在于本實用新型取得了如下技術效果:
1、本實用新型采用的膜為疏水性的PTFE膜,膜的非極性減弱了廢水與膜之間的相互作用,且與常規壓力驅動的膜過程相比,壓力要低許多,所以抗污染性較好:故相應的對廢水的預處理要求也隨之降低;可適應的廢水含鹽量濃度也更高,可以做到其他膜分離技術達不到的濃縮倍數(可將廢水濃縮至鹽份接近飽和的濃度);系統清洗周期也相應延長,膜壽命也得以延長;
2、本實用新型利用只可以透過水蒸汽的PTFE膜將廢水與水蒸汽及其冷凝液分隔開:故無需另外設置氣液分離器及除霧器等裝置,故占地面積大大降低;得到的蒸餾水純度更高;
3、本實用新型采用疏水性的PTFE膜,液體不易在膜表面附著,即結垢性物質也難易附著在膜表面,結垢傾向降低;對酸、堿和氯離子均不敏感,較一般采用的金屬材質耐腐蝕性要好;
4、本實用新型設計為多效(一般為3~6效)的潛熱回收形式:可以降低系統能耗;也可根據處理量的變化靈活增減運行組件的數量,適應廢水處理量變化能力較強;
5、本實用新型系統運行溫度、壓力均較低,運行和操作的安全性相對較高;設備結構簡單,高度低,噪聲小;重量輕,安裝、維護方便。







