申請日2015.08.20
公開(公告)日2015.12.30
IPC分類號B01D33/03; B07B1/28; B01D33/60; B01D33/41
摘要
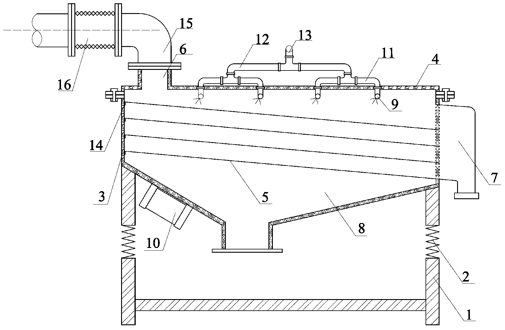
一種含油污泥中顆粒物多級振動篩分設備,包括箱體,箱體的底部為流化油泥出料斗,箱體的上部和頂蓋連接,箱體通過彈簧固定在支架上,頂蓋上設有進料口,進料口和含油污泥輸入管聯通,頂蓋內側和多級噴淋水支管連接,噴淋水支管和進水干管出口連接,進水干管進口和進水管路聯通,箱體內設多級若干掛鉤用于固定兩層以上的篩網,篩網在箱體內傾斜固定,篩網最低處的箱體處設有顆粒物出料斗,流化油泥出料斗的外部固定有兩臺以上的振動電機,通過振動電機帶動箱體震動,進而帶動篩網,本實用新型對含油污泥的流化中顆粒物篩分效果好,且便于操作。
權利要求書
1.一種含油污泥中顆粒物多級振動篩分設備,包括箱體(3), 其特征在于:箱體(3)的底部為流化油泥出料斗(8),箱體(3)的 上部和頂蓋(4)連接,箱體(3)通過彈簧(2)固定在支架(1)上, 頂蓋(4)上設有進料口(6),進料口(6)和含油污泥輸入管聯通, 頂蓋(4)內側和多級噴淋水支管(9)連接,噴淋水支管(9)和進 水干管(11)出口連接,進水干管(11)進口和進水管路聯通,箱體 (3)內設多級若干掛鉤(14)用于固定兩層以上的篩網(5),篩網 (5)在箱體(3)內傾斜固定,篩網(5)最低處的箱體3處設有顆粒 物出料斗(7),流化油泥出料斗(8)的外部固定有兩臺以上的振動 電機(10)。
2.根據權利要求1所述的一種含油污泥中顆粒物多級振動篩分設 備,其特征在于:所述的箱體(3)、頂蓋(4)的內側或外側加保溫 層。
3.根據權利要求1所述的一種含油污泥中顆粒物多級振動篩分設 備,其特征在于:所述的箱體(3)長2000~2500mm、寬500~1000mm, 含流化油泥出料斗(8)到頂蓋(4)的高800~1500mm,支架(1)高 500~800mm。
4.根據權利要求1所述的一種含油污泥中顆粒物多級振動篩分設 備,其特征在于:所述的彈簧(2)采用4或6個,彈簧(2)高200~300mm。
5.根據權利要求1所述的一種含油污泥中顆粒物多級振動篩分設 備,其特征在于:所述的進料口(6)直徑150~200mm。
6.根據權利要求1所述的一種含油污泥中顆粒物多級振動篩分設 備,其特征在于:所述的顆粒物出料斗(7)為椎體形,底寬 500~1000mm,長200~300mm,出口直徑50~100mm。
7.根據權利要求1所述的一種含油污泥中顆粒物多級振動篩分設 備,其特征在于:所述的噴淋水支管(9)長300~800mm,內徑 10~15mm,進水干管(11)直徑15~12mm,總管(12)直徑20~25mm。
8.根據權利要求1所述的一種含油污泥中顆粒物多級振動篩分設 備,其特征在于:所述的流化泥漿出料斗(8)底長2000~2500mm, 寬500~1000mm,高300~500mm,出口直徑150~200mm。
9.根據權利要求1所述的一種含油污泥中顆粒物多級振動篩分設 備,其特征在于:所述的篩網(5)為2~4層,頂層篩孔直徑10mm, 底層篩孔直徑2~5mm,篩網(5)安裝傾角10~30°,各層間距 100~200mm。
10.根據權利要求1所述的一種含油污泥中顆粒物多級振動篩分 設備,其特征在于:所述的振動電機(10)的單臺功率0.5~1.0KW, 頻率500~1000rpm,振幅3~5m。
說明書
一種含油污泥中顆粒物多級振動篩分設備
技術領域
本實用新型屬于油田污染治理技術領域,尤其涉及一種含油污泥中顆粒物多級振動篩分設備。
背景技術
含油污泥是指在石油開采、運輸(輸送)、含油污水處理過程中產生的固體廢棄物,坑儲或堆放不但占用大量耕地,而且對周圍土壤、水體、空氣環境都會造成極大的危害,一旦被污染將很難恢復。同時,含油污泥也有再利用價值。化學調質分離法是國內外目前含油污泥主流處理工藝,適合石油類含量高于10%的油泥,操作較為簡便、設備投資少,可以將污染治理與石油類回收有機的統一起來。含油污泥的化學調質分離法一般是在稀釋的條件下,通過采用超聲波或加熱的方式破壞油泥的穩定體系,實現石油類與泥水的分離并回收。
含油污泥調質前的預處理極為重要,預處理又稱含油污泥的流化與除雜。含油污泥中的雜物是指編織袋、塑料袋、樹枝;塊狀固體、大小顆粒物等。去除含油污泥中的雜物,是減小后續工段物料輸送管路暢通,減少機泵設備機械磨損必要措施;此外,油泥調質分離及其在單元操作之間的輸送也要求其調理至固形物含量為10~15%的流化狀態。
中國專利“一種含油污泥兩級流化除雜裝置”(專利號CN203256100U)是一種較好的含油污泥流化除雜裝置,然而,含油污泥調質分離前預處理需要熱水流化,且整個過程的工藝水循環使用,能耗損失大。
發明內容
為了克服上述現有技術的缺點,本實用新型的目的在于提供一種含油污泥中顆粒物多級振動篩分設備,使含油污泥預處理能夠取得更好的效果,且便于操作。
為了達到上述目的,本實用新型采取的技術方案為:
一種含油污泥中顆粒物多級振動篩分設備,包括箱體3,箱體3的底部為流化油泥出料斗8,箱體3通過彈簧2固定在支架1上,箱體3的上部和頂蓋4連接,頂蓋4上設有進料口6,進料口6和含油污泥輸入管聯通,頂蓋4內側和多級噴淋水支管9連接,噴淋水支管9和進水干管11出口連接,進水干管11進口和進水管路聯通,箱體3內設多級若干掛鉤14用于固定兩層以上的篩網5,篩網5在箱體3內傾斜固定,箱體3在篩網5末端一側設有顆粒物出料斗7,流化油泥出料斗8的外部固定有兩臺以上的振動電機10。
所述的箱體3、頂蓋4的外側加保溫層。
所述的箱體3長2000~2500mm、寬500~1000mm,含流化油泥出料斗8到頂蓋4的高800~1500mm,支架1高500~800mm。
所述的彈簧2采用4或6個,彈簧2高200~300mm。
所述的進料口6直徑150~200mm。
所述的顆粒物出料斗7為椎體形,底寬500~1000mm,長200~300mm,出口直徑50~100mm。
所述的噴淋水支管9長300~800mm,內徑10~15mm,進水干管11直徑15~12mm,總管12直徑20~25mm。
所述的流化泥漿出料斗8底長2000~2500mm,寬500~1000mm,高300~500mm,出口直徑150~200mm。
所述的篩網5為2~4層,頂層篩孔直徑10mm,底層篩孔直徑2~5mm,篩網5安裝傾角10~30°,各層間距100~200mm。
所述的振動電機10的單臺功率0.5~1.0KW,頻率500~1000rpm,振幅3~5m。
本實用新型加工制作方便、操作簡便,對含油污泥的流化中顆粒物篩分效果好,是含油污泥化學調質分離實現穩定高效處理的關鍵裝置之一。







