申請日2015.07.24
公開(公告)日2015.10.28
IPC分類號C02F1/04
摘要
本發明公開了一種應用于高含鹽高結垢率廢水的翻騰蒸發系統及工藝,該系統包括蒸發器,在蒸發器內設有換熱管束,在換熱管束下方設有曝氣裝置,曝氣裝置與射流裝置相連接。該工藝,包括以下步驟:將廢水輸入蒸發器內使蒸發器的換熱管束浸沒在廢水中;向換熱管束內通過蒸汽,使蒸發器內的廢水升溫使廢水在液面分離出水蒸汽;采用蒸汽收集裝置收集蒸發器內蒸汽;開啟射流裝置,使蒸發器內的部分蒸汽引入曝氣裝置從而加大廢水上升過程對換熱管束外壁沖刷。目的提供一種結構簡單,使用方便,能夠有效避免高含鹽高結垢率廢水在蒸發過程中的結垢問題,同時能夠有效降低能耗,提高能效的應用于高含鹽高結垢率廢水的翻騰蒸發系統及工藝。
權利要求書
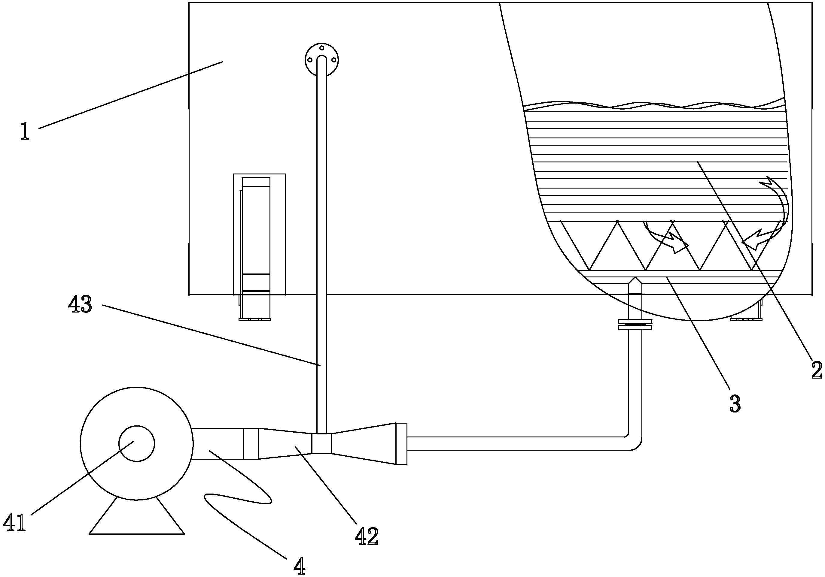
1.一種應用于高含鹽高結垢率廢水的翻騰蒸發系統,包括蒸 發器(1),其特征在于:在所述蒸發器(1)內設有換熱管束(2), 在所述換熱管束(2)下方設有曝氣裝置(3),所述曝氣裝置(3)與 一能將蒸發器(1)上部蒸汽輸送到所述曝氣裝置(3)內從而增強廢 水上升過程對換熱管束(2)外壁沖刷的射流裝置(4)相連接。
2.根據權利要求1所述的一種應用于高含鹽高結垢率廢水的 翻騰蒸發系統,其特征在于所述的射流裝置(4)包括有射流泵(41), 在所述射流泵(41)上連接有射流器(42),在所述射流器(42)進 氣口上設有進氣管(43),所述進氣管(43)一端與設置在蒸發器(1) 上端的出氣口相連接,所述射流器(42)出口端與所述曝氣裝置(3) 相連接。
3.根據權利要求1所述的一種應用于高含鹽高結垢率廢水的 翻騰蒸發系統,其特征在于所述的曝氣裝置(3)包括有設置在換熱 管束(2)下方的多根曝氣管(31),在所述曝氣管(31)上設有若干 曝氣孔。
4.一種高含鹽高結垢率廢水的翻騰蒸發工藝,其特征在于包 括以下步驟:
A、將廢水輸入蒸發器(1)內使蒸發器(1)的換熱管束(2) 浸沒在廢水中;
B、向換熱管束(2)內通過蒸汽,使蒸發器(1)內的廢水升 溫使廢水在液面分離出水蒸汽;
C、采用蒸汽收集裝置收集蒸發器(1)內蒸汽;
D、開啟射流裝置(4),使蒸發器(1)內的部分蒸汽引入曝氣 裝置(3)從而加大廢水上升過程對換熱管束(2)外壁沖刷。
5.根據權利要求4所述的一種高含鹽高結垢率廢水的翻騰蒸 發工藝,其特征在于步驟A中的廢水經過預加熱后再輸入蒸發器(1)。
6.根據權利要求4所述的一種高含鹽高結垢率廢水的翻騰蒸 發工藝,其特征在于步驟C中蒸汽經過除霧裝置除去霧滴后被送入 蒸汽壓縮機加壓升溫,然后輸送到加熱器使用。
說明書
一種應用于高含鹽高結垢率廢水的翻騰蒸發系統及工藝
技術領域
本發明涉及一種應用于高含鹽高結垢率廢水的翻騰蒸發系統,本 發明還涉及一種采用上述翻騰蒸發系統的廢水處理工藝。
背景技術
高鹽高結垢率的廢水總含鹽質量分數至少1%。其主要來自化工 廠及石油和天然氣的采集加工等。這種廢水含有包括鹽、油、有機重 金屬和放射性物質在內的多種物質,且產生途徑廣泛,水量也逐年增 加。去除這類含鹽污水中的有機污染物對環境造成的影響至關重要。
高含鹽量有機廢水的有機物根據生產過程不同,所含有機物的種 類及化學性質差異較大,但所含鹽類物質多為Cl-、SO42-、Na+、Ca2+ 等鹽類物質。
對于高含鹽廢水的處理,一般有以下幾種工藝:
1、物化法
利用物理化學方法將廢水中的油類、重金屬離子等通過物理或化 學的方式從廢水中分離處理。采用物化處理,投資成本大,運行費用 高,且處理后水質難以回用,處理效果差。
2、生化法
對于高含鹽高有機廢水,也有運用生化法進行處理,但在實際運 行中,利用生化處理方法處理高含鹽高有機廢水很難穩定運行,出水 水質也不夠穩定。這是因為:a、雖然廢水中所含鹽類物質也是微生 物細胞液的重要組成部分,但鹽類物質含量過高可能對微生物的生長 產生抑制作用,妨礙微生物的生長;b、鹽濃度高、滲透壓高、微生 物細胞脫水引起細胞原生質分離;鹽析作用使脫氫酶活性降低;氯離 子高對細菌有毒害作用;c、鹽濃度高,廢水的密度增加,活性污泥 易上浮流失,從而嚴重影響生物處理系統的凈化效果。
3、蒸發法
蒸發法是一種最古老、最常用的脫鹽方法。目前工業廢水的蒸發 脫鹽技術基本上均是從海水脫鹽淡化技術基礎上發展而成。蒸發法就 是把含鹽水加熱使之沸騰蒸發,再把蒸汽冷凝成淡水的過程。
一般高含鹽廢水成分復雜,SS含量較高,硬度較大,在蒸發的 過程當中較易結垢,影響蒸發的正常進行。
故此,現有的應用于高含鹽高結垢率廢水的蒸發系統有待于進一 步完善。
發明內容
本發明的目的是為了克服現有技術中的不足之處,提供一種結構 簡單,使用方便,能夠有效避免高含鹽高結垢率廢水在蒸發過程中的 結垢問題,同時能夠有效降低能耗,提高能效的應用于高含鹽高結垢 率廢水的翻騰蒸發系統。
本發明另一個目的是提供一種采用上述翻騰蒸發系統處理廢水 的工藝。
為了達到上述目的,本發明采用以下方案:
一種應用于高含鹽高結垢率廢水的翻騰蒸發系統,包括蒸發器, 其特征在于:在所述蒸發器內設有換熱管束,在所述換熱管束下方設 有曝氣裝置,所述曝氣裝置與一能將蒸發器上部蒸汽輸送到所述曝氣 裝置內從而增強廢水上升過程對換熱管束外壁沖刷的射流裝置相連 接。
如上所述的一種應用于高含鹽高結垢率廢水的翻騰蒸發系統,其 特征在于所述的射流裝置包括有射流泵,在所述射流泵上連接有射流 器,在所述射流器進氣口上設有進氣管,所述進氣管一端與設置在蒸 發器上端的出氣口相連接,所述射流器出口端與所述曝氣裝置相連 接。
如上所述的一種應用于高含鹽高結垢率廢水的翻騰蒸發系統,其 特征在于所述的曝氣裝置包括有設置在換熱管束下方的多根曝氣管, 在所述曝氣管上設有若干曝氣孔。
一種高含鹽高結垢率廢水的翻騰蒸發工藝,其特征在于包括以下 步驟:
A、將廢水輸入蒸發器內使蒸發器的換熱管束浸沒在廢水中;
B、向換熱管束內通過蒸汽,使蒸發器內的廢水升溫使廢水在 液面分離出水蒸汽;
C、采用蒸汽收集裝置收集蒸發器內蒸汽;
D、開啟射流裝置,使蒸發器內的部分蒸汽引入曝氣裝置從而 加大廢水上升過程對換熱管束外壁沖刷。
如上所述的一種高含鹽高結垢率廢水的翻騰蒸發工藝,其特征在 于步驟A中的廢水經過預加熱后再輸入蒸發器。
如上所述的一種高含鹽高結垢率廢水的翻騰蒸發工藝,其特征在 于步驟C中蒸汽經過除霧裝置除去霧滴后被送入蒸汽壓縮機加壓升 溫,然后輸送到加熱器使用。
綜上所述,本發明相對于現有技術其有益效果是:
一、本發明中通過熱回收系統回收蒸發系統冷凝蒸餾水的能量, 將常溫的廢水進行預先加熱,回收蒸發系統外排蒸餾水的熱量,達到 系統熱量回收,熱能利用效率提高;
二、本發明中蒸發器采用浸沒式設計,廢水在蒸發過程中,在曝 氣裝置的作用下一直處于翻騰湍流狀態,廢水及蒸汽對換熱管表面不 停沖刷,廢水中懸浮物以及在蒸發過程中產生的晶體或垢片無法在換 熱管表面附著形成結垢,換熱管表面可長時間保持光潔,保證了蒸發 器的長期高效運行。
三、本發明翻騰蒸發系統結構簡單,使用方便,能夠有效避免高 含鹽高結垢率廢水在蒸發過程中的結垢問題,同時能夠有效降低能 耗,提高能效。







