申請日2015.06.11
公開(公告)日2015.11.04
IPC分類號C02F3/32; C02F3/30
摘要
本實用新型公開了一種用于處理農村生活污水的集約型裝置,涉及污水處理領域,包括順次連接的厭氧消化系統好氧消化池和生態凈化系統;厭氧消化系統包括順次連接的一級厭氧消化池、二級厭氧消化池和三級厭氧消化池;一級厭氧消化池、二級厭氧消化池、三級厭氧消化池和好氧消化池的容積計算公式均為:V=aNqt/(24×1000),N為服務的人口數量;a為污水的產生系數0.7~0.9;q為人均用水量80~120L/d,t為水在對應消化池中停留的時間。本實用新型不僅占地面積較小,而且成本較低。
摘要附圖
權利要求書
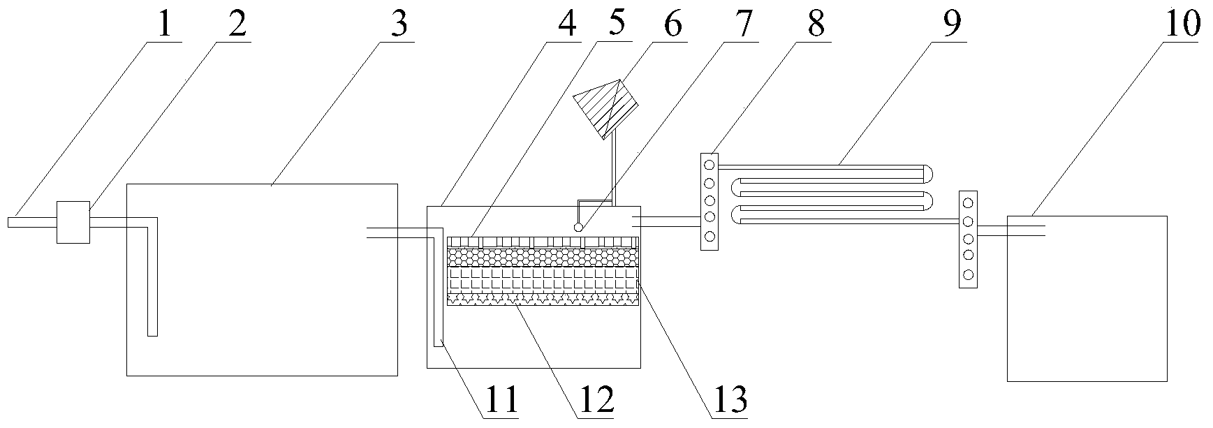
1.一種用于處理農村生活污水的集約型裝置,包括順次連接的 厭氧消化系統(3)、好氧消化池(4)和生態凈化系統;所述厭氧消 化系統(3)包括順次連接的一級厭氧消化池(16)、二級厭氧消化池 (20)和三級厭氧消化池(21);
其特征在于:所述一級厭氧消化池(16)、二級厭氧消化池(20)、 三級厭氧消化池(21)和好氧消化池(4)的容積計算公式均為:V= aNqt/(24*1000),所述N為服務的人口數量;所述a為污水的產生 系數0.7~0.9;所述q為人均用水量80~120L/d,所述t為水在對應 消化池中停留的時間,水在一級厭氧消化池(16)中停留的時間為4~ 7天、水在二級厭氧消化池(20)中停留的時間為2~4天、水在三 級厭氧消化池(21)中停留的時間為2~4天、水在好氧消化池(4) 中停留的時間為2~4天。
2.如權利要求1所述的用于處理農村生活污水的集約型裝置, 其特征在于:所述一級厭氧消化池(16)的內部設置有厭氧微生物填 料層(15),所述厭氧微生物填料層(15)與一級厭氧消化池頂部平 行,所述厭氧微生物填料層(15)的頂部與一級厭氧消化池(16)頂 部之間的距離為80~100cm。
3.如權利要求1所述的用于處理農村生活污水的集約型裝置, 其特征在于:所述一級厭氧消化池(16)和二級厭氧消化池(20)通 過第一連通管(17)連接,所述第一連通管(17)包括進水端和出水 端,所述進水端高于出水端,所述進水端位于一級厭氧消化池(16) 的內部,所述出水端位于二級厭氧消化池(20)的內部,所述進水端 與一級厭氧消化池(16)內頂之間的距離為15~30cm,出水端與二 級厭氧消化池(20)內底之間的距離為30~50cm。
4.如權利要求3所述的用于處理農村生活污水的集約型裝置, 其特征在于:所述二級厭氧消化池(20)和三級厭氧消化池(21)通 過第二連通管(18)連接,所述第二連通管(18)包括進水端和出水 端,所述進水端高于出水端,所述進水端位于二級厭氧消化池(20) 的內部,所述出水端位于三級厭氧消化池(21)的內部,所述進水端 與二級厭氧消化池(20)內頂之間的距離為15~30cm,所述出水端 與三級厭氧消化池(21)內底之間的距離為30~50cm。
5.如權利要求1所述的用于處理農村生活污水的集約型裝置, 其特征在于:所述好氧消化池(4)通過第三連通管(11)與厭氧消 化系統(3)的三級厭氧消化池(21)連接,所述第三連通管(11) 包括進水端和出水端,所述進水端高于出水端,所述進水端與三級厭 氧消化池(21)內頂之間的距離為15~30cm,所述出水端與好氧消 化池(4)內底之間的距離為15~30cm。
6.如權利要求1所述的用于處理農村生活污水的集約型裝置, 其特征在于:所述好氧消化池(4)的內部設置有曝氣裝置(7)和好 氧凈化裝置,所述曝氣裝置(7)位于好氧凈化裝置的上方,所述好 氧凈化裝置包括自上而下依次設置與好氧微生物填料層(5)、秸稈碳 層、礫石層(13)和濾網(12),好氧微生物填料層(5)與好養消化 池(4)內底之間的距離為30~50cm,其橫截面呈方形,其表面積與 好樣消化池底面積相等。
7.如權利要求1所述的用于處理農村生活污水的集約型裝置, 其特征在于:所述生態凈化系統包括若干引流單元(8)和若干種植 管(9),每個引流單元(8)上均設置有若干引流管,所述每個引流 管均與一個種植管(9)對應,所述每個引流管均為一端與好氧消化 池(4)連接,另一端通過對應的種植管(9)與清水收集池連接。
8.如權利要求1至7中任一項所述的用于處理農村生活污水的 集約型裝置,其特征在于:所述一級厭氧消化池(16)與二級厭氧消 化池(20)、三級厭氧消化池(21)、好氧消化池(4)的體積比為3~ 5:1:1:1~2。
說明書
一種用于處理農村生活污水的集約型裝置
技術領域
本實用新型涉及污水處理領域,具體涉及一種用于處理農村生活 污水的集約型裝置。
背景技術
隨著農村經濟的發展和城鎮化的不斷推進,農村耕種的農藥和肥 料殘留、養殖污水排放量急劇增加,對自然水體和土壤造成的嚴重的 污染,同時農村分散式生活產生的大量污水也直接排入河流和湖泊中, 造成嚴重的水體、土壤污染,水體和土壤被污染后,有害化合物、重 金屬等污染物通過食物鏈進入人體,導致農村癌癥人口急劇增加,嚴 重損害了農村人口的健康。
美國、日本等發達國家處理農村生活污水積累了豐富的經驗,主 要是將污染物就地無害化處理和資源化處理。就地處理的方法為:將 污染物排入土地或濕地等自然系統,進行自然分解;資源化處理的方 法為:將污染物排入砂濾池、一體化好氧處理系統、凈化槽等人工處 理系統,不僅能夠將污染物進行凈化,而且能夠得到生物肥料。
采用就地無害化處理和資源化處理的能量消耗較少、成本較低、 運行簡單、管理方便,符合我國農村發展落后、技術含量低、人才緊 缺、自動化程度低、經濟滯后的現狀。
申請號為201010139475.0的實用新型專利公開了一種生活污水 處理裝置,該裝置包括順次連接的沉砂池、厭氧消化池和生態凈化濾 池,采用該方法處理后的污水能夠達到國家污水綜合排放標準 GB8978-1996的一級要求。但該裝置的占地面積較大,制作成本較高, 結構復雜、管理維護難度大,不適應農村地區使用。
實用新型內容
針對現有技術中存在的缺陷,本實用新型的目的在于提供一種用 于處理農村生活污水的集約型裝置,不僅占地面積較小,而且運行管 理方便、建造和維護成本較低。
為達到以上目的,本實用新型采取的技術方案是:一種用于處理 農村生活污水的集約型裝置,包括順次連接的厭氧消化系統、好氧消 化池和生態凈化系統;所述厭氧消化系統包括順次連接的一級厭氧消 化池、二級厭氧消化池和三級厭氧消化池;
所述一級厭氧消化池、二級厭氧消化池、三級厭氧消化池和好氧 消化池的容積計算公式均為:V=aNqt/(24*1000),所述N為服務 的人口數量;所述a為污水的產生系數0.7~0.9;所述q為人均用水 量80~120L/d,所述t為水在對應消化池中停留的時間,水在一級 厭氧消化池中停留的時間為4~7天、水在二級厭氧消化池中停留的 時間為2~4天、水在三級厭氧消化池中停留的時間為2~4天、水在 好氧消化池中停留的時間為2~4天。
在上述技術方案的基礎上,所述一級厭氧消化池的內部設置有厭 氧微生物填料層,所述厭氧微生物填料層與一級厭氧消化池頂部平行, 所述厭氧微生物填料層的頂部與一級厭氧消化池頂部之間的距離為 80~100cm。
在上述技術方案的基礎上,所述一級厭氧消化池和二級厭氧消化 池通過第一連通管連接,所述第一連通管包括進水端和出水端,所述 進水端高于出水端,所述進水端位于一級厭氧消化池的內部,所述出 水端位于二級厭氧消化池的內部,所述進水端與一級厭氧消化池內頂 之間的距離為15~30cm,出水端與二級厭氧消化池內底之間的距離 為30~50cm。
在上述技術方案的基礎上,所述二級厭氧消化池和三級厭氧消化 池通過第二連通管連接,所述第二連通管包括進水端和出水端,所述 進水端高于出水端,所述進水端位于二級厭氧消化池的內部,所述出 水端位于三級厭氧消化池的內部,所述進水端與二級厭氧消化池內頂 之間的距離為15~30cm,所述出水端與三級厭氧消化池內底之間的 距離為30~50cm。
在上述技術方案的基礎上,所述好氧消化池通過第三連通管與厭 氧消化系統的三級厭氧消化池連接,所述第三連通管包括進水端和出 水端,所述進水端高于出水端,所述進水端與三級厭氧消化池內頂之 間的距離為15~30cm,所述出水端與好氧消化池內底之間的距離為 15~30cm。
在上述技術方案的基礎上,所述好氧消化池的內部設置有曝氣裝 置和好氧凈化裝置,所述曝氣裝置位于好氧凈化裝置的上方,所述好 氧凈化裝置包括自上而下依次設置與好氧微生物填料層、秸稈碳層、 礫石層和濾網,好氧微生物填料層與好養消化池內底之間的距離為 30~50cm,其橫截面呈方形,其表面積與好樣消化池底面積相等。
在上述技術方案的基礎上,所述生態凈化系統包括若干引流單元 和若干種植管,每個引流單元上均設置有若干引流管,所述每個引流 管均與一個種植管對應,所述每個引流管均為一端與好氧消化池連接, 另一端通過對應的種植管與清水收集池連接。
在上述技術方案的基礎上,所述一級厭氧消化池與二級厭氧消化 池、三級厭氧消化池、好氧消化池的體積比為3~5:1:1:1~2。
與現有技術相比,本實用新型的優點在于:
(1)本實用新型中用于處理農村生活污水的集約型裝置,包括 相互連接的厭氧消化系統和好氧消化池,厭氧消化系統包括順次連接 的一級厭氧消化池、二級厭氧消化池和三級厭氧消化池;其中,一級 厭氧消化池、二級厭氧消化池、三級厭氧消化池和好氧消化池的容積 計算公式均為:V=aNqt/(24*1000),所述N為服務的人口數量; 所述a為污水的產生系數0.7~0.9;所述q為人均用水量80~120L/d, 所述t為水在對應消化池中停留的時間,本與現有技術中根據經驗確 定消化池尺寸,容易造成占地面積較大,成本較高相比,實用新型根 據污水消化的時間確定消化池的尺寸,占地面積比較合理,制作成本 較低。
(2)本實用新型中用于處理農村生活污水的集約型裝置,包括 第一連通管、第二連通管和第三連通管,第一連通管、第二連通管和 第三連通管均包括進水端和出水端,每個進水端均高于對應的出水端, 所有進水端與對應消化池內頂之間的距離均為15~30cm,進入進水 端的水均為消化池內的上層清水;所有出水端與對應消化池內底之間 的距離均為30~50cm,出水端的水進入下一消化池后,均位于消化 池的底部,水由底部向上運動的過程中,其內部的雜質會發生自然沉 降而凈化。
(3)本實用新型中用于處理農村生活污水的集約型裝置,第一 連通管、第二連通管和第三連通管的高度依次降低,污水流動為溢滿 自流方式,無抽水動力系統,建造和維護費用低,能夠節約能源。
(4)本實用新型中用于處理農村生活污水的集約型裝置,包括 生態凈化系統,生態凈化系統包括種植管,種植管為迂回彎折的管道, 管道上種植有植物,植物能夠吸附水中的重金屬,N、P化合物,深 層凈化水質、美化環境,增加經濟效益。






