申請日2015.06.11
公開(公告)日2015.11.11
IPC分類號H04N7/18; H04N5/225; C02F3/02; H04N5/232
摘要
本發明公開了一種污水廠氧化溝水下圖像檢測設備防護裝置,包括一端開口的殼體;所述殼體內安裝有驅動裝置;所述驅動裝置驅動安裝在靠近所述殼體開口一端內的移動支架沿所述殼體軸線方向移動;所述移動支架遠離所述驅動裝置的一端設置在能隨所述移動支架移動的透明罩內,且所述透明罩內的移動支架上固定有安裝支架;所述殼體開口端與所述透明罩之間密封連接。本發明可以清晰地抓拍水質圖片。
摘要附圖
權利要求書
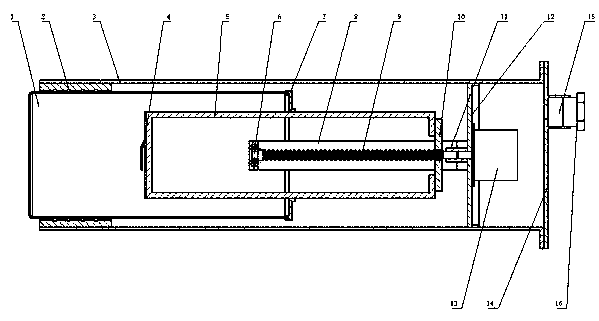
1.一種污水廠氧化溝水下圖像檢測設備防護裝置,其特征在于,包括一端開口的殼體(3);所述殼體(3)內安裝有驅動裝置(13);所述驅動裝置(13)驅動安裝在靠近所述殼體(3)開口一端內的移動支架(5)沿所述殼體(3)軸線方向移動;所述移動支架(5)遠離所述驅動裝置(13)的一端設置在能隨所述移動支架(5)移動的透明罩(1)內,且所述透明罩(1)內的移動支架(5)上固定有安裝支架(4);所述殼體(3)開口端與所述透明罩(1)之間密封連接。
2.根據權利要求1所述的污水廠氧化溝水下圖像檢測設備防護裝置,其特征在于,所述驅動裝置(13)為電機;所述電機安裝在電機座(12)上;所述電機座(12)固定在所述殼體(3)內;所述電機的輸出軸通過聯軸器(11)與螺桿(9)連接;滑塊(10)與所述螺桿(9)螺接,且所述滑塊(10)與所述移動支架(5)固定連接。
3.根據權利要求2所述的污水廠氧化溝水下圖像檢測設備防護裝置,其特征在于,所述螺桿(9)安裝在固定支架(8)內;所述滑塊(10)上開設有內壁與所述固定支架(8)外壁接觸的通孔;所述固定支架(8)兩端均安裝有位置傳感器。
4.根據權利要求3所述的污水廠氧化溝水下圖像檢測設備防護裝置,其特征在于,所述透明罩(1)遠離所述殼體(3)開口的一端通過固定卡(7)與所述移動支架(5)中部固定連接。
5.根據權利要求4所述的污水廠氧化溝水下圖像檢測設備防護裝置,其特征在于,所述殼體(3)靠近所述驅動裝置(13)的一端通過后蓋(14)密封;所述后蓋(14)上設有壓緊件(16);所述壓緊件(16)將密封環(15)壓緊在所述后蓋(14)外表面上。
說明書
一種污水廠氧化溝水下圖像檢測設備防護裝置
技術領域
本發明涉及一種污水廠氧化溝水下圖像檢測設備防護裝置。
背景技術
現有的污水廠氧化溝水下圖像檢測設備防護裝置不能防水防泥,導致檢測難度大,檢測結果不準確。
發明內容
本發明所要解決的技術問題是,針對現有技術不足,提供一種污水廠氧化溝水下圖像檢測設備防護裝置。
為解決上述技術問題,本發明所采用的技術方案是:一種污水廠氧化溝水下圖像檢測設備防護裝置,包括一端開口的殼體;所述殼體內安裝有驅動裝置;所述驅動裝置驅動安裝在靠近所述殼體開口一端內的移動支架沿所述殼體軸線方向移動;所述移動支架遠離所述驅動裝置的一端設置在能隨所述移動支架移動的透明罩內,且所述透明罩內的移動支架上固定有安裝支架;所述殼體開口端與所述透明罩之間密封連接。
所述驅動裝置為電機;所述電機安裝在電機座上;所述電機座固定在所述殼體內;所述電機的輸出軸通過聯軸器與螺桿連接;滑塊與所述螺桿螺接,且所述滑塊與所述移動支架固定連接。
所述螺桿安裝在固定支架內;所述滑塊上開設有內壁與所述固定支架外壁接觸的通孔;所述固定支架兩端均安裝有位置傳感器。
所述透明罩遠離所述殼體開口的一端通過固定卡與所述移動支架中部固定連接。
所述殼體靠近所述驅動裝置的一端通過后蓋密封;所述后蓋上設有壓緊件;所述壓緊件將密封環壓緊在所述后蓋外表面上。
與現有技術相比,本發明所具有的有益效果為:本發明圖像檢測設備(工業相機和閃光設備)可以安裝在透明罩內,透明罩定時往復運動,當透明罩往復運動到殼體外面時,內置的工業相機伴隨閃光燈抓拍外面的污泥中的圖片,通過連接在相機上的電纜將圖片送入電腦設備中進行識別處理,從而獲得水質情況,然后延時特定時間后透明罩縮回殼體內,下次再次拍攝時再伸出到殼體外,可以再次清晰地抓拍水質圖片。這種往復運動會因密封圈的摩擦使得透明罩表面的污泥附著物被清除,保持玻璃罩良好的透光效果。由于密封的緣故,殼體及透明罩內也不會進水,使用方便。






