申請日2016.05.12
公開(公告)日2016.11.30
IPC分類號B01F7/18; B01F15/00; C02F1/52
摘要
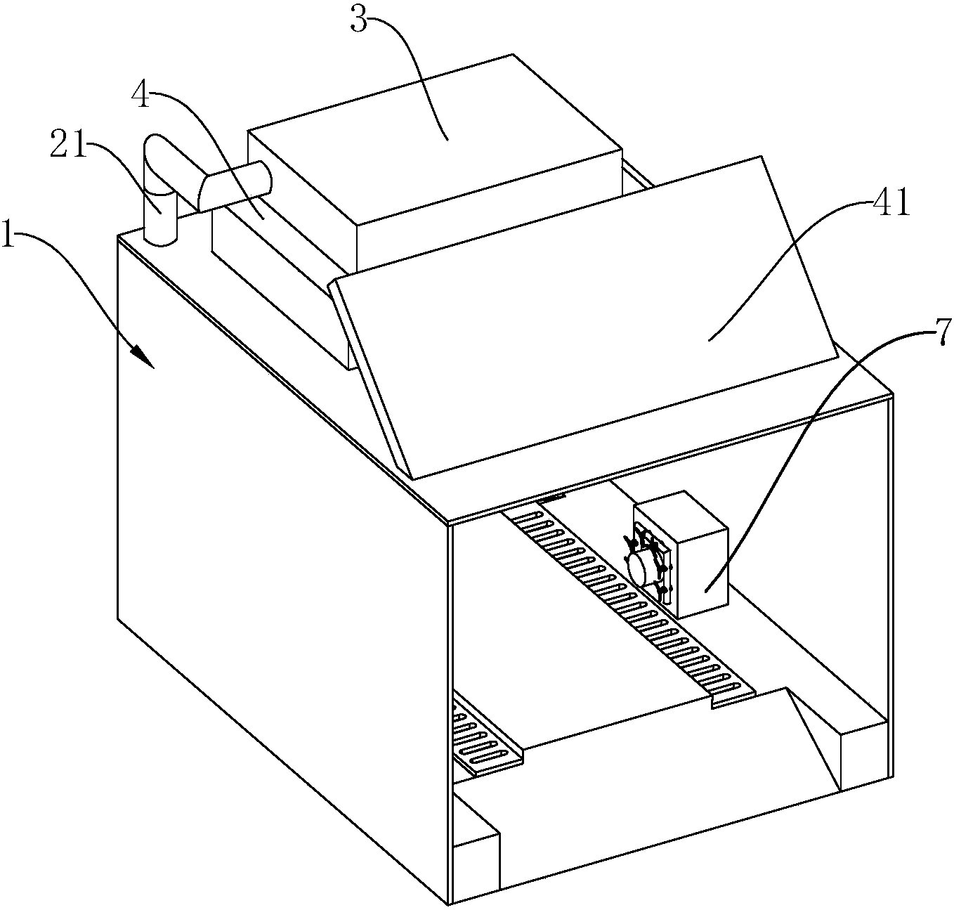
本實用新型公開了一種污水處理用攪拌設備,包括筒體、支撐腿、減震裝置、安裝板、驅動器、旋轉電機、旋轉軸、限位減震墊、升降桿、葉片輪、弧面輪照明燈、電器控制面板、出料口,減震裝置包括上鋼塊、螺紋孔、彈簧減震塊、減震彈簧、橡膠減震墊、下鋼塊;升降桿包括上桿、下桿、拉伸彈簧和壓縮彈簧,葉片輪包括正方形輪板、矩形葉片、連接套,弧面輪包括圓形輪板、弧面輪片、根部連接板、聯軸器。本實用新型結構簡單合理,使用方便,具有良好的減震功能,而且安裝穩定,能實現對污水進行均勻、充分的攪拌,使用性能好,實用性強。
權利要求書
1.一種污水處理用攪拌設備,包括筒體,其特征在于,所述筒體下側四周安裝有支撐腿,支撐腿下側設有減震裝置,減震裝置包括上鋼塊,上鋼塊的上側中心處設有螺紋孔,支撐腿的下側外壁上設有外螺紋,外螺紋和螺紋孔相配合,支撐腿底端與上鋼塊之間通過螺紋連接,上鋼塊下側連接有彈簧減震塊,彈簧減震塊內部設有減震彈簧,彈簧減震塊下側依次連接有橡膠減震墊和下鋼塊;所述筒體上側左端設有安裝板,安裝板上安裝有驅動器,驅動器的驅動桿與旋轉電機的殼體連接,旋轉電機通過旋轉軸安裝在筒體上側中心處,旋轉電機左右兩端都設有限位減震墊,旋轉電機的主軸與筒體內部的升降桿連接,升降桿包括上桿、下桿、拉伸彈簧和壓縮彈簧,下桿的上端同軸的固定有連接套,上桿的下端插入連接套內軸向滑動連接;所述拉伸彈簧套于上桿外部并連接于連接套與上桿之間;所述壓縮彈簧設于連接套內部并軸向支撐于上桿和下桿之間;所述上桿上安裝有葉片輪,下桿底端安裝有弧面輪,葉片輪包括正方形輪板,正方形輪板四角焊接有四片傾斜的矩形葉片,正方形輪板中間設有連接套,弧面輪包括圓形輪板,圓形輪板上均勻分布有六片弧面輪片,弧面輪片通過根部連接板和螺栓連接在圓形輪板上,圓形輪板上表面設有聯軸器;所述筒體左右兩側外壁上均勻設有照明燈,筒體右側外壁上還設有電器控制面板,筒體底端連接有出料口。
2.根據權利要求1所述的污水處理用攪拌設備,其特征在于,所述限位減震墊為調節式限位減震墊。
3.根據權利要求1或2所述的污水處理用攪拌設備,其特征在于,所述筒體底部為漏斗狀。
4.根據權利要求3所述的污水處理用攪拌設備,其特征在于,所述上桿外壁設有用于與拉伸彈簧上端連接的凸緣。
5.根據權利要求1或2或4所述的污水處理用攪拌設備,其特征在于,所述葉片輪通過連接套焊接在上桿上。
6.根據權利要求5所述的污水處理用攪拌設備,其特征在于,所述弧面輪通過聯軸器與下桿末端連接。
說明書
一種污水處理用攪拌設備
技術領域
本實用新型涉及一種污水處理設備,具體是一種污水處理用攪拌設備。
背景技術
污水處理:為使污水達到排水某一水體或再次使用的水質要求對其進行凈化的過程。污水處理被廣泛應用于建筑、農業,交通、能源、石化、環保、城市景觀、醫療、餐飲等各個領域,也越來越多地走進尋常百姓的日常生活。大型的污水處理廠每天處理的污水量很大,為了節約能源,以及減輕污水處理廠的重擔,國家是鼓勵一些企業自行建設小型的污水處理設施的,而且對于一些大型的用水企業,他們的污水也必須要先自行處理才能運輸到污水處理廠。
污水處理的步驟很簡單,一般包括加藥沉淀、過濾、攪拌等,對于小量的污水處理來說,例如家庭生活用水,只需小型的攪拌設備加藥攪拌沉淀即可,攪拌設備一般都有電機帶動,電機工作室會產生震動,如果攪拌筒固定不穩則會滑動,如果攪拌筒固定足夠,這樣電機的震動便會對工作地面造成影響,而且現有的攪拌設備其攪拌槳往往比較單一,只能叫板攪拌槳所在的水平面,攪拌效果很差。
實用新型內容
本實用新型的目的在于提供一種污水處理用攪拌設備,以解決上述背景技術中提出的問題。
為實現上述目的,本實用新型提供如下技術方案:
一種污水處理用攪拌設備,包括筒體,所述筒體下側四周安裝有支撐腿,支撐腿下側設有減震裝置,減震裝置包括上鋼塊,上鋼塊的上側中心處設有螺紋孔,支撐腿的下側外壁上設有外螺紋,外螺紋和螺紋孔相配合,支撐腿底端與上鋼塊之間通過螺紋連接,上鋼塊下側連接有彈簧減震塊,彈簧減震塊內部設有減震彈簧,彈簧減震塊下側依次連接有橡膠減震墊和下鋼塊;所述筒體上側左端設有安裝板,安裝板上安裝有驅動器,驅動器的驅動桿與旋轉電機的殼體連接,旋轉電機通過旋轉軸安裝在筒體上側中心處,旋轉電機左右兩端都設有限位減震墊,旋轉電機的主軸與筒體內部的升降桿連接,升降桿包括上桿、下桿、拉伸彈簧和壓縮彈簧,下桿的上端同軸的固定有連接套,上桿的下端插入連接套內軸向滑動連接;所述拉伸彈簧套于上桿外部并連接于連接套與上桿之間;所述壓縮彈簧設于連接套內部并軸向支撐于上桿和下桿之間;所述上桿上安裝有葉片輪,下桿底端安裝有弧面輪,葉片輪包括正方形輪板,正方形輪板四角焊接有四片傾斜的矩形葉片,正方形輪板中間設有連接套,弧面輪包括圓形輪板,圓形輪板上均勻分布有六片弧面輪片,弧面輪片通過根部連接板和螺栓連接在圓形輪板上,圓形輪板上表面設有聯軸器;所述筒體左右兩側外壁上均勻設有照明燈,筒體右側外壁上還設有電器控制面板,筒體底端連接有出料口。
作為本實用新型進一步的方案:所述限位減震墊為調節式限位減震墊。
作為本實用新型再進一步的方案:所述筒體底部為漏斗狀。
作為本實用新型再進一步的方案:所述上桿外壁設有用于與拉伸彈簧上端連接的凸緣。
作為本實用新型再進一步的方案:所述葉片輪通過連接套焊接在上桿上。
作為本實用新型再進一步的方案:所述弧面輪通過聯軸器與下桿末端連接。
與現有技術相比,本實用新型的有益效果是:本實用新型結構簡單合理,使用方便,具有良好的減震功能,而且安裝穩定,只需對減震裝置進行穩固即可,而且升降桿可以帶動弧面輪上下浮動,能實現對污水進行均勻、充分的攪拌,而且升降桿為緩沖式結構,使用性能好,通過葉片輪和弧面輪的設計使得攪拌效果更好;攪拌筒底部設為漏斗狀,有效的避免出料過程中產生的堵塞,照明燈方便操作工在夜晚進行操作,實用性強。



