申請日2016.05.12
公開(公告)日2016.10.12
IPC分類號G01N1/12
摘要
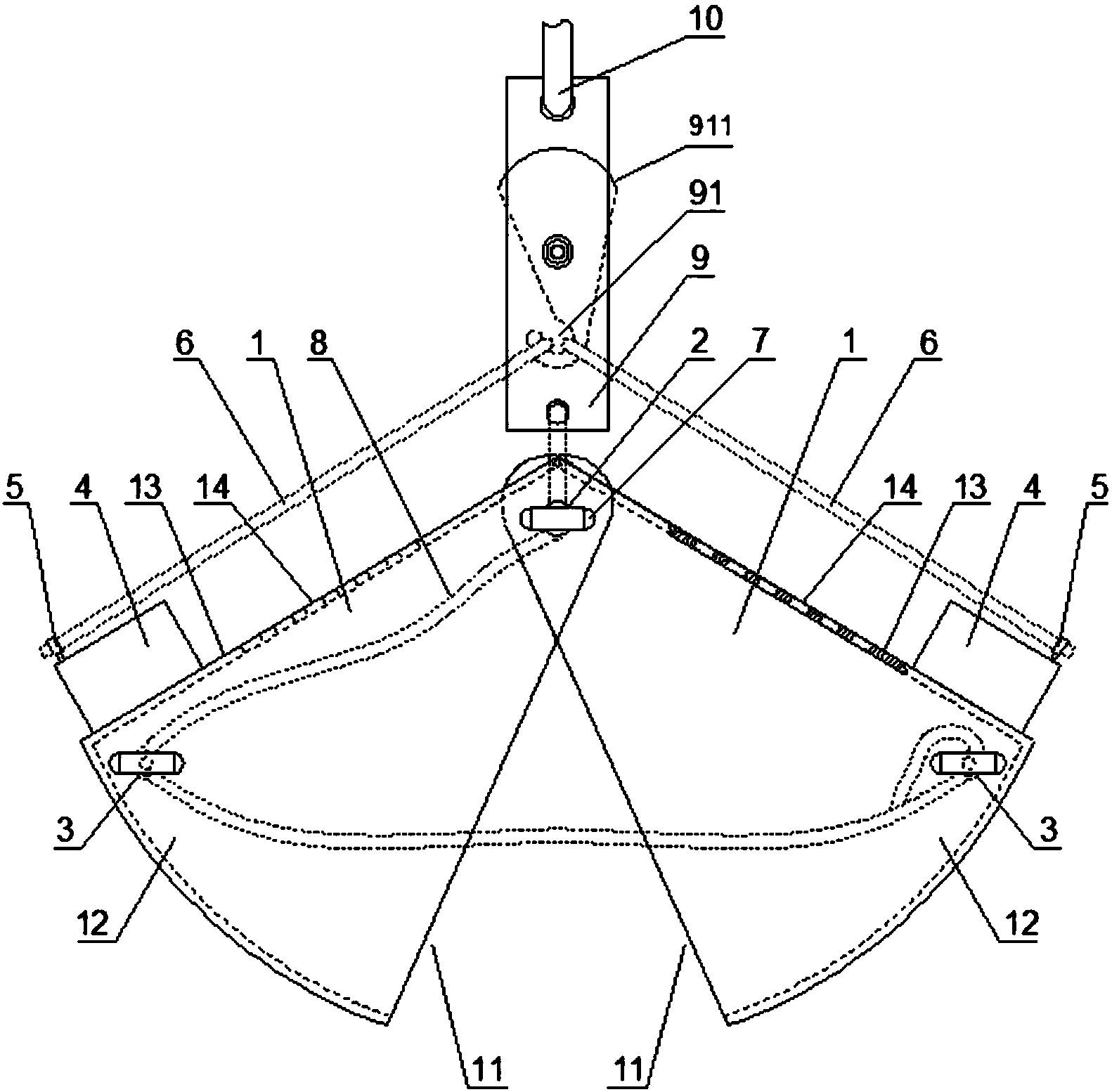
本實用新型公開了一種污泥取樣器結構,包括兩個鉸接在一起的對稱的污泥取樣斗,每個污泥取樣斗的兩個側面端部邊緣都設有一個合斗掛耳,每個污泥取樣斗的頂面端部邊緣設有一個便于壓緊污泥取樣斗的配重塊,配重塊兩端各設有一個開斗掛鉤,每個污泥取樣斗上的開斗掛鉤中設有一個開斗鋼絲繩套,鉸接軸兩端設有起吊掛耳,起吊掛耳和兩個污泥取樣斗的合斗掛耳中繞置穿設一根起吊鋼絲繩,開斗鋼絲繩套和起吊鋼絲繩與一個操縱卡鉗相連,開斗鋼絲繩套活動連接在操縱卡鉗的活動卡鉤上,操縱卡鉗再連接一個采樣繩;本實用新型通過采樣繩連接操縱卡鉗操控對稱鉸接設置的污泥取樣斗,能夠方便將深水區的污泥采樣上來,取樣操作方便,非常適合環境監測使用。
權利要求書
1.一種污泥取樣器結構,其特征在于:包括兩個對稱設置的污泥取樣斗,兩個所述污泥取樣斗通過一個鉸接軸鉸接在一起,兩個所述污泥取樣斗的開口面對面設置,每個所述污泥取樣斗的兩個側面端部邊緣都設有一個合斗掛耳,每個所述污泥取樣斗的頂面端部邊緣設有一個便于壓緊污泥取樣斗的配重塊,所述配重塊的兩端各設有一個開斗掛鉤,每個所述污泥取樣斗上的所述開斗掛鉤中設有一個開斗鋼絲繩套,所述鉸接軸的兩端設有起吊掛耳,所述起吊掛耳和兩個所述污泥取樣斗的合斗掛耳中繞置穿設一根起吊鋼絲繩,所述開斗鋼絲繩套和起吊鋼絲繩與一個操縱卡鉗相連,所述開斗鋼絲繩套活動連接在所述操縱卡鉗中的活動卡鉤上,所述操縱卡鉗的上端再連接一個采樣繩。
2.根據權利要求1所述的一種污泥取樣器結構,其特征在于:所述活動卡鉤銷接在所述操縱卡鉗上,所述活動卡鉤中設有一個便于將鋼絲繩脫出的旋轉配重柄。
3.根據權利要求1所述的一種污泥取樣器結構,其特征在于:所述污泥取樣斗的頂面設有便于排水的漏水孔。
4.根據權利要求1所述的一種污泥取樣器結構,其特征在于:所述污泥取樣斗為不銹鋼材質制成。
說明書
一種污泥取樣器結構
技術領域
本實用新型涉及檢測技術領域,尤其涉及一種污泥取樣器結構。
背景技術
在環境監測時,經常需要采集河流、水池等水體中的污泥樣本進行檢測,目前現有的污泥的采樣裝置一般是為一個圓形的采樣管,采樣管的前端設有鋒銳的尖口,采樣管的尾端設有操作手柄,采樣時用手握住采樣管操作手柄,將采樣管前端鋒銳的尖口插入水體中的污泥中,當采樣管到達一定深度后再拔出采樣管,取出采樣管中的污泥樣品。這種污泥采樣裝置受手柄長度限制,只能在淺水區域或岸邊使用,而實際檢測時往往需要采集深水、遠離岸邊的水底污泥,因此,現有的水下污泥采樣裝置不能滿足環境監測需要,需要進一步改進。
發明內容
為克服現有技術的不足,本實用新型提供了一種結構穩定可靠、操作方便、適合深水污泥取樣的污泥取樣器結構。
本實用新型為達到上述技術目的所采用的技術方案是:一種污泥取樣器結構,包括兩個對稱設置的污泥取樣斗,兩個所述污泥取樣斗通過一個鉸接軸鉸接在一起,兩個所述污泥取樣斗的開口面對面設置,每個所述污泥取樣斗的兩個側面端部邊緣都設有一個合斗掛耳,每個所述污泥取樣斗的頂面端部邊緣設有一個便于壓緊污泥取樣斗的配重塊,所述配重塊的兩端各設有一個開斗掛鉤,每個所述污泥取樣斗上的所述開斗掛鉤中設有一個開斗鋼絲繩套,所述鉸接軸的兩端設有起吊掛耳,所述起吊掛耳和兩個所述污泥取樣斗的合斗掛耳中繞置穿設一根起吊鋼絲繩,所述開斗鋼絲繩套和起吊鋼絲繩與一個操縱卡鉗相連,所述開斗鋼絲繩套活動連接在所述操縱卡鉗中的活動卡鉤上,所述操縱卡鉗的上端再連接一個采樣繩;取樣時,將開斗鋼絲繩套鉤在操縱卡鉗的活動卡鉤上將兩個污泥取樣斗撐開,污泥取樣斗落到水底后碰到污泥時使開斗鋼絲繩套不再受力、從活動卡鉤上自動脫落,兩個污泥取樣斗在配重塊的重力作用下逐漸閉合,將污泥壓入兩個污泥取樣斗中,然后慢慢提起采樣繩將閉合后的污泥取樣斗起到水面上進行取樣。
所述活動卡鉤銷接在所述操縱卡鉗上,所述活動卡鉤中設有一個便于將鋼絲繩脫出的旋轉配重柄;當污泥取樣斗落到水底碰到污泥后,污泥取樣斗的重力不再作用在開斗鋼絲繩套上,開斗鋼絲繩套變松弛,即活動卡鉤不再受開斗鋼絲繩套拉力作用,活動卡鉤在旋轉配重柄作用下自動轉動,使開斗鋼絲繩套從活動卡鉤上自動脫落。
所述污泥取樣斗的頂面設有便于排水的漏水孔。
所述污泥取樣斗為不銹鋼材質制成。
本實用新型的有益效果是:采用上述結構后,通過設置一個鉸接在一起的對稱設置的污泥取樣斗,污泥取樣斗中設置開斗掛鉤、合斗掛耳和起吊掛耳,并在污泥取樣斗中繞置相應的開斗鋼絲繩套和起吊鋼絲繩,通過一個連接采樣繩的操縱卡鉗操作,能夠方便將深水區的污泥采樣上來,取樣操作方便,結構穩定可靠,非常適合環境監測使用。



