申請日2016.05.12
公開(公告)日2016.10.05
IPC分類號C02F9/14; C02F103/10
摘要
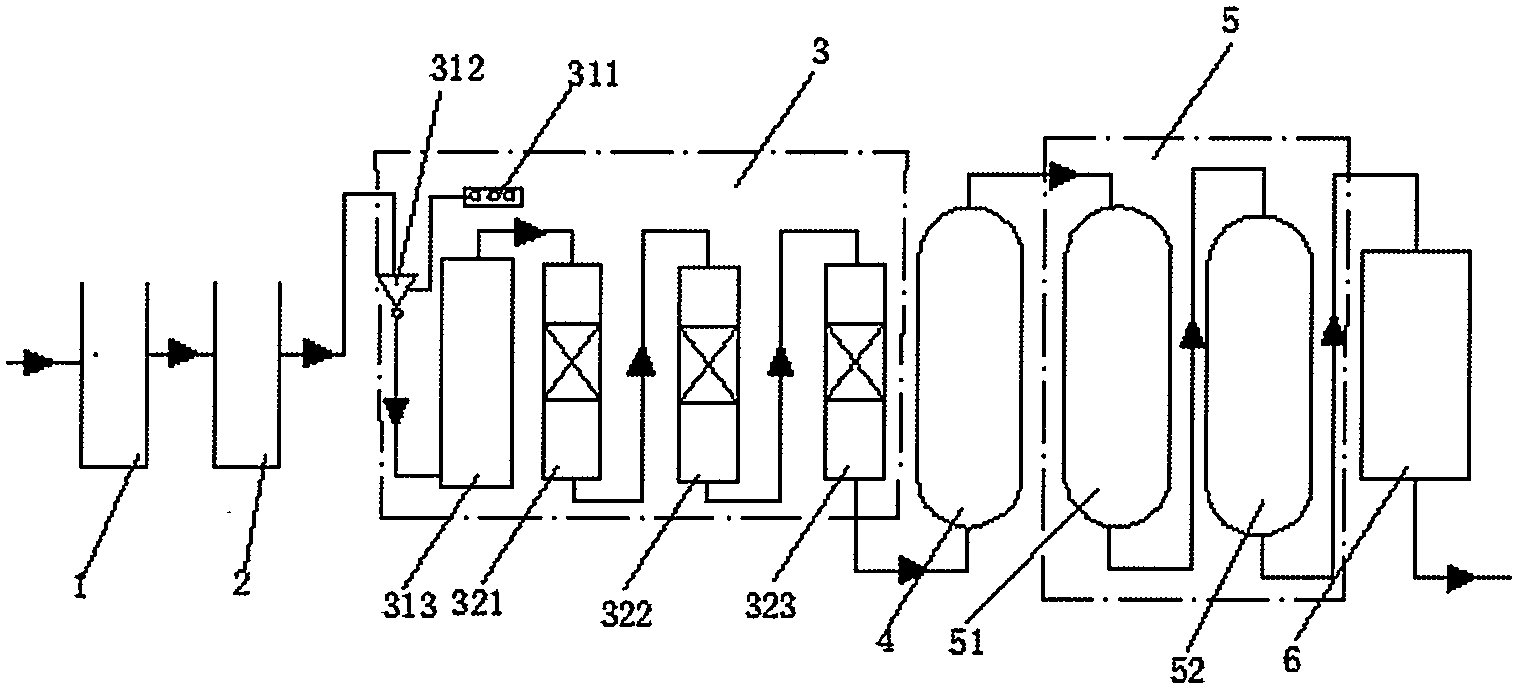
一種稠油污水處理回用過熱蒸汽注汽鍋爐裝置,包括沉淀反應器、生物膜反應器、氧化強化生物反應器、超濾反應器、二級反滲透反應器和連續電除鹽反應器,其中,所述的沉淀反應器、生物膜反應器、氧化強化生物反應器、超濾反應器、二級反滲透反應器和連續電除鹽反應器經由管道依序連通。本實用新型所述稠油污水處理回用過熱蒸汽注汽鍋爐裝置可大大提高污水處理效率,增強降解有機污泥的微生物活性,有效地減低污泥產生量。該技術特別適用于難降解有機物的去除。
權利要求書
1.一種稠油污水處理回用過熱蒸汽注汽鍋爐裝置,其特征在于,包括沉淀反應器、生物膜反應器、氧化強化生物反應器、超濾反應器、二級反滲透反應器和連續電除鹽反應器,其中,所述的沉淀反應器、生物膜反應器、氧化強化生物反應器、超濾反應器、二級反滲透反應器和連續電除鹽反應器經由管道依序連通。
2.根據權利要求1所述的一種稠油污水處理回用過熱蒸汽注汽鍋爐裝置,其特征在于,所述的沉淀反應器為混凝沉淀反應器。
3.根據權利要求1所述的一種稠油污水處理回用過熱蒸汽注汽鍋爐裝置,其特征在于,所述的生物膜反應器所用填料為MCM微孔復合空隙生物球。
4.根據權利要求3所述的一種稠油污水處理回用過熱蒸汽注汽鍋爐裝置,其特征在于,所述的MCM微孔復合空隙生物球由一個硬質塑料網狀外殼和充填到其中的微孔介質塊組成。
5.根據權利要求3所述的一種稠油污水處理回用過熱蒸汽注汽鍋爐裝置,其特征在于,所述的生物膜反應器采用二級耦合工藝。
6.根據權利要求5所述的一種稠油污水處理回用過熱蒸汽注汽鍋爐裝置,其特征在于,所述的生物膜反應器中設置有4個隔板,在從入水口到出水口的方向上,第1、2、3個隔板底部設置有能使水通過對空隙,第4個隔板的底部不能使水通過。
7.根據權利要求6所述的一種稠油污水處理回用過熱蒸汽注汽鍋爐裝置,其特征在于,所述的生物膜反應器被4個隔板分隔成五個空間,在從入水口到出水口的方向上,第2空間和第四空間的底部設置有曝氣裝置。
8.根據權利要求1所述的一種稠油污水處理回用過熱蒸汽注汽鍋爐裝置,其特征在于,所述的氧化強化生物反應器包括一個臭氧反應器和1-5個生物炭反應器。
9.根據權利要求1所述的一種稠油污水處理回用過熱蒸汽注汽鍋爐裝置,其特征在于,所述的超濾反應器為外壓式超濾反應器。
10.根據權利要求9所述的一種稠油污水處理回用過熱蒸汽注汽鍋爐裝置,其特征在于,所述的超濾膜材料的膜絲內徑為0.5-1.0mm,外徑為1.0-2.0mm。
說明書
一種稠油污水處理回用過熱蒸汽注汽鍋爐裝置
技術領域
本實用新型涉及污水處理領域,具體涉及一種稠油污水處理回用過熱蒸汽注汽鍋爐裝置。
背景技術
稠油開采采用注蒸汽熱采技術,國內投產運行的稠油污水處理回用濕蒸汽鍋爐技術已經成熟;為提高注汽效率,各油田引進了高壓過熱蒸汽燃煤鍋爐,采用注過熱蒸汽到地層,采油效率大幅度提高。因這種燃煤鍋爐對水質要求嚴格,至今仍采用的是清水資源,這導致油田用水量和采出水量的不斷增加。為保護環境和節約資源,如何經濟有效地處理采出水是目前油田可持續發展的關鍵。
國內投產運行的稠油污水處理回用濕蒸汽鍋爐技術一般是采用“調節+沉降+氣浮+兩級過濾+兩級軟化”。該技術處理后的水僅僅只能進入濕蒸汽鍋爐使用,其處理后的水質達到《稠油集輸及注蒸汽系統設計規范》要求鍋爐用水水質標準。
目前,稠油污水經深度處理后,應符合過熱蒸汽注汽鍋爐給水水質標準,保證鍋爐的安全穩定運行,具體數據見下表。因此非常需要尋找一種新型高效的稠油污水處理回用過熱蒸汽鍋爐裝置。
過熱蒸汽注汽鍋爐給水水質標準
序號 項目 單位 給水標準 備注 1 硬度 μmol/L 0 2 鐵 μg/L ≤30 3 銅 μg/L ≤5 4 二氧化硅 μg/L 保證蒸汽二氧化硅≤20 5 PH(25℃) 8.8~9.3 6 聯氨 μg/L ≤30 7 油 mg/L 0 8 懸浮物 mg/L 0 9 COD mg/L 0 10 TOC μg/L ≤500 11 氫電導率(25℃) us/cm ≤0.30
實用新型內容
為了解決上述問題,本使用新型提供了一種稠油污水處理回用過熱蒸汽注汽鍋爐裝置,包括沉淀反應器、生物膜反應器、氧化強化生物反應器、超濾反應器、二級反滲透反應器和連續電除鹽反應器,其中,所述的沉淀反應器、生物膜反應器、氧化強化生物反應器、超濾反應器、二級反滲透反應器和連續電除鹽反應器經由管道依序連通。
作為一種優選的實施方式,所述的沉淀反應器為混凝沉淀反應器。
作為一種優選的實施方式,所述的生物膜反應器所用填料為MCM微孔復合空隙生物球。
作為一種優選的實施方式,所述的MCM微孔復合空隙生物球由一個硬質塑料網狀外殼和充填到其中的微孔介質塊組成。
作為一種優選的實施方式,所述的生物膜反應器采用二級耦合工藝。
作為一種優選的實施方式,所述的生物膜反應器中設置有4個隔板,在從入水口到出水口的方向上,第1、2、3個隔板底部設置有能使水通過對空隙,第4個隔板的底部不能使水通過。
作為一種優選的實施方式,所述的生物膜反應器被4個隔板分隔成五個空間,在從入水口到出水口的方向上,第2空間和第四空間的底部設置有曝氣裝置。
作為一種優選的實施方式,所述的氧化強化生物反應器包括一個臭氧反應器和1-5個生物炭反應器。
作為一種優選的實施方式,所述的超濾反應器為外壓式超濾反應器。
作為一種優選的實施方式,所述的超濾膜材料的膜絲內徑為0.5-1.0mm,外徑為1.0-2.0mm。
總體而言,實施本實用新型采用MCM高效生物填料技術,可使生物反應器中同時存在好氧、缺氧和厭氧多種微生物體系,可大大提高污水處理效率,增強降解有機污泥的微生物活性,有效地減低污泥產生量。本實用新型所述一種稠油污水處理回用過熱蒸汽注汽鍋爐裝置包括了沉淀反應器、MCM固定床填料生物膜、臭氧催化強化氧化、生物炭濾池生物膜、抗污染外壓式超濾、兩級反滲透膜等工藝,并在工藝流程上采用多級耦合反應器形式,極大的提高了污染物的去除效率。具有極強的除硅、去離子及COD去除能力,系統運行穩定、可靠。



