申請日2016.05.12
公開(公告)日2016.09.21
IPC分類號C02F9/14
摘要
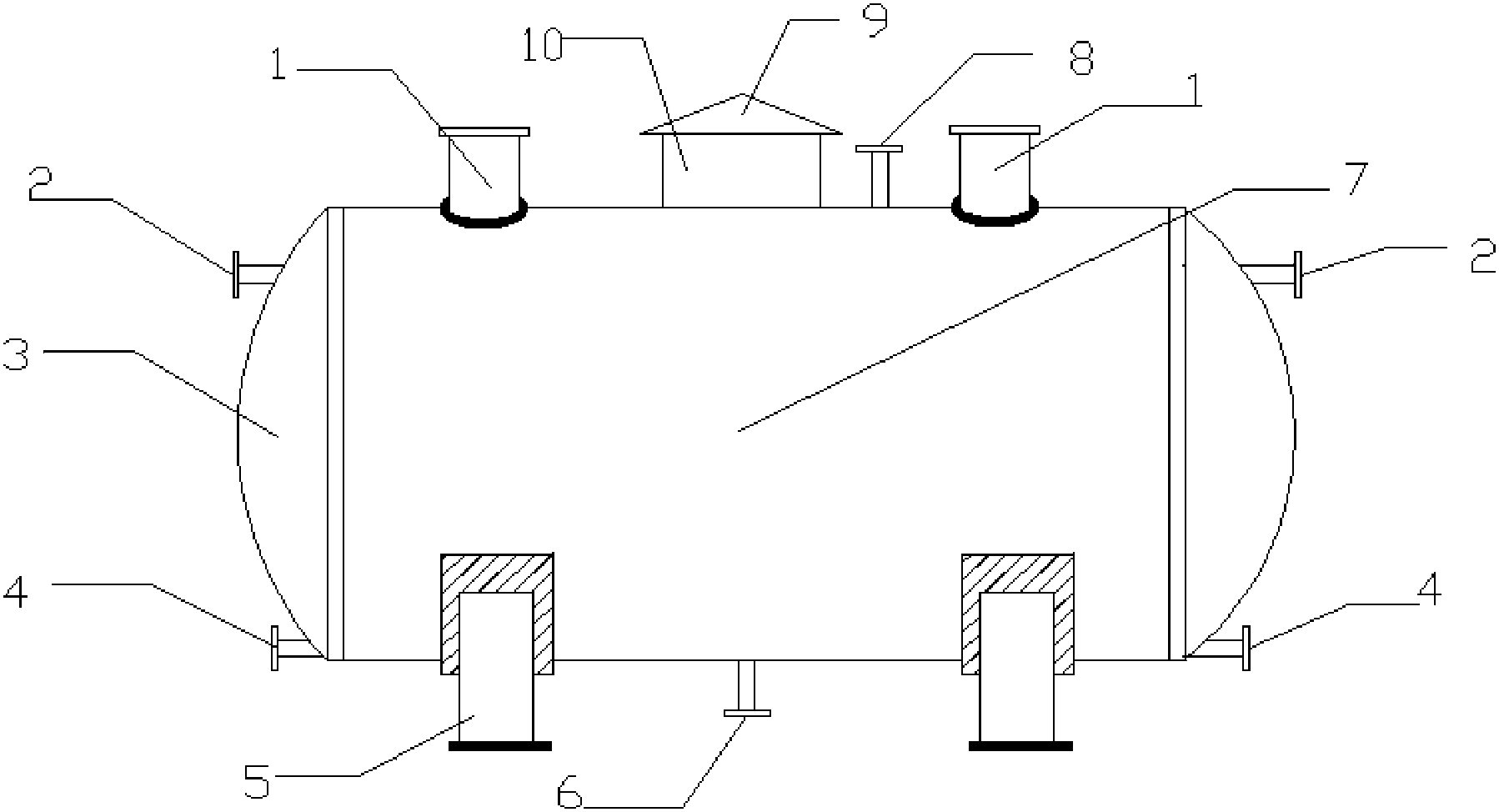
本實用新型公開了一種新型高效工業用污水處理器,其結構包括檢修口、進水口、圓筒頂蓋、排污口、底座、凈水出口、圓筒殼體、廢氣出口、遮雨蓋、消聲箱、高壓漩渦風機、生物濾層、提升式曝氣裝置、引流槽以及凈氣罐;所述檢修口與所述圓筒殼體連接,所述檢修口、圓筒頂蓋、底座、凈水出口、廢氣出口、消聲箱與所述圓筒殼體連接,所述進水口、排污口與所述圓筒頂蓋連接,所述高壓漩渦風機、生物濾層、提升式曝氣裝置、引流槽、凈氣罐設于所述圓筒殼體內部,所述遮雨蓋與所述消聲箱連接,所述提升式曝氣裝置與所述消聲箱連接,所述提升式曝氣裝置設于所述凈氣罐內部,所述高壓漩渦風機設于所述消聲箱內部。
權利要求書
1.一種新型高效工業用污水處理器,其特征在于:其結構包括檢修口(1)、進水口(2)、圓筒頂蓋(3)、排污口(4)、底座(5)、凈水出口(6)、圓筒殼體(7)、廢氣出口(8)、遮雨蓋(9)、消聲箱(10)、高壓漩渦風機(11)、生物濾層(12)、提升式曝氣裝置(13)、引流槽(14)以及凈氣罐(15);所述檢修口(1)與所述圓筒殼體(7)連接,所述檢修口(1)、圓筒頂蓋(3)、底座(5)、凈水出口(6)、廢氣出口(8)、消聲箱(10)與所述圓筒殼體(7)連接,所述進水口(2)、排污口(4)與所述圓筒頂蓋(3)連接,所述高壓漩渦風機(11)、生物濾層(12)、提升式曝氣裝置(13)、引流槽(14)、凈氣罐(15)設于所述圓筒殼體(7)內部,所述遮雨蓋(9)與所述消聲箱(10)連接,所述提升式曝氣裝置(13)與所述消聲箱(10)連接,所述提升式曝氣裝置(13)設于所述凈氣罐(15)內部,所述高壓漩渦風機(11)設于所述消聲箱(10)內部。
2.根據權利要求1所述一種新型高效工業用污水處理器,其特征在于:所述進水口(2)與所述生物濾層(12)上端連接,所述排污口(4)與所述生物濾層(12)底部連接。
3.根據權利要求1所述一種新型高效工業用污水處理器,其特征在于:所述凈水出口(6)、廢氣出口(8)與所述凈氣罐(15)連接,所述凈水出口(6)通過所述引流槽(14)與所述凈氣罐(15)連接。
4.根據權利要求1所述一種新型高效工業用污水處理器,其特征在于:所述檢修口(1)、底座(5)通過焊接方式與所述圓筒殼體(7)連接。
5.根據權利要求1所述一種新型高效工業用污水處理器,其特征在于:所述遮雨蓋(9)通過鉸鏈活動設置于所述消聲箱(10)上方。
6.根據權利要求1所述一種新型高效工業用污水處理器,其特征在于:所述提升式曝氣裝置(13)通過電線與所述高壓漩渦風機(11)連接。
說明書
一種新型高效工業用污水處理器
技術領域
本實用新型涉及工業設備領域,尤其涉及一種工業污水處理器。
背景技術
污水處理設備能有效處理城區的生活污水,工業廢水等,避免污水及污染物直接流入水域,對改善生態環境、提升城市品位和促進經濟發展具有重要意義。
現有公開技術申請號為:CN201320143389.6的一種工業污水處理器,包括殼體,所述殼體內設有生物濾池和沉降池,所述生物濾池與沉降池之間通過導流管連通,所述導流管上連接有水泵,所述沉降池內設有污泥泵,所述生物濾池內間隔設有多層濾池填料層,每層濾池填料層底部設有格柵,所述生物濾池頂端設有出水口,所述沉降池頂端設有污水進口,所述沉降池上部設有噴淋裝置,所述噴淋裝置與殼體外部的加藥管連通,所述噴淋裝置與加藥管之間設有調節裝置。本實用新型的優點是:結構設計合理,操作方便,沉降池上部增加的噴淋裝置,通過加藥管往噴淋裝置內加入藥物,通過藥物將沉降池內的污物進行分解,分解完成后再經過生物濾池內進行過濾,實現了整個過程;但該污水處理器的污水處理量較小,工作效率較低,且該污水處理器僅能處理污水中的液體物質,其中的廢氣無法進行處理。
實用新型內容
針對上述問題,本實用新型提供了一種新型高效工業用污水處理器,解決了該污水處理器的污水處理量較小,工作效率較低,且該污水處理器僅能處理污水中的液體物質,其中的廢氣無法進行處理的問題。
為解決上述技術問題,本實用新型所采用的技術方案是:一種新型高效工業用污水處理器,其結構包括檢修口、進水口、圓筒頂蓋、排污口、底座、凈水出口、圓筒殼體、廢氣出口、遮雨蓋、消聲箱、高壓漩渦風機、生物濾層、提升式曝氣裝置、引流槽以及凈氣罐;所述檢修口與所述圓筒殼體連接,所述檢修口、圓筒頂蓋、底座、凈水出口、廢氣出口、消聲箱與所述圓筒殼體連接,所述進水口、排污口與所述圓筒頂蓋連接,所述高壓漩渦風機、生物濾層、提升式曝氣裝置、引流槽、凈氣罐設于所述圓筒殼體內部,所述遮雨蓋與所述消聲箱連接,所述提升式曝氣裝置與所述消聲箱連接,所述提升式曝氣裝置設于所述凈氣罐內部,所述高壓漩渦風機設于所述消聲箱內部。
進一步的,所述進水口與所述生物濾層上端連接,所述排污口與所述生物濾層底部連接。
進一步的,所述凈水出口、廢氣出口與所述凈氣罐連接,所述凈水出口通過所述引流槽與所述凈氣罐連接。
進一步的,所述檢修口、底座通過焊接方式與所述圓筒殼體連接。
進一步的,所述遮雨蓋通過鉸鏈活動設置于所述消聲箱上方。
進一步的,所述提升式曝氣裝置通過電線與所述高壓漩渦風機連接。
由上述對本實用新型結構的描述可知,和現有技術相比,本實用新型具有如下優點:
本實用新型他通過遮雨蓋通過鉸鏈活動設置于消聲箱上方,解決了下雨天雨水進入消聲箱內部易腐蝕高壓漩渦風機的問題,通過在圓筒殼體左右內部各設置一個生物濾層,加強了污水處理器的工作量,提高了工作效率,通過提升式曝氣裝置通過電線與高壓漩渦風機連接,實現了在處理污水中的液體物質時同時處理廢氣的功能。



