申請日2016.04.29
公開(公告)日2016.10.12
IPC分類號B01D53/75; B01D53/78; B01D53/76; B01D53/48; B01D53/54
摘要
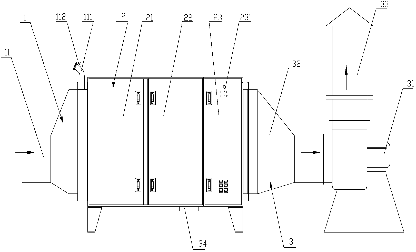
本實用新型公開一種垃圾滲濾液惡臭氣體凈化成套裝置,包括廢氣導入裝置、廢氣處理裝置和廢氣導出裝置;所述廢氣處理裝置的一端連通廢氣導入裝置,廢氣處理裝置的另一端連通廢氣導出裝置;所述廢氣導入裝置與垃圾滲濾液池連通;所述廢氣處理裝置包括預反應室和主反應室,預反應室與主反應室相鄰連通;所述預反應室中依次設有噴淋氧化設備和離心除霧設備,所述主反應室中設有UV裂解氧化設備。本實用新型的該裝置占地空間小,連續運行處理惡臭氣體量大,而且投資低、運行成本小,惡臭氣體凈化效率高,不存在二次污染。
權利要求書
1.一種垃圾滲濾液惡臭氣體凈化成套裝置,其特征在于,包括廢氣導入裝置、廢氣處理裝置和廢氣導出裝置;所述廢氣處理裝置的一端連通廢氣導入裝置,廢氣處理裝置的另一端連通廢氣導出裝置;所述廢氣導入裝置與垃圾滲濾液池連通,用于收集垃圾滲濾液池釋放的待處理的惡臭氣體;所述廢氣處理裝置包括預反應室和主反應室,預反應室與主反應室相鄰連通;所述預反應室中依次設有噴淋氧化設備和離心除霧設備,所述主反應室中設有UV裂解氧化設備;所述廢氣導入裝置將垃圾滲濾液池中的惡臭氣體導入后,在廢氣處理裝置中依次通過預反應室、主反應室進行處理,處理完后再通過廢氣導出裝置將廢氣導出。
2.根據權利要求1所述的垃圾滲濾液惡臭氣體凈化成套裝置,其特征在于:所述廢氣導入裝置設有用于引導滲濾液池中的惡臭氣體流向廢氣處理裝置的第一引風通道;所述第一引風通道與廢氣處理裝置連通。
3.根據權利要求2所述的垃圾滲濾液惡臭氣體凈化成套裝置,其特征在于:所述第一引風通道上設有用于增加第一引風通道中氧氣含量的氧氣補償口,所述氧氣補償口上安裝有用于調節氧氣流量的調節閥。
4.根據權利要求1所述的垃圾滲濾液惡臭氣體凈化成套裝置,其特征在于:所述主反應室中的UV裂解氧化設備包括至少一組UV發射管以及至少一組電源模塊,所述UV發射管與電源模塊電性連接。
5.根據權利要求4所述的垃圾滲濾液惡臭氣體凈化成套裝置,其特征在于:所述一組UV發射管包括固定架和多根UV發射管;所述固定架為矩形框體;多根所述UV發射管依次平行排列設置,UV發射管一端安裝在固定架的一側,另一端安裝在固定架的另一側。
6.根據權利要求5所述的垃圾滲濾液惡臭氣體凈化成套裝置,其特征在于:所述UV發射管的兩端與固定架的連接處設有用于避免惡臭氣體溢出腐蝕UV發射管的密封膠圈。
7.根據權利要求3所述的垃圾滲濾液惡臭氣體凈化成套裝置,其特征在于:所述廢氣導出裝置包括抽氣機、第二引風管道、排氣管道;所述第二引風管道的一端與廢氣處理裝置連通,第二引風管道的另一端與排氣管道連通,所述抽氣機安裝在第二引風管道與排氣管道的連通處;所述抽氣機通過第一引風管道將廢氣處理裝置中的廢氣抽入排氣管道,再從排氣管道的出口排出外界。
8.根據權利要求1所述的垃圾滲濾液惡臭氣體凈化成套裝置,其特征在于:所述廢氣處理裝置還包括用于控制設備運行的控制室,所述控制室安裝在主反應室遠離預反應室的一側;所述控制室設有自動控制設備,所述自動控制設備包括電控箱、主控制器和存儲器,所述主控制器和存儲器安裝在電控箱內。
9.根據權利要求8所述的垃圾滲濾液惡臭氣體凈化成套裝置,其特征在于:所述廢氣處理裝置的控制室還設有手動控制設備,所述手動控制設備設有用于觸發設備開啟、關閉以及急停的按鈕。
說明書
一種垃圾滲濾液惡臭氣體凈化成套裝置
技術領域
本實用新型涉及垃圾滲濾液處理領域,具體涉及一種垃圾滲濾液惡臭氣體凈化成套裝置及方法。
背景技術
在垃圾發電廠、垃圾填埋場,在日常運行過程中產生大量滲濾液,滲濾液經收集后匯集到滲濾液池,在池內存放過程中發酵,在此過程中將產生大量惡臭氣體,對大氣環境造成嚴重的破壞,對內部工作人員及附近居民身體健康造成嚴重威脅,影響人民生活質量。惡臭廢氣的主要成分為含硫化合物:硫化氫、硫醇、硫醚。含氮化合物:氨氣、胺類等,F有針對垃圾滲濾液惡臭氣體處理技術大致可分為:
1、植物香精噴淋法(Masking methods)
掩蓋法是指用某些合成香精或天然香精溶解于噴淋塔水槽中,滲濾液惡臭廢氣經收集通入噴淋塔內與稀釋的植物香精混合,以這些香精的香味遮蓋垃圾的臭氣。由于氣味濃度具有疊加性,當臭氣味道大時,使用此方法會使人感到味道太濃、太混濁。并且此方法只是一種掩蓋,并不能徹底解決垃圾滲濾液惡臭廢氣的危害,廢氣對環境及人的危害依然存在。
2、稀釋空氣法(Dilution in the atmosphere)
稀釋空氣法通常歸為物理法之列。它的工作方法如下:通過使用抽氣機將池內空氣抽出,并高空排放,以達到池內除去臭氣的效果。由于該方法只是簡單地稀釋空氣,臭氣分子會擴散到四周,會對周圍環境有污染,如果附近有居民,便會存在嚴重擾民問題。
3、活性炭吸附法(Absorbent methods)
此方法的缺點依然十分明顯;钚蕴课叫什桓,一般在60%-70%左右,吸附后惡臭氣體仍然存在惡臭味,且需要經常更換吸附飽和后的活性炭。此外,吸附飽和后的活性炭屬于危險廢物,存在二次污染問題。
4、有效微生物法(Effective Microorganisms EM)
該方法是將微生物直接噴灑在固體廢棄物表面,通過微生物新陳代謝分解固體廢棄物表面的惡臭物質,從而阻斷惡臭氣體的散發。該方法適用于垃圾填埋場等長時間堆放垃圾,但是對于垃圾滲濾液池內的惡臭廢氣沒有作用。
5、噴淋氧化吸收法
該方法采用高效氧化劑,將強氧化劑溶解于噴淋塔水槽中,通過噴淋塔噴頭與填料使得惡臭廢氣與氧化吸收液充分有效的接觸,從而被吸收氧化分解并溶解于吸收液內。但是該方法氮凈化不徹底,針對垃圾滲濾液惡臭廢氣一般凈化率可達到70%左右,凈化后仍然臭味明顯,可作為高濃度的惡臭廢氣預處理。
6、UV光解(UV Radiation)
該方法的原理是:采用高能紫外線將惡臭氣體中廢氣分子裂解形成自由基,并同時產生臭氧協同反應,最終氧化成無味低害的小分子化合物,如二氧化碳、水等。該方法除臭凈化效率高,但是目前運用該方法的裝置運行成本高。
因此,現有技術中對垃圾滲濾液的惡臭氣體的處理方法及處理設備存在投資高、運行成本高、處理氣量小、工作不穩定、占用空間大、除臭凈化效率不高、存在安全隱患以及存在二次污染等問題。
實用新型內容
為了克服現有技術的不足,本實用新型的目的在于提供一種垃圾滲濾液惡臭氣體凈化成套裝置,該裝置占地空間小,連續運行處理惡臭氣體量大,而且投資低、運行成本小,惡臭氣體凈化效率高,不存在二次污染。
實現本實用新型的目的可以通過采取如下技術方案達到:
一種垃圾滲濾液惡臭氣體凈化成套裝置,包括廢氣導入裝置、廢氣處理裝置和廢氣導出裝置;所述廢氣處理裝置的一端連通廢氣導入裝置,廢氣處理裝置的另一端連通廢氣導出裝置;所述廢氣導入裝置與垃圾滲濾液池連通,用于收集垃圾滲濾液池釋放的待處理的惡臭氣體;所述廢氣處理裝置包括預反應室和主反應室,預反應室與主反應室相鄰連通;所述預反應室中依次設有噴淋氧化設備和離心除霧設備,所述主反應室中設有UV裂解氧化設備;所述廢氣導入裝置將垃圾滲濾液池中的惡臭氣體導入后,在廢氣處理裝置中依次通過預反應室、主反應室進行處理,處理完后再通過廢氣導出裝置將廢氣(經過廢氣處理裝置處理后的惡臭氣體)導出。
優選地,所述廢氣導入裝置設有用于引導滲濾液池中的惡臭氣體流向廢氣處理裝置的第一引風通道;所述第一引風通道與廢氣處理裝置連通。
優選地,所述第一引風通道上設有用于增加第一引風通道中氧氣含量的氧氣補償口,所述氧氣補償口上安裝有用于調節氧氣流量的調節閥。
優選地,所述主反應室中的UV裂解氧化設備包括至少一組UV發射管以及至少一組電源模塊,所述UV發射管與電源模塊電性連接。
優選地,所述一組UV發射管包括固定架和多根UV發射管;所述固定架為矩形框體;多根所述UV發射管依次平行排列設置,UV發射管一端安裝在固定架的一側,另一端安裝在固定架的另一側。
優選地,所述UV發射管的兩端與固定架的連接處設有用于避免惡臭氣體溢出腐蝕UV發射管的密封膠圈。
優選地,所述廢氣導出裝置包括抽氣機、第二引風管道、排氣管道;所述第二引風管道的一端與廢氣處理裝置連通,第二引風管道的另一端與排氣管道連通,所述抽氣機安裝在第二引風管道與排氣管道的連通處;所述抽氣機通過第一引風管道將廢氣處理裝置中的廢氣抽入排氣管道,再從排氣管道的出口排出外界。
優選地,所述廢氣處理裝置中還包括用于控制設備運行的控制室,所述控制室安裝在主反應室遠離預反應室的一側;所述控制室設有自動控制設備,所述自動控制設備包括電控箱、主控制器和存儲器,所述主控制器和存儲器安裝在電控箱內。
優選地,所述廢氣處理裝置的控制室還設有手動控制設備,所述手動控制設備設有用于觸發設備開啟、關閉以及急停的按鈕。
相比現有技術,本實用新型的有益效果在于:
1、本實用新型采用了噴淋氧化設備的化學吸收氧化和UV裂解氧化設備的UV裂解氧化兩種處理方式協同凈化,可避免單一的化學吸收無法對甲硫醚、甲硫醇等惡臭氣體進行高效吸收,單一的UV裂解氧化處理廢氣中的硫化氫等惡臭氣體需要大量的UV裂解氧化,能夠將多種單獨采用化學吸收氧化或UV裂解氧化無法處理(或者需要大能耗)的惡臭氣體徹底地分解,大大降低設備的成本的投入,且其凈化處理效率高、效果好,且占地面積小,安裝簡單,可操作性高,集成性高,設備投資小,運行費用低;
2、本實用新型的成套裝置噪音小,因此無需對設備進行單獨進行噪音隔離,且能耗低,只需提供相應的少量化學吸附劑及必要的電力即可,并且無二次污染;
3、本實用新型的成套裝置集成性高,預反應室和主反應室設置在同一成套設備箱體內,因此占用空間小,安裝方便,且僅需要單人即可完成對設備的維護,維護十分簡便;
4、本實用新型只需要提供相應的排氣管道和動力,則可源源不斷地將垃圾滲濾液污水池內所產生的惡臭氣體抽出并凈化,隨后將凈化后的氣體排出,因此可連續作業,處理氣量大;
5、滲濾液池會揮發出大量高濃度惡臭廢氣,而本實用新型的廢氣導入裝置與垃圾滲濾液池連通,經過本成套設備可發揮其高效性,預處理室與主反應室組合方式,針對高濃度和經預反應室處理后形成低濃度惡臭廢氣再經主反應室深度處理,可徹底凈化該類惡臭廢氣。



